Медицина /2
д.т.н.,
проф. Родионов И.В., асс. Кошуро В.А., д.т.н., проф. Пичхидзе С.Я., к.т.н.,
доц. Фомин А.А.
Саратовский
государственный технический университет имени Гагарина Ю.А., Россия
Разработка конструкции
стержневого остеофиксатора из нержавеющей стали для наружного чрезкостного
остеосинтеза
Статья подготовлена при
поддержке Гранта Президента РФ №
МД-3156.2015.8 и Гранта РФФИ «а» № 13-03-00248, а также проекта № 1189 в рамках базовой
части государственного задания образовательным организациям высшего
образования, подведомственным Минобрнауки РФ, в сфере научной деятельности
Метод наружного чрескостного остеосинтеза,
предусматривающий применение аппаратов внешней фиксации, является
малоинвазивным и широко распространенным в хирургическом лечении переломов и
исправлении деформаций костей [1, 2].
Целью данной работы является разработка
конструкции остеофиксатора, обладающей высокой степенью фиксации в костной
ткани, а также обеспечивающей возможность введения лекарственных веществ во всю зону перелома
кости с их равномерным распространением в биоструктурах.
Повышенная эффективность метода наружного
чрескостного остеосинтеза может быть достигнута путем формирования на
поверхности имплантируемых конструкций биосовместимого остеоинтеграционного покрытия,
обеспечивающего прочность закрепления изделия в кости, а также создания
возможности введения лекарственных препаратов в зону перелома кости благодаря
конструктивным особенностям остеофиксаторов, одна часть которых устанавливается
в кость, а другая - закрепляется в опорах аппарата внешней фиксации.
В качестве покрытия могут выступать собственные
оксидные слои металла, создаваемые путем его газотермического оксидирования в
различных средах [3]. При этом известные способы получения газотермических
оксидных покрытий на имплантатах отличаются повышенной сложностью осуществления
технологического процесса и необходимостью применения специальных газовых сред
для обработки.
Известна конструкция чрескостного
остеофиксатора, выполненного в виде стержня с выступающей площадкой и сквозным
канюлированным отверстием, на одном конце которого имеется резьбовой отдел для
вкручивания в кость, а другой резьбовой конец выполнен для закрепления в
аппарате внешней фиксации [4]. При этом канюлированное отверстие выполнено для
введения лекарственных веществ в зону перелома кости. Однако лекарственное
вещество поступает через канюлированное отверстие только в зону биоструктур,
прилегающих к концу резьбовой части стержня, расположенной в кости. Недостатком
конструкции данного чрескостного остеофиксатора является отсутствие технической
возможности, обеспечивающей равномерное распространение вводимого
лекарственного вещества в биоструктурах всей зоны перелома.
Предлагается выполнить остеофиксатор в виде
полого стержня, состоящего из резьбовой части для вкручивания в кость, на
поверхности которой методом газотермического оксидирования сформирована
оксидная пленка, гладкой части, контактирующей с мягкими тканями и
резьбовой части для закрепления в опорах аппарата внешней фиксации. Причем в
стержне осевой канал предлагается сделать глухим, а резьбовую часть для вкручивания в кость выполнеить с равномерно
расположенными по всей своей длине радиальными отверстиями, размещенными во
впадинах резьбы и сообщающимися с осевым каналом. Система отверстий обеспечит
возможность равномерного распространения вводимых лекарственных веществ во всей
зоне перелома.
Известно также, что при установке стержневых,
спице-стержневых и спицевых фиксаторов могут быть допущены ошибки, в ряде
случаев приводящие к развитию осложнений у пациентов. Эти ошибки условно
разделяются на две группы: инфекционные
и неинфекционные [5]. К инфекционным осложнениям относится воспаление мягких
тканей вокруг фиксаторов, для устранения которых необходимо удалять имплантируемые конструкции[5]. Предлагается
наносить на шейку фиксатора, контактирующую с мягкими тканями, пленку из полигидрата
комплекса поливинилового спирта и хлорида магния с ионами серебра. Применение
пленки окажет противовоспалительное действие на мягкие ткани, что особенно
важно при длительном ортопедическом лечении.
С учетом представленных выше предложений,
спроектирована конструкция стержневого остеофиксатора из стали 18Х10НТ для
наружного чрезкостного остеосинтеза, представленная на рис.

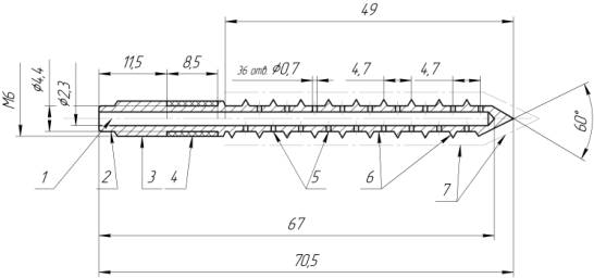
Рис. Конструкция
стержневого остеофиксатора
Разработанная конструкция чрескостного
остеофиксатора, выполненна в виде металлического стержня диаметром 6,0 мм, в
теле которого имеется глухой осевой канал 1 диаметром 2,3 мм. Стержень состоит
из трех конструктивных частей: резьбовой части 3 для закрепления в опорах
аппарата внешней фиксации, имеющей хвостовик 2 для вкручивания стержня в кость
с помощью ключа; части контактирующей с мягкими тканями и представляющей собой
канавку заполненую пленкой из полигидрата комплекса поливинилового спирта и
хлорида магния с ионами серебра; внутрикостной резьбовой части 6, на
поверхности которой сформирована оксидная пленка 7, причем в резьбовой части
находятся радиальные отверстия 5
диаметром 0,7 мм, расположенные во впадинах резьбы и сообщающиеся с осевым
каналом 1, вместе с которым представляют собой капелярную систему, дающую возможность
равномерного распространения вводимых лекарственных веществ по всей зоне
перелома.
Для формирования оксидного покрытия на
поверхности внутрикостной резьбовой части предлагается использовать термическое
оксидирование на воздухе при температуре 300-600°С с продолжительностью 0,3-1,0
ч, с последующим охлаждением на воздухе. Причем газотермическое оксидирование имплантатов проводят при
многократных последовательных термических циклах нагрев-охлаждение, где после
нагрева имплантатов в печи в течение каждых 5-10 мин осуществляют их
кратковременное охлаждение с извлечением из печи на 5-10 сек [6].
Разработанная конструкция остеофиксатора
позволит эффективно проводить наружный чрезкостный остеосинтез без риска
отторжения костной тканью, а также возникновения воспалительных процессов в
мягких тканях.
Литература
1.
Бейдик О.В., Бутовский К.Г., Островский Н.В., Лясников В.Н. Моделирование
наружного чрескостного остеосинтеза. -Саратов: Изд-во СГМУ, 2002. -198 с.
2. Бейдик О.В., Левченко К.К., Сакалла Х.М.Ф.,
Карнаев Х.С., Адамович Г.А. Стержневой и спице-стержневой чрескостный
остеосинтез в лечении больных с врожденными деформациями и укорочениями
сегментов конечностей / Материалы Всеросс. научн.-практич. конф. с междунар.
уч. «Клиника, диагностика и лечение больных с врожденными аномалиями развития».
Курган, 2007. С.37-38.
3.
Родионов И.В., Бутовский
К.Г., Ткачева А.В.,
Бейдик О.В.
Металлооксидные биопокрытия фиксаторов для чрескостного остеосинтеза //
Инженерная физика. 2007, № 4,
с.58-61.
4.
Патент РФ на изобретение № 2264795.
Способ чрескостного остеосинтеза и устройство для его осуществления / Кашанский
Ю.Б, Бесаев Г.М., Шапот Ю.Б. и др. Опубл. 27.11.2005.
5.
Бейдик О.В.
Котельников Г.П., Островский Н.В. Остеосинтез стержневыми и спицестержневыми аппаратами внешней фиксации: Монография. - Самара: ГП
"Перспектива", 2002. - 208 с.
6. Патент РФ на
изобретение № 2519095. Способ получения
оксидного биосовместимого покрытия на чрекостных имплантатах из нержавеющей
стали / Родионов И.В. Опубл. 10.06.2014.