Технические науки/ Энергетика
Д.т.н.
Грачева Е.И., к.т.н. Наумов О.В.
Казанский
государственный энергетический университет, Россия
Комплексный подход к определению
сопротивлений контактных соединений низковольтных коммутационных аппаратов
Интенсивное развитие
низковольтного аппаратостроения в настоящее время обусловлено вводом новых
мощностей на промышленных предприятиях, увеличением числа мелких и средних
производств. Непрерывно совершенствуются и разрабатываются
аппараты, появляются новые направления, основанные на использовании
нетрадиционных принципов. Становятся все более разнообразными области
применения аппаратов и ужесточаются требования к ним. Вместе с тем, не все
технические параметры аппаратов бывают указаны в паспортных данных. В
частности, не всегда указывается сопротивление силовой цепи аппарата, нет также
требований и ГОСТов на сопротивления электрических аппаратов [1; 2].
Проведенные экспериментальные
исследования показали, что основное сопротивление силовой цепи аппарата
включает в себя сопротивление таких элементов, как контактная группа, датчик
теплового реле, катушка максимального реле. Измерения сопротивлений проводились
для отдельных точек аппарата, соответствующих схеме замещения его электрической
цепи. Каждый замер проводился не менее трех раз и определялось среднее значение
сопротивления. Результаты измерений приведены в табл. 1.
На рис. 1, 2 представлены результаты
экспериментальных данных исследования сопротивлений контактных соединений
низковольтных коммутационных аппаратов.
Таблица 1
Результаты
измерений сопротивлений низковольтных
коммутационных аппаратов, мОм
|
Коммутационные
аппараты |
Ток переменный |
Ток постоянный |
|||||
|
0,5Iн |
Iн |
5–10А |
|||||
|
Время протекания тока, мин. |
|||||||
|
0 |
5 |
10 |
0 |
5 |
10 |
10 |
|
|
Автоматический выключатель АЕ2056,
Iн = 80 А |
3,83 |
3,80 |
3,85 |
3,82 |
3,80 |
3,88 |
3,84 |
|
Предохранитель ПН-2, Iн = 250 А |
0,40 |
0,48 |
0,53 |
0,50 |
0,51 |
0,52 |
0,50 |
|
Магнитный
пускатель ПМЕ-2100,
Iн = 25 А |
31,5 |
33,0 |
34,0 |
31,0 |
33,0 |
34,0 |
33,0 |
|
Рубильник ВР 32-31, Iн = 100А |
0,66 |
0,71 |
0,72 |
0,70 |
0,72 |
0,73 |
0,68 |
|
Пакетный
выключатель ВП 2-40, Iн = 63 А |
1,00 |
1,21 |
1,32 |
1,11 |
1,21 |
1,43 |
1,20 |
Результаты
исследований показали, что сопротивление аппаратов в эксплуатации увеличивается
на 20–200%.
Полученные зависимости динамики сопротивлений контактных соединений
позволяют прогнозировать изменение технического состояния электрооборудования
электрических сетей и своевременно принимать меры и корректировать сроки
проведения осмотров и планово-предупредительных ремонтов соответствующего
оборудования [4].

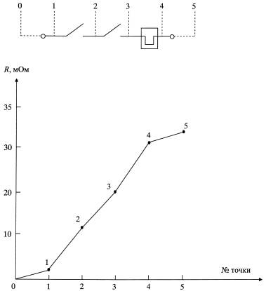
Рис. 1. Экспериментальные данные
сопротивлений контактных соединений
магнитного пускателя ПМЕ-2100, Iн = 25 А
По полученным измерениям выявлена
функциональная зависимость между эквивалентным сопротивлением контактных
соединений коммутационного аппарата и величиной номинального тока аппарата
(табл. 2). На рис. 3 представлены графики полученных зависимостей
сопротивлений аппаратов от номинального тока.

Рис. 2. Экспериментальные данные сопротивлений контактных соединений
автоматического
выключателя АЕ2056, Iн = 80 А
Таблица 2
Аналитические зависимости сопротивлений коммутационных
аппаратов
от номинального тока
|
Коммутационные аппараты |
Номинальный ток Iном,
A |
Аналитическая зависимость сопротивления от номинального тока |
|
Магнитные
пускатели |
< 70 |
R = 825/ Iном |
|
≥ 70 |
R = 760/
Iном |
|
|
Автоматические
выключатели и контакторы |
< 60 |
R =349/ Iном |
|
≥ 60 |
R = 307/ Iном |
|
|
Предохранители |
< 200 |
R =210/
Iном |
|
≥ 200 |
R=125/ Iном |
|
|
Рубильники
и пакетные выключатели |
Любое значение |
R = 68/ Iном |

Рис.
3. Графики зависимости сопротивлений аппаратов от номинального тока:
1 – магнитные пускатели; 2 – автоматы и контакторы;
3 – предохранители; 4 – пакетные выключатели,
рубильники
Результаты
экспериментальных исследований сопротивлений низковольтных коммутационных
аппаратов, применяемых в цеховых сетях промышленного электроснабжения, показали
следующее:
1. По конструктивным особенностям аппараты
можно разделить на три группы:
- аппараты, имеющие кроме силовых
контактов в силовой цепи добавочные элементы (датчики тепловых реле, катушки
максимальных реле) – такие, как автоматические выключатели, магнитные
пускатели, контакторы;
- аппараты, имеющие относительно большое
сопротивление силовой цепи – такие, как предохранители;
- аппараты, имеющие только переходное сопротивление
контактов – рубильники, пакетные выключатели.
2.
Сопротивления различных групп элементов силовой цепи аппаратов подчиняются
общим для каждой группы закономерностям изменения, так, например, сопротивление
болтовых присоединений подключения аппарата кабелем составляет незначительную
долю в общем сопротивлении аппарата (от 2 до 12%); основное сопротивление
аппарата составляют сопротивления следующих элементов:
- контактной группы;
- датчики теплового реле;
- катушки максимального реле.
3. Получены аналитических выражений для
определения сопротивлений коммутационных аппаратов в зависимости от
номинального тока (табл. 2) и построены соответствующие графики (рис. 3).
Литература:
1. Петинов О.В., Щербаков Е.Ф. Испытания
электрических аппаратов. – М.: Высш.шк., 1985. 215 с.
2. Шевченко В.В., Грачева Е.И. Определение
сопротивления контактных соединений низковольтных коммутационных аппаратов//
Промышленная энергетика, 2002, №1. С. 42-43.
3. Федотов А.И., Грачева Е.И., Наумов О.В.
Оценка сопротивлений контактных соединений коммутационной аппаратуры на основе
статистической информации// Известия
вузов. Проблемы энергетики, 2013, №1-2. С. 45-56.
4. Федотов А.И., Грачева Е.И., Наумов О.В.
Отказы электрооборудования цеховых низковольтных сетей и выявление законов
распределения их вероятностных характеристик// Известия вузов. Проблемы энергетики, 2013, №3-4. С. 68-74.