Изучение световых треков в мыльных пленках.
Литвинов Юрий Викторович
Едчик Анастасия Алексеевна
Мыльные пленки привлекают внимание людей
уже много веков и продолжают удивлять исследователей нескончаемым богатством
своих свойств. Так, растворы на основе поверхностно – активных веществ (ПАВ),
использовались учеными при изучении явления интерференции, поверхностного
натяжения; на основе свойств мыльных пленок созданы математические модели
идеальных конструкций, активно использующихся в архитектуре и строительстве.
Казалось бы, о них уже все известно, однако, мыльные пленки не перестают
удивлять ученых, новыми, необычными свойствами. Мыльная пленка представляет
собой простейшую наноструктуру, и поэтому вызывает большой интерес со стороны
исследователей в качестве модельного материала.
Некоторые явления на сегодняшний день недостаточно
исследованы и не нашли практического применения. Однако, доступность модельного
материала, малая изученность и простота
экспериментального оборудования, могут быть с успехом использованы в исследовательской
работе школьников и студентов. Одному
из таких феноменов природы – световым трекам на поверхности мыльной пленки и
посвящена наша работа.
Первые сведения о существовании нелинейных
оптических эффектов в водных растворах поверхностно-активных веществ (ПАВ) появились
в декабре 2002 года [1]. На поверхности мыльной пленки, в плоскость которой
входил луч лазера, наблюдались световые эффекты, очень похожие на молнии,
распространяемые хаотично из точки контакта луча с пленкой. При этом,
центральный луч не подсвечивает мыльную пленку и проходит сквозь посудину и
пленку по обычной траектории. Пока не существует теоретического обоснования и математической
теории, объясняющей данное явление. По данным источников [2, 3] выявлены такие
условия возникновения световых треков:
1.
Треки возникают в мыльных пленках, независимо от их состава и типа ПАВ.
2. Треки возникают при освещении лазерами любой длины волны, и мощности лазеров
от 1 мВт до 10 кВт при непрерывном, модулированном и импульсном режимах
излучения, а также при хорошо сфокусированном некогерентном освещении.
3. Магнитное и электрическое поле не влияют на образование и перемещение
треков.
4. Диаметр треков находится в пределах 5 - 30 мкм. Длина треков в чистых
растворах достигает десятков сантиметров.
5. Треки видимы благодаря рассеянию света на неоднородностях раствора.
6. Треки в мутных растворах более яркие, однако, их длина меньше.
Треки
обладают необычными свойствами, описанными теми же авторами.
1.Луч,
входящий в мыльную пленку из воздуха под малым углом, должен частично пройти сквозь нее, а частично
рассеяться, отразившись от внутренней и внешней поверхностей. Образование же треков
противоречит традиционным представлениям о свойствах световых лучей.
2. Распространение лучей света по криволинейной траектории возможно только в
среде с изменяющимся коэффициентом преломления. Однако, треки распространяются внутри мыльной пленки по
криволинейным траекториям.
3. Луч лазера фокусируют на входе в пленку. Треки, которые образуются, должны расходиться, однако они самофокусируются.
4. эффект самофокусування световой энергии возникает при больших плотностях световой энергии. Исследования
треков свидетельствуют о том, что они самофокусируются, независимо от мощности
лазерного луча.
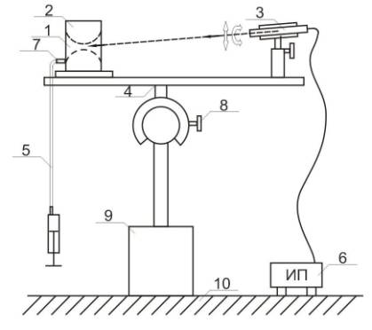
Для исследований была
использована установка, схема которой показана на рисунке 1.

Рисунок 1 . Установка для изучения лазерных треков в
мыльных пленках: 1 - мыльная пленка; 2 - прозрачный сосуд; 3 - лазер на
регулируемой стойке; 4 - столик; 5 - шприц медицинский с трубкой; 6 - источник
питания; 7 - штуцер; 8 - регулируемый шарнир с фиксатором; 9 – регулируемая
стойка; 10 - стол.
Мыльная пленка формировалась на верхней кромке сосуда при помощи
шпателя, смоченного в растворе ПАВ. Луч лазера направлялся в торец пленки или
под малым углом к ее поверхности. Положение пленки по вертикали регулировалось путем изменения объема воздуха
в сосуде при помощи медицинского шприца.
Луч лазера, проходя сквозь стенку сосуда и попадая в плоскость пленки,
«прилипает» к ней, самофокусируется и распространяется в виде узких светящихся
треков.
Нами была проведена серия опытов. Траектория движения треков и их количество
каждый раз изменялись.
На рисунке 2 показаны возможные конфигурации треков. На всех
фотографиях изображен стеклянный сосуд
(вид сверху) с прозрачными стенками. Луч лазера входит в стенку стакана
справа, а выходит слева. Точки входа и выхода лазерного луча видны на
фотографиях в виде ярких светлых пятен. Проходя в плоскости мыльной пленки, луч
не подсвечивает ее из – за малой плотности энергии. Однако, некоторое
количество световой энергии проникает внутрь пленки и распадается на множество
ярких лучей. На рисунке 2 а. показаны треки, на которые распался луч
многомодового лазера. Снимок сделан в темноте, мыльная пленка расположена
горизонтально. Плотность энергии, сфокусированная в виде трека,- невелика и он
подвергается влиянию многих факторов. Так, траектория движения трека может быть
и в виде ломаной линии (сходность по виду с молнией) и в виде дуги.
Совокупность треков может иметь древовидную форму с началом в точке прохождения
лазера через стенку сосуда. Такая картина характерна для горизонтального
расположения пленки. Траектория «молния», ломанная, формируется для треков,
которые на пути своего распространения столкнулись с «крупными» частицами,
инородными включениями мыльной пленки. Небольшие частицы на пути трека
рассеивают часть света и он становится видимым, не меняя направления
распространения.
а б в
Рисунок 2.(а,б,в)
Световые треки в мыльной пленке.
Если пленку расположить под углом к горизонтальной плоскости, то
жидкость, расположенная между поверхностными слоями будет стекать. На пленке, в
отраженном свете появятся параллельные цветные интерференционные полосы. При
стекании жидкости, интерференционные полосы перемещаются в сторону наклона
поверхности. По интерференционной картине можно судить об изменении толщины
пленки. В случае расположения пленки под наклоном, треки имеют дугообразную
форму. Сопоставление условий проведения экспериментов и визуальных наблюдений
за треками позволило установить, что искривление треков, образованных лучами
различных мод, имеет разную величину, но однозначно коррелирует с изменением
толщины мыльной пленки. Луч всегда отклоняется в сторону утолщения пленки
(рисунок 2.б.).
Если луч лазера входит под небольшим углом к плоскости пленки, треки
возникают не всегда. Луч лазера, проходя в пленке, создает треки в определенных
местах (рисунок 2.в.). На фото видно, что треки берут начало в определенных
местах. Освещение мыльной пленки рассеянным светом лазера с длинной волны,
равной длине волны светового трека, дает возможность соотнести условия
возникновения трека с толщиной мыльной пленки. Треки возникают в зонах черного
цвета (в отраженном свете). Известно, что эти зоны соответствуют разности хода
интерферирующих лучей Δ, равной,
(k=0, 1, 2, 3…..).
Выводы.
В работе исследовано необычное
поведение лазерных световых лучей в мыльных пленках. Изучалась зависимость
формы световых треков от толщины мыльной пленки и от ее ориентации, относительно горизонтальной плоскости.
Были установлены ранее
неизвестные закономерности:
1. Искривление траектории трека
происходит в местах изменения толщины мыльной пленки. Отклонение луча
направлено в сторону ее увеличения.
2.
При входе светового луча в пленку под
небольшим углом, треки образуются на участках пленки, где разность хода
интерферирующих лучей соответствует
условию:
(k=0, 1, 2, 3…..).
Список литературы
1. Старцев А. В., Стойлов Ю. Ю. «Способ получения
поверхностных поляритонов», заявка на патент №20022132754 от 5 декабря 2002
года.
2. Старцев А. В.. Стойлов Ю. Ю. «Рецепт чуда: лазерный
луч в мыльной пленке»//Москва. – 2003.
3. Старцев А. В., Стойлов Ю. Ю. «О двойном
лучепреломлении в мыльных пленках»//Москва. – 2005.