Сельское хозяйство/2. Механизация сельского хозяйства
К.т.н,
доцент В.А. Борознин, к.т.н, доцент А.В. Борознин,
инженер Л.В.
Борознин
ФГБОУ ВПО Волгоградский
государственный аграрный университет, Россия
Влияние рабочего вакуума на диагностируемые параметры доильных установок
Представлены основные факторы,
влияющие на снижение производительности вакуумного насоса и основные
диагностируемые параметры доильных установок.
Современное доильное оборудование
представляет собой набор сложных
пневмо-гидро-механических систем (ДМО), представляющих собой комплекты
блок-модулей согласно структурно-функциональной схеме (рисунок 1), соединённых
в параллельно-последовательную цепь.
Нормальный эксплуатационный режим всего ДМО задается вакуумной установкой. Поэтому (в основном) от её технического состояния будет зависеть работа всех узлов и агрегатов, входящих в доильную установку.
Основными параметрами, характеризующими состояние вакуумного
насоса, являются его производительность и максимально развиваемое на всасывании вакуумметрическое давление. Эти параметры
тесно связаны между собой и изменение первого сразу же влечет за собой
изменение второго. Если производительность насоса снижена более чем на 20% от
паспортной, то при этом происходят значительные по величине и продолжительности
колебания вакуумметрического давления (до 10…18 кПа, вместо 0,3…0,4 кПа), что
приводит к торможению рефлекса молокоотдачи, потере продуктивности и жирности
молока.
Основные факторы, влияющие на снижение
производительности вакуумного насоса (
) и на развиваемое им вакуумметрическое давление
, как видно из схемы, приведённой на рисунке 1, а значит и на
процесс работы доильных аппаратов и остальных блок-модулей ДМО, можно разделить
на конструктивные, эксплуатационные и технологические.


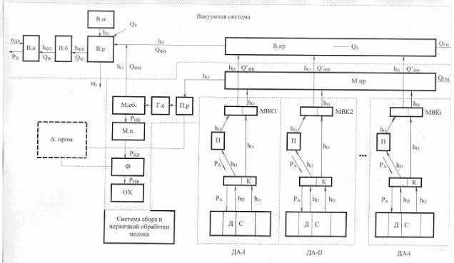
Рисунок 1 -
Структурно-функциональная схема доильной установки АДМ-8А
nДВ –
обороты двигателя (эл.); РВ – давление на выхлопе; В.н – вакуумный
насос; hФП –
фактическое вакуумметрическое давление развиваемое насосом (пульсирующее); В.б
– вакуумный баллон; hФВ – фактическое вакуумметрическое давление
(выровненное); QФ – фактическая подача насоса; В.р – вакуум-регулятор; mГ – масса
грузовых шайб; В.м – вакуумметр; hО – рабочее вакуумметрическое давление; QР – резерв
подачи насоса; В.пр – вакуумпровод; QГ – потери подачи насоса из-за негерметичности систем; QЗ – потери
насоса из-за засоренности вакуумпровода; Q’Ф – подача насоса с учетом потерь; QФД –
фактический расход воздуха доильным аппаратом; П – пульсатор; РА –
атмосферное давление; hП – вакуумметрическое давление за пульсатором; К –
коллектор; Дс – доильные стаканы; ДА-I, II,…i – доильный
аппарат; QГВ – потери подачи насоса из-за негерметичности
вакуумпровода; QГМ - потери подачи насоса из-за негерметичности
молокопровода; М.пр – молокопровод; МВК1, 2…i – молочно-вакуумный кран; М.сб – молокосборник; М.н –
молочный насос; Ф – фильтр; Ох – охладитель; А.пром – автомат промывки; РНВ
– давление на всасывании молочного насоса; РНД – давление создаваемое
молочным насосом; РНФ – давление за фильтром; QФВ –
расход воздуха вакуумной системой; QФМ – расход воздуха молочной системой.
К конструкционным факторам относятся а)
чрезмерный износ сопрягаемых поверхностей вакуумного насоса (ZИЗН), б) число оборотов ротора (nОБ); к эксплуатационным - а) настройка
вакуум-регулятора (hО, mТРВ-Р), б) герметичность молочно-вакуумной системы
(QГМ-В), в) засоренность молочно-вакуумной системы
(QЗМ-В), г) расход воздуха через доильные аппараты
(QД.А. – QП, QК, QС.Р., QШ), д) запас расхода воздуха (QЗАП); и к технологическим - а) подключение доильных аппаратов (QТ.ПРОСОСЫ), б) рабочие параметры доильных аппаратов (nZ, τСОС, ЖСР,
mД.А
).
|
|
|
|
Стереотип
доения |
|
|
|
|||||||||||||
|
|
|
|
|
|
|
|
|
|
|
|
|
|
|
|
|
|
|
|
|
|
|
|
|
|
|
|
|
|
|
|
|
|
|
|
|
|
|
|
|
|
|
Продуктивность |
|
Качество молока |
|
Жирность |
|
Заболеваемость |
|
Затраты труда |
|
Преждевременный запуск |
|
Торможение рефлекса молокоотдачи |
|||||||
Рисунок 2 - Схема взаимосвязи основных
диагностируемых параметров доильного оборудования
Основными диагностируемыми
параметрами, характеризующими работу доильных аппаратов, являются частота
пульсации (nZ), продолжительность такта сосания (τСОС), целостность и
упругость сосковой резины (ЖСР),
масса подвесной части (mД.А.). Схема взаимосвязи выше указанных
параметров представлена на рисунке 2. Все они в основном зависят от рабочего
вакуумметрического давления (hд).
Частота пульсации
с увеличением вакуумметрического давления
уменьшается и наоборот. В процессе доения происходят резкие
колебания вакуума в системе (ΔhО), поэтому частота пульсаций также меняется, что приводит к нарушению стереотипа доения. С увеличением
вакуумметрического давления также увеличивается и продолжительность такта
сосания, что отрицательно сказывается
на самочувствие животных и нарушает процесс выведения молока из вымени. Кроме
того, на продолжительность такта сосания влияют и упругие свойства сосковой
резины. Чем жестче чулок, тем больший перепад давлений нужно приложить к его
стенкам, чтобы чулок сомкнулся под соском коровы в такте сжатия, то есть такт
сжатия наступает несколько позднее и его продолжительность уменьшается.
Отсюда следует, что
основными диагностируемыми параметрами, от которых зависит эффективность работы
доильно-молочного оборудования, являются: производительность вакуумного насоса;
максимально развиваемое вакуумметрическое давление; рабочее
вакуумметрическое давление; колебания
вакуумметрического давления; запас расхода воздуха; частота пульсаций;
продолжительность такта сосания; жесткость сосковой резины.
Для определения зависимости колебаний
вакуумметрического давления как основного фактора, влияющего на режим
работы остальных блок-модулей доильной установки, от производительности
вакуумной системы воспользуемся формулой перепада давлений / 1 /:
, (1)
где β – коэффициент трения, Па с; l – длинна вакуумпровода, м; dВП - диаметр вакуумпровода, м; ρ - плотность воздуха, кг/м3;
VВП - скорость потока, м/с; ΔhО –
перепад давлений, Па.
Далее используем формулу определения расхода воздуха:
(2)
Выразим скорость потока воздуха из формулы (2) и
подставим в формулу (1), проведем математические вычисления и получим:
(3)
Полученные расчетные данные по формуле (3)
позволили построить график (рисунок 3) графическую зависимость
вакуумметрического давления, создаваемого насосом, от его производительности.

Рисунок 3 -
Зависимость давления от производительности вакуумного насоса.
Как видно из рисунка 3
увеличение производительности насоса позволяет повысить вакуумметрическое
давление. Применительно к нашей работе повышение производительности вакуумного
насоса позволит сократить колебания вакуумметрического давления и увеличить
срок эксплуатации вакуумной системы.
Литература:
1.Борознин В.А. Оценка ремонтопригодности и сохраняемости элементов ДМО/ В.А.Борознин, А.В. Борознин// Интеграция науки и производства – стратегия устойчивого развития АПК России. Том 1. – Волгоград: ФГБОУ ВПО Волгоградский ГАУ, 2013.
2. Борознин В.А. Метод оценки эффективности использования доильного оборудования / В.А.Борознин, А.В. Борознин, Ю.В. Бобылев// Известия Нижневолжского Агроуниверститеского комплекса: наука и высшее профессиональное образование – Волгоград – 2010 – №1(17) – с.124…129