Семернин
А.Н., Семернин Н.А., Кокаев
У.Ш., Нармаганбетов С.А.
Таразский государственный университет
имени М. Х. Дулати, Казахстан
РАСЧЕТ ПАРАМЕТРОВ ФИЛЬТРОВ-ВОДООТДЕЛИТЕЛЕЙ
В настоящее время в системах топливоподачи
дизельных двигателей широко используются фильтры-водоотделители (ФВ) комбинированного
типа.
Принцип работы ФВ основан на фильтрации и
гравитационном отстаивании капель воды.
После прохождения топлива через ФВ капли
воды укрупняются до необходимых размеров, которые затем эффективно осаждаются в
отстойную зону [1].
Эффективность осаждения во многом зависит
от правильно подобранных конструктивных параметров ФВ.
Ниже приведены основные формулы для
расчёта параметров ФВ и топливопроводов системы топливоподачи. Приведённые зависимости
можно использовать для расчёта ФВ дизельных двигателей любого типоразмера.
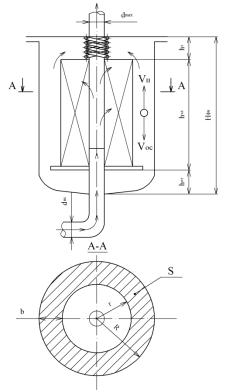
Ширина
кольцевого зазора.
Расчёт конструктивных параметров ФВ
сводится к определению оптимальной ширины кольцевого зазора между корпусом и
водоотделяющим элементом, высоты элемента и корпуса, и объёма отстойной зоны
(рисунок 1). Для случая, когда поток топлива в ФВ носит ламинарный характер, в
ФВ не возникают вихревые возмущения потока, действующие на осаждающиеся капли
воды. В этом случае для эффективного осаждения капли в отстойную зону необходимо,
чтобы выполнялось условие:
, м/с
(1)
или
, м/с
(2)
где Vос – скорость осаждения капли воды в топливе, м/с;
Vп –
скорость потока топлива через кольцевой зазор, м/с;
Q –
пропускная способность ФВ, м3/с;
Sк – площадь
кольцевого зазора между корпусом и элементом, м2.
Таким образом, осаждение капель под
действием силы тяжести начинается тогда, когда их размеры достигнут величины,
при которой сила тяжести будет больше силы динамического воздействия потока
топлива. Оптимальный зазор между корпусом и коагулирующим элементом определяют
исходя из заданной пропускной способности ФВ.
Площадь кольцевого зазора определяется по
формуле:
, м (3)
где Rк – радиус корпуса фильтра-водоотделителя, м;
r1 – радиус
элемента, м.
Преобразуем формулу, выразив радиус
корпуса через радиус элемента и ширину кольцевого зазора (b). В
результате преобразования получаем выражение:
(4)
Полученное выражение (4) подставляем в
формулу (2) и проведя ряд преобразований получаем уравнение:
(5)

Рисунок 1. Схема расчёта конструктивных параметров
фильтра-водоотделителя
Полученное уравнение (5) представляет
собой приведённое квадратное уравнение вида:
(6)
Решая уравнение (6) относительно (b) получаем:
, (7)
Для случая, когда задан радиус
водоотделяющего элемента, ширину кольцевого зазора можно определить по
формуле:
, м (8)
При заданном радиусе корпуса
фильтра-водоотделителя можно использовать формулу:
, м (9)
Анализ полученных выражений (8) и (9)
показывает, что ширина кольцевого зазора главным образом зависит от диаметра
капель воды, вышедших из пористой перегородки, то есть, чем больше размер
капель, тем меньше ширина кольцевого зазора, необходимая для их эффективного
осаждения.
При увеличении пропускной способности ФВ
необходимо увеличивать и ширину кольцевого зазора. Это обусловлено тем, что с
увеличением пропускной способности возрастает сила динамического воздействия
потока топлива на каплю воды, которая стремится вынести каплю из корпуса ФВ.
Ширина кольцевого зазора зависит также от плотности и вязкости топлива: для
вязких топлив ширина кольцевого зазора должна быть больше, чем для менее вязких
топлив.
Следовательно, необходимая ширина
кольцевого зазора определяется конкретно для каждого ФВ, исходя из заданной
пропускной способности, марки топлива, габаритных размеров водоотделяющего
элемента и размеров капель, выходящих из коагулирующей перегородки.
Список
использованной литературы
1. Семернин А. Н., Семернин Н. А.
Совершенствование системы топливоподачи технологических машин на базе автомобилей
КамАЗ: аналитический обзор. – Тараз: Жамбылский ЦНТИ, 2009. – 24 с.
2. Семернин А. Н. Конструкции и принцип
работы устройств для контроля и удаления воды из отстойных зон: аналитический
обзор. – Тараз: Жамбылский ЦНТИ, 2007. – 23 с.
3. Семернин А. Н., Аширов Ф. А.,
Мирошниченко В. В. Анализ систем очистки топлива: аналитический обзор. –
Тараз: Жамбылский ЦНТИ, 2007. – 20 с.