Калашников А.А., Таттибаев Х.А., Калдарова С.М.,
Алтынбеков А.
Казахский
научно-исследовательский институт водного хозяйства,
г. Тараз, Республика Казахстан.
Автоматизация дискретной технологии поверхностного полива
Орошаемые земли во всем мире являются одним из главных
факторов обеспечения стабильности сельскохозяйственного производства и
обеспечения продовольственной безопасности. На орошаемых землях, составляющих
менее 20% площади пашни, производится более 40% продукции растениеводства [1].
В Казахстане, где более 70% всех
сельскохозяйственных угодий расположены в зонах недостаточного или
неустойчивого естественного увлажнения, высокий и стабильный уровень
производства сельскохозяйственной продукции может быть обеспечен за счет
орошения сельскохозяйственных земель. Самым распространенным способом в
практике орошения является поверхностный полив. Это объясняют тем, что
поверхностные поливы не требуют значительных затрат энергии, а при правильном
подборе параметров технологии полива и их соблюдении можно добиться хорошего
его качества и высокого уровня урожайности орошаемых культур. Выход продукции с
орошаемого гектара в 2-5 раз выше, чем с богарного, при этом следует отметить,
что статистические данные практически всех регионов свидетельствуют о том, что орошаемые
земли, составляя менее 5% площади пашни, дают от 10% до 20% всего урожая. В
настоящее время более 80% овощей, 20% кормов и весь рис производятся на
орошаемых землях [1].
Одной из наиболее развитых стран в области орошения является США,
где орошаемые площади достигли 24-25 млн. га, что составляет 14% от общей площади сельскохозяйственных
земель. Из них 13-14 млн. га земель поливаются поверхностным способом, степень
механизации которого составляет- 90%. Около 40% орошаемых земель охвачены
поливами дождеванием и капельным орошением. Структура парка дождевальной
техники здесь такова: широкозахватные дождевальные машины - составляют 50%,
быстро сборные трубопроводы 15%, шланго-барабанные дождевальные установки 15%,
двухконсольные дождевальные установки
0,2%, стационарные системы 6,0%, капельного орошения 5% . Вся техника поверхностного полива в США
ориентирована на работу от закрытой оросительной сети, с автоматизированным
режимом работы и применением компьютерных систем контроля и управления. При этом
используется операторы-поливальщики высокой квалификации (rgazu.ru›db/conferencii/web/07_1/works/013.htm).
Несмотря на широкое применение и постоянное усовершенствование
средств механизации, поверхностный полив в США имеет так же, как и в странах
СНГ, ряд серьезных недостатков: низкую производительность труда,
неравномерность увлажнения, а главное, неизбежные сбросы оросительной воды. Так
по данным Х.Ф. Блейни и В.Д. Кридла, потери воды на поверхностный сброс и
глубинную фильтрацию составляют от 25% на средних до 42% на легких почвах.
Основные потери при орошении это потери воды на полях. Они значительно
превышают потери на фильтрацию в хозяйственных каналах.
На Африканском континенте, около 70% площадей поливается поверхностными способами: по чекам, контурам или бороздам, и только 30% отводится под системы дождевания и капельного полива. В странах Азиатского региона способами поверхностного полива охвачено 96% площадей, только 2% этих площадей отводится под дождевание и капельное орошение. В Европе 82% орошаемых площадей поливаются дождеванием и капельными системами, а 14% - поверхностными способами полива (rgazu.ru›db/conferencii/web/07_
В Российской Федераций доля земель
орошаемых дождеванием составляет 90%, при этом используемая техника требует
больших напоров воды, чрезвычайно энергоемка и материалоемка. В последние годы
к тому же резко возросли цены на дождевальную технику, электроэнергию, топливо,
и ремонтные работы, а закупочные цены на сельскохозяйственную продукцию
остаются сравнительно низкими. При таком положении вещей акционерные и
фермерские хозяйства оказались не в состоянии не только приобретать
дорогостоящую дождевальную технику, но и использовать имеющуюся из-за
дороговизны электроэнергию и топливо, а также поддерживать ее в работоспособном
состоянии из-за отсутствия средств на ремонтные работы.
В структуре парка дождевальных машин по России на долю ДМ
"Фрегат" приходится около 41,8 %, "Кубань" - 1,6%,
ДДН-70(100) - 8,1%, ДДА-100МА (100В) - 12,8%. Прочая техника (19,6%) - это
морально устаревшая техника производства 60-70-х годов (rgazu.ru›db/conferencii/web/07_1/works/013.htm).
Развитие поверхностного полива в РФ было ограничено рядом
причин, в том числе низким качеством проведения технологического процесса
полива, отсутствием средств механизации полива и низким уровнем подготовки
земель к поливу. Уровень механизации поверхностного полива менее 5%. Поэтому не
случайно в последнее время появились предложения и публикации в пользу
применения поверхностного способа орошения на юге России, а также научные
разработки по переводу систем дождевания на поверхностный полив.
Аналогичная ситуация орошаемом земледелии складывается и в РК, оно
стало высокозатратной отраслью сельскохозяйственного производства. Учитывая,
что около половины затрат в себестоимости продукции, получаемой с орошаемых
земель, составляют затраты, связанные с подачей воды, актуальной является
разработка агроприемов, направленных на максимальное водосбережение и наиболее
продуктивное использование поливной воды.
Анализ водопользования в орошаемом земледелии в южных
областях РК показал, что уровень
механизации и автоматизации поверхностного полива крайне низкий. На 95%
орошаемых этим способом земель полив производится вручную из временной
оросительной сети в земляном русле. Из-за несовершенства организации полива
значительное количество поливной воды теряется непроизводительно на сброс и
глубинную фильтрацию. КПД полива здесь не превышает 0,54-0,69.
Указанные недостатки поверхностного способа полива являются
следствием применения в республике, в большинстве случаев, поливов
нерегулируемым напуском из временной оросительной сети. При замене этой сети
другой более совершенной оросительной сетью с совершенными техническими
средствами подачи воды в борозды и рационализации элементов техники
поверхностного полива технологические потери могут быть значительно уменьшены.
Решение этих задач возможно только при переходе на
водо-ресурсосберегающие технологии.
Одним из приоритетных направлений по повышению эффективности и
конкурентоспособности орошаемого земледелия является поднятие уровня
механизации и автоматизации, используя новую технику для поверхностного полива,
которая позволит перейти к прогрессивным водосберегающим индустриальным
технологиям орошения. В тоже время в Республике Казахстан, несмотря на имеющиеся возможности в области транспортирования и
распределения оросительной воды на ирригационных системах, имеются серьезные
проблемы по механизации поверхностного полива, который является доминирующим
способом полива в южных регионах Казахстана.
На сегодняшний день, в условиях низкого уровня экономического
состояния крестьянских хозяйств первый шаг в решении проблемы автоматизации
необходимо начинать с самотечной поливной сети, оборудуя ее средствами
водорегулирования и водораспределения во временных земляных оросителях,
выводных и транзитных бороздах, не прибегая к затратам на приобретении
промышленных строительных материалов (труб, запорной арматуры и т.п.).
В качестве альтернативного приема повышения эффективности орошения
нами была выявлена необходимость в оценке потенциального водосбережения при
применении дискретного полива.
Технология дискретного полива впервые была разработана и применена
в Болгарии (Varlev, 1971; Varlev et al., 1998) и в бывшем СССР, а именно в
Киргизии и Узбекистане (Пензин и Терпигорев, 1977; Хамраев и Юсупов, 1980;
Терпигорев, 1983; Павлов и Хорст, 1995). Однако, недостаток действенного
интереса водопользователей к этой передовой технологии не позволил широко
применить ее на практике. Таким образом, несмотря на то, что в США она была
разработана позже (Stringham and Keller, 1979), эта технология стала известной
в мире после широкого применения с 80-х гг. в США (Walker and Skogerboe, 1987; Humphreys, 1989) [2].
Дискретная
технология поверхностного полива в сочетании с комплексом агротехнических,
мелиоративных, хозяйственно-организационных и др. мероприятий призвана
обеспечивать оптимальные режимы увлажнения корнеобитаемого слоя почв по всей
длине борозд, полос с высоким качеством и коэффициентом техники полива для
получения высоких и устойчивых урожаев высокого качества при экономных затратах
воды, средств и труда.
Основана она на применении сосредоточного поливного тока с
последующим, поочередным распределением его на относительно узких фронтах
полива на двух участках с форсированными (но неразмывающими) расходами до
полного внесения расчетной поливной нормы, дискретно в несколько приемов с
нормой добегания, причем за предельно короткий промежуток времени. Это
предъявляет более высокие требования к средствам полива, к их способности к
цикличной подаче струи с заданным расходом добегания.
Кроме
того, она способствует автоматизации процессов орошения, повышению
производительности труда поливальщиков. Обеспечивает максимальное снижение
потерь воды на сброс, глубинную фильтрацию и достижение равномерного
увлажнения борозд по всей их длине.
При
разработке средств автоматизированного полива дискретной водоподачи струй в
борозды, необходимо знать продолжительности впитывания поливной нормы,
добегания воды по борозде, импульсов подачи и пауз. Наибольшее влияние на
эффективность дискретного полива и дальность добегания оказывает величина
расхода и время импульса. Для увеличения равномерности увлажнения почвы по
длине борозд добегание воды по увлажненным бороздам не должно превышать 3/4 ее
длины. Периодическое наполнение и опорожнение борозд при дискретной водоподаче
улучшает условия перераспределения поливной нормы по длине. Продолжительность
импульса может изменяться от 10 до 120 минут. Длина пробега воды при дискретной
подаче воды за 100 мин увеличивается в 2-2,5 раза по сравнению с обычным
поливом. Сокращение времени добегания позволяет повысить коэффициент
равномерности увлажнения до 0,8-0,9 [3].
Равномерное
увлажнение почвы при дискретном поливе достигается за счет строгого чередования
импульсов и пауз, увлажнения во время пауз и уменьшение скорости впитывания.
Основным
сдерживающим фактором автоматизации производственных процессов на существующих
оросительных системах республики связан, главным образом, с большим числом
водораспределительных устройств и рассредоточенностью их на большой территории,
зависимостью технологических процессов от множества труднорегулируемых
факторов.
Для
освоения орошаемых массивов, расположенных в отдаленных районах, требуется
создание линии связи большой протяженности. Использование электроэнергии для
управления техническими средствами водораспределения на элементах оросительной
сети потребует дополнительных ресурсов и трудозатрат, чрезмерно удорожает
стоимость системы.
Применение
гидравлических автоматов на внутрихозяйственных оросительных сетях обходится
значительно дешевле и их преимущество по сравнению с электрическими автоматами
неоспоримо. Требуется лишь незначительные дополнительные капитальные вложения.
Следовательно, они заслуживают самого широкого внедрения.
В КазНИИВХ разработан техническое средство гидроавтоматизации
водораспределения (ТСГВ), и различные конструкции технических средств
автоматизации полива. Разработки направлены на обеспечение фермеров доступными
средствами механизации поверхностного полива, простым как в изготовлении, так и
в эксплуатации (патенты РК за №15882, №15059).
ТСГВ выполняет дискретную технологию полива на составляющих
элементах оросительной сети для обеспечения рационального режима орошения путем
соблюдения заданных параметров агротехнологии возделывания сельскохозяйственных
культур (рисунок 1), [3].

Рисунок 1 - Производственное
испытание ТСГВ на производственно - экспериментальном полигоне Комитета водных
ресурсов (КВР)
г. Тараз. Жамбылской области.
Отличительная
особенность разработки заключается в исполнении конструкции гидравлического
программного устройства для автоматизации процесса переключения поливного тока
при наличии незначительного перепада на самотечных поливных сетях. Здесь для
работы исполнительного органа используется потенциальная энергия воды. Это дает
возможность работы ТСГВ при минимальном напоре в сети. Техническое средство
ТСГВ, разработанное на основе известных теоретических закономерностей движения
воды по борозде, либо определенных на основе пробных поливов применяется для
технологии дискретного полива по бороздам.
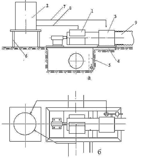
ТСГВ состоит из исполнительного, органа 1, гидравлического
программного устройства 2 и узла клапана отключения 3. Исполнительный орган 1 и
клапан отключения 3 размещены на общей монтажной плите 4 соосно (рисунок 2),
[3].

Рисунок 2 - Схема технического средства гидроавтоматизации
водораспределения
Сама монтажная плита лежит на водоприемно-распределительном узле
5, гидравлическое программное устройство 2 располагается на подставке 6 и имеет
геодизическую командную отметку над исполнительным органом 1 и клапаном
отключения 3. Управление последними осуществляется программным устройством 2 за
счет потенциальной энергии воды в нем посредством каналов 7 и 8. Подача воды в
устройство осуществляется посредством гибкого шланга. Исполнительный орган
работает согласно программе заданной программным устройством. Клапан отключения
автоматически прекращает подачу воды в ТСГВ по сигналу программного устройства
по окончании полива.
При
проведении испытания технического средства гидроавтоматизации водораспределения
по установлению качества выполнения им заданной технологии полива, были точно
выдержаны элементы техники дискретного полива. Данные опыта приведены в таблице
1.
Таблица
1- Качество выполнения ТСГВ принятой технологии полива [3]
|
№ импульсов |
Продолжительность импульсов, мин. |
Отклонение импульсов от принятой технологии,
мин. |
Продолжительность полного технологического цикла, мин. |
|||||
|
По принятой технологии |
опытная |
по принятой технологии |
экспериментальная |
отклонение |
||||
|
мин. |
% |
|||||||
|
1 2 3 4 5 6 |
168 168 42 42 42 42 |
171 173 40 38 44 45 |
+3 +5 -2 -4 +2 +3 |
504 |
511 |
7 |
1,4 |
|
Как
видно по данным опыта, разработанная конструкция технического средства
гидроавтоматизации водораспределения выполняет заданную технологию полива с
достаточной точностью. Отклонение продолжительности импульсов от заданной
технологии полива лежит в пределах от –2 до +5 мин. Продолжительность полного
технологического цикла имеет отклонение от средней поливной нормы 1,4 %, что
говорит о способности данной конструкции обеспечивать достаточную точность
выполнения заданной технологии полива
Конструкция технического средства гидроавтоматического
водораспределения, позволяет осуществлять её применение на поливных участках с
различными почвенно-мелиоративными условиями путем задачи их технологических
параметров, в соответствии с параметрами дискретной технологии полива
конкретного участка.
Использование разработанной конструкции технического средства
гидроавтоматизации водораспределения снижает концевые непроизводительные сбросы
воды и сводит глубинную фильтрацию до минимума во время полива.
Оригинальность конструкции технического средства
гидроавтоматизации водораспределения заключается в способности проведения им
дискретной технологии полива с широтно-частотным регулированием поливных струй
в борозды, которая является наиболее прогрессивной технологией дискретного
полива (подача воды в борозды осуществляется с учетом изменения впитывающей
способности почвы по длине борозды).
Она обеспечивает экономию оросительной воды до 25% за счет
снижения потерь на фильтрацию, и непроизводительные сбросы. Дополнительных
энергетических ресурсов не требует, при этом обеспечивается сохранение
плодородия почвы за счет уменьшения выноса гумуса на 90% и внесенных
минеральных и органических удобрений.
Урожайность повышается на 18-20% в результате повышения качества полива.
Улучшается водный, воздушный и тепловой режимы почвы при сохранении ее
структуры. Рациональная технология полива, строгое нормирование орошения
обеспечиваются сохранение и благополучие агроландшафта орошаемого поля.
ВЫВОДЫ
Для автоматизации полива поливных систем с открытыми самотечными
оросителями и низконапорными сетями разработано техническое средство
гидроавтоматизации водораспределения ТСГВ, выполняющее основные разновидности
технологии дискретного полива. Полив устройством осуществляется с
использованием подготовленной технологии дискретного полива путем ввода
заданных параметров полива в программный блок гидравлического программного
устройства.
Принципиально
новое средство полива по бороздам для систем с внутрихозяйственной оросительной
сетью с напорами 0,3…2,0 м, для проведения дискретной технологии полива
(патенты РК за №15882, №15059) в сравнении
с лучшими достижениями в данной области имеет преимущество, заключающееся в
использовании его на самотечных оросительных системах без наличия
геодезического командования на оросительной сети и с использованием локальной
потенциальной энергии воды. Таким средством полива обеспечивается выполнение
основных видов дискретной технологии полива.
список Использованных источников
1. Таттибаев А.А., Таттибаев Х. А. Разработать технические средства
гидроавтоматизации водораспределения на элементах оросительной сети. Отчет о
НИР ДГП «НИИВХ», Тараз , 2007 г.- 106 с.
2. Управление орошением для борьбы с процессами опустынивания в
бассейне Аральского моря. Оценка и инструменты / Общ. ред. Л. С. Перейра, В. А.
Духовного, М. Г. Хорста. - Ташкент: Vita Color, 2005. - 422 с.
3. Таттибаев А.А., Таттибаев Х. А. Разработать средства гидроавтоматизации
водораспределения на элементах оросительной сети (заключительный). Отчет о НИР
/КазНИИВХ/, №0106РК01314 гос. Регистрации, - Тараз, 2008 г.