Сельское хозяйство/2. Механизация сельского хозяйства
К.т.н. Волик Б.А., аспирант Конащук В.В.,
магистранты Буцкий Ю.В., Давиденко М.Л.
Днепропетровский государственный аграрный университет,
Украина
Методика
лабораторных исследований составляющих
тягового сопротивления почвообрабатывающих орудий
Постановка проблемы. В процессе работы на любое почвообраба-тывающее орудие помимо
продольной силы тяги действуют ее поперечная и вертикальная составляющие,
которые, в общем случае, дестабилизируют его ход. Для снижения вредного
действия этих сил вводяться компенсирующие элементы, например, полевая доска в плуге. Однако, существует и
альтернативный способ -
перераспределить или взаимокомпенсировать силы.
Для
лемешно-отвального плуга наиболее обсуждаемым есть вариант постановки лезвия
лемеха к стенке борозды под отрицательным углом (рис.1.). Теоретически при этом
реакции лезвия и отвала будут направлены в противно-положные стороны и в
некоторой степени будут себя взаимокомпенсиповать.

Рис.1. Плуг с отрицательным углом
постановки лезвия лемеха к стенке борозды.
Однако,
расчетным способом оптимизировать
конструкцию очень сложно, т.к. все известные методики носять в основном
оценочный характер. Полева отработка на натурних образцах техники дорогостоящая
и требует Больших затрат времени. Потому, нами предлагается методика лабораторних исследований в
почвенном канале с использованием моделей орудий, в частности, нами использовались модели плужних корпусов
с различными уграми постановки лезвия лемеха к стенке борозды (рис. 2.).
Рис.2. Вариант исполнения
модели плужного корпуса

В
работе использовался почвенный канал стандартной конструкции, т.е. почвенный
лоток, заполненный модельной средой и тележка, которая переме-щается по рельсам
над лотком. Модельная среда подготавливалась в соответствии с методикой В.И.Баловнева [1] и имитировала чернозем
обыкновенный среднесуглинистый, что в основном соответствует условиям
Днепропетровской области. На тележку
навешивалась модель плужного корпуса в масштабе 1:5, заглублялась в модельную
среду и протягивалась 1,2 – 1,5 м. При этом замерялось соотношение продольной и
поперечной составляющих тягового сопротивления. Затем, на модели заменяли лемех
и експеримент повторяли.
Величину
действующих сил определяли следующим образом.
Продольную
составляющую – традиционным способом при помощи динамометра. Вначале, замеряли
силу тяги без заглубления модели, а
затем в рабочем, заглубленном состоянии. Разность показаний составляет величину
продольной силы.
Поперечную составляющую определяли следующим образом
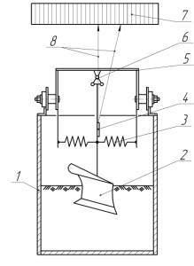
(рис.3.).
Верхний
обрез стойки модели 2 посредством шарнира 6 прикреплен к раме 5 тележки с
возможностью поперечного отклонения. В
центральной части стойка фиксируется в вертикальном положении двумя пружинами
3. В процес- се движения под действием поперечной составляющей силы
сопротивления стойка отклоняется и сжимает-растягивает
пружины.
Рис.3. Схема
определения поперечной составляющей силы сопротивления: 1 – почвенный лоток; 2 – модель корпуса плуга; 3 – пружины; 4 – ОКГ; 5 – рама тележки; 6 – шарнир; 7 – шкала; 8 – отклонение светового луча ОКГ.

К
стойке прикреплен оптический квантовый
генератор (ОКГ) 4, отклонения луча 8 которого фиксировали на миллиметровой
шкале 7, которая была закреплена на потолке лаборатории. Шкала 7 была
предварительно отградуирована при помощи динамометра. Внешний вид установки
представлен на фото (рис.4.).
Рис.4. Робочий момент исследований
В соответствии с приведенной методикой была проведена серия экспериментов по изучению влияния угла γ0 постановки лезвия лемеха плуга к стенке борозды и удельного сцепления частиц СУД почвы на соотношение поперечной FП и продольной FПР составляющих силы тяги. Результаты экспериментов представлены в табл.1., где V- скорость движения тележки.
Таблица 1.
Отношение поперечной к продольной составляющих тягового
сопротивления модели
|
№ |
СУД, кН/м2 |
V, м/с |
γ0, град |
К = FП /FПР , % |
|
|
Расчетное |
Замеряное |
||||
|
1 |
0,5 |
1,67 |
120 |
7,2 |
9,4 |
|
2 |
135 |
17,3 |
20,3 |
||
|
3 |
150 |
27,4 |
27,6 |
||
|
4 |
2,31 |
120 |
9,3 |
11,6 |
|
|
5 |
135 |
19,3 |
21,8 |
||
|
6 |
150 |
29,3 |
28,9 |
||
|
7 |
2,82 |
120 |
10,1 |
11,4 |
|
|
8 |
135 |
20,2 |
21,1 |
||
|
9 |
150 |
30,3 |
30,1 |
||
|
10 |
1,0 |
1,67 |
120 |
4,8 |
6,7 |
|
11 |
135 |
14,8 |
18,2 |
||
|
12 |
150 |
24,9 |
25,9 |
||
|
13 |
2,31 |
120 |
7,8 |
9,8 |
|
|
14 |
135 |
17,9 |
20,6 |
||
|
15 |
150 |
29,1 |
29,9 |
||
|
16 |
2,82 |
120 |
8,9 |
9,9 |
|
|
17 |
135 |
19,1 |
20,8 |
||
|
18 |
150 |
29,2 |
29,5 |
||
|
19 |
1,5 |
1,67 |
120 |
2,6 |
5,4 |
|
20 |
135 |
12,7 |
15,9 |
||
|
21 |
150 |
22,8 |
26,9 |
||
|
22 |
2,31 |
120 |
6,4 |
8,4 |
|
|
23 |
135 |
16,5 |
18,2 |
||
|
24 |
150 |
26,6 |
29,6 |
||
|
25 |
2,82 |
120 |
8,0 |
8,9 |
|
|
26 |
135 |
18,1 |
20,5 |
||
|
27 |
150 |
28,2 |
28,8 |
||
Анализ полученных данных показывает, что
изменяя угол γ0 можно добиться
существенного снижения поперечной составляющей, причем с увеличением удельного
сцепления частиц движения эффект
усиливается. В то же время увеличение
скорости поступательного движения этот эффект снижает.
Выводы
1.
Разработанная методика лабораторних исследований позволяет с достаточной
точностью определить соотношение поперечной и продольной составляющих силы тяги
почвообрабатывающего орудия. Это не исключает последующих полевых экспериментов, т.к. методикой не предусмотрено определение
абсолютных значений исследуемых величин. Однако, она позволяет исследовать
тенденции в их изменении при смене конструктивних и кинематических параметров
орудия, что в конечном итоге существенно облегчает проведение полевих
экспериментов.
2. В ходе лабораторных исследований с
привлечением данной методики было установлено, что поперечная составляющая силы
тяги плуга находится в пределах 20% от продольной составляющей. В последствии
это было подтверждено в ходе полевых экспериментов.
Литература
1. Баловнев В.И. Методы физического моделирования рабочих процессов
дорожностроительных машин. – М.: Машиностроение, 1974. – 232с.