Технические науки/ 2.
Механика
К.т.н. Харламова С.П., Денисова А.Б.
Южно-Российский государственный университет экономики
и сервиса, Россия
Встроенный бытовой компрессионный
холодильник
Авторами предлагается новое техническое
решение встроенного бытового парокомпрессионного холодильного агрегата.
Прототип такого агрегата, опубликованный в заявке RU № 2235952, Кл. F25D 11/00, А47В
75/00, 26.11.2004 имеет ряд недостатков:
1. Не
полностью используются эксплуатационные и энергетические возможности холодильника,
а самый существенный недостаток этого решения заключается в том, что при
значительном понижении температуры окружающей среды происходит замерзание масла
в компрессоре и нет возможности получить более низкую температуру в холодильной
камере, чем температура окружающей среды в зимний период, не регулируется
температура в отсеках холодильника индивидуально.
2. Новое
техническое решение и патент на изобретение № 2390698, 19.03.2009 г. [1]
позволяет обеспечить индивидуальное регулирование температуры в отсеках
холодильного агрегата и исключить замерзание масла в компрессоре.
3.
Технический результат, заключающийся в устранении указанных недостатков в
бытовом компрессионном холодильнике, содержащем теплоизолированный шкаф,
разобщенные камеры, компрессор, конденсатор, фильтр-осушитель, капиллярную
трубку, испаритель, лампочку подсветки, морозильный отсек шкафа теплоизолирован
от других отсеков с возможностью сообщения с ними, датчики температуры,
отличающийся тем, что камеры оснащены датчиками температуры, задняя стенка
каждой из камер выполнена с возможностью индивидуального регулирования величины
открывания, а компрессор, размещенный в теплоизолированном кожухе, снабжен
открывающейся задней стенкой посредством привода, конденсатор и компрессор
имеют солнцезащитный щиток.

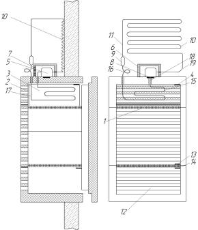
Рисунок 1. Бытовой
компрессионный холодильник
Морозильная камера теплоизолирована от
остальных камер перегородкой, но по желанию пользователя может сообщаться с
другими камерами или с наружным воздухом, для этого задняя стенка 2 и перегородка
морозильной камеры 1 выполнены с возможностью открывания и закрывания отверстий
6 в автоматическом режиме или по желанию пользователя.
При
открывании отверстий 6 в задней стенке морозильной камеры 3 в зимний период в
ней установится температура окружающего наружного воздуха. Степень открывания и
закрывания отверстий в задних стенках осуществляется в автоматическом режиме в
зависимости от заданной температуры в камере. При наружной температуре воздуха
от -1 °С и ниже отверстия в задних стенках камер автоматически открываются на
определенную величину в зависимости от заданных температур в камерах, при этом
находящиеся в камерах продукты будут охлаждаться за счет температуры окружающей
среды без потребления электроэнергии. При
понижении или повышении температуры окружающей среды отверстия в задней стенке
холодильной камеры будут приоткрываться или закрываться по команде, полученной
от датчиков 4, 5, 13. Датчиком 4 устанавливается требуемая температура
конкретно в морозильном отсеке и отслеживается системой автоматики в заданных
пределах. При переходе в режим принудительного замораживания (т.е. до
температуры ниже температуры окружающей среды) закрываются отверстия 6 в задней
стенке морозильной камеры 3 и нижней стенке морозильной камеры 1, включается в
работу компрессор 5, при этом температура в морозильной камере опускается до
установленного пользователем значения и поддерживается в этом режиме
автоматически. Компрессор 5
располагается в теплоизолированном кожухе 8 и крепится снаружи, за стеной
здания 7 на плоскости верхней стенки холодильного шкафа после его монтажа в
стене. Компрессор закрыт теплоизолированным кожухом 8, защищающим его в летний
период от дождей и перегрева солнцем, а зимой – от снега и замерзания масла в
компрессоре. Причем кожух компрессора оснащен задней стенкой 9, сообщающейся
с атмосферой и выполненной с
возможностью закрывания и открывания. Для предотвращения замерзания масла в
кожухе компрессора при предельно-низких температурах окружающей среды задняя
стенка 9 автоматически прикрывается или совсем закрывается по команде датчика
4. В этом режиме компрессор отключается совсем, но в случае повторного
включения для снижения пускового тока электродвигателя под ним установлен
электрический подогреватель масляной ванны 10, включающийся автоматически перед
запуском электродвигателя компрессора (осуществляется предпусковой разогрев
масла при критически низкой температуре масляной ванны), после запуска
электродвигателя питание подогревателя автоматически отключается. При этом
электродвигатель легко запускается, а как следствие, снижается величина
пускового тока, что влечет за собой снижение расхода электроэнергии.
Такое исполнение холодильника
характеризует его новые признаки, позволяющие достичь цели, а именно: в
результате внесенных изменений, по
желанию пользователя, возможно получить температуру в морозильном отсеке ниже
температуры окружающей среды в любое время года, а остальные камеры в этот
период времени (зимой) будут охлаждаться наружной температурой окружающей
среды. Холодильник в этом режиме будет работать более экономично, т.к. на
охлаждение одной холодильной камеры потребуется значительно меньше времени, чем
на охлаждение всех камер и продуктов, находящихся в них. Если нет необходимости
такой заморозки, можно использовать в зимний период холод окружающей среды, при
этом открываются все задние стенки шкафа на разную величину, в зависимости от
заданной температуры, и все камеры холодильника будут охлаждаться от окружающей
среды, совсем не потребляя электроэнергии. При значительном понижении
температуры в холодильной и овощной камерах их заслонки автоматически
прикрываются индивидуально, в зависимости от заданного режима температуры в
каждой камере.
Исключается
возможность замерзания масла в компрессоре, так как компрессор помещен в специальный
теплоизолированный кожух и имеет предпусковой подогреватель масла 10
(используемый в зимний период при относительно низких температурах окружающей
среды) и специальную систему автоматики, которая будет отслеживать нормальную
эксплуатационную температуру масла. Задние стенки всех трех камер выполнены
отдельно и могут открываться и закрываться индивидуально, каждая от своего
привода. Температурный режим задается индивидуально для каждой камеры. В
результате более интенсивного охлаждения компрессора и конденсатора,
фильтра-осушителя значительно улучшаются энергетические характеристики
холодильника, снижаются шумы в помещении за счет того, что часть агрегата
холодильника, т.е. компрессор 5, конденсатор 11, фильтр-осушитель 12 и
капиллярная трубка вынесены на улицу [2,3]. Выделяемое ими тепло не
распространяется в помещении, что особенно существенно в летний период.
Существенно увеличивается нижний овощной отсек шкафа за счет перемещения
компрессора 5 наружу. Снижается вероятность попадания фреона в помещение при
нарушении герметичности холодильного агрегата. Снижается время пуска
электродвигателя, а как следствие, пусковой ток электродвигателя компрессора.
Практически холодильник разделен на два блока. Первый – это теплоизолированный
шкаф с размещенными в нем камерами, датчиками температуры 4, 5, 13 и
испарителем 14, второй блок (наружный)- это компрессор 5 в теплоизолированном
кожухе 8, конденсатор 11, фильтр-осушитель 12, капиллярная трубка 13,
солнцезащитный щиток 15.
Блоки
соединяются между собой теплоизолированным трубками 16 и 17, которые пропущены
через отверстия в верхней стенке шкафа.
При
такой компоновке элементов холодильника компрессор 5 сжимает хладагент и по
трубопроводу 18 подает его в конденсатор 11, откуда он по трубопроводу 17
попадает в испаритель 16. За счет дросселирования хладагент закипает при
отрицательной температуре и отбирает тепло в холодильной камере. Через
теплоизолированную трубку 14 хладагент возвращается в компрессор 5. Солнечные
лучи в летний период могут привести к значительному нагреву конденсатора и
компрессора, что может отрицательно отразиться на повышении энергетических
показателей агрегата.
Для
защиты конденсатора и компрессора от нагрева солнечными лучами в летний период
конденсатор и компрессор закрыты солнцезащитным пластиковым щитком 15, на
котором выполнены прорези в виде жалюзи. Этот кожух кроме защитной функции от
солнца может являться декоративным элементом, улучшающим эстетику.
По
сравнению с прототипом заявляемая разработка обладает следующими преимуществами:
1.
Исключается замерзание
масла в масленой ванне компрессора.
2.
Экономится потребление
электроэнергии.
3.
Возможно замораживание
продуктов до более низкой температуры, чем
температура окружающей среды, по желанию пользователя.
4.
В случае нарушения
герметичности агрегата значительно снижается вероятность попадания фреона в
помещение.
5.
Холодильник может
работать при более низких температурах наружного воздуха
6.
Снижается величина
пускового тока электродвигателя
7.
Возможность
получения заданных температур в каждой камере отдельно.
8.
Возможность эксплуатации
холодильника без потребления электроэнергии.
9.
Внедрение предложенного
авторами технического решения позволяет использовать энергосберегающую
технологию получения холода в процессе эксплуатации бытовых парокомпрессионных
холодильных агрегатов.
Авторами было проведено аналитическое
исследование зависимости количества подмешиваемого наружного воздуха в
осенне-зимний период для обеспечения рабочего температурного режима в
холодильной камере от объема камеры
, температуры,
относительной влажности и влагосодержания наружного воздуха и воздуха в
холодильной камере.
Если предположить, что на 1 кг
подмешиваемого воздуха
приходится
кг воздуха в
холодильной камере, т.е.
, (1)
то энтальпия смеси,
определяется
соотношением:
(2)
С учетом
соотношения (1) из уравнения (2) после несложных преобразований определяется
:
(3)
где
- соответственно
массовые изобарные теплоемкости полученной смеси воздуха, воздуха в камере,
подмешиваемого наружного воздуха,
;
- соответственно
температура смеси, температура воздуха в камере, температура подмешиваемого
наружного воздуха.
Так как
значение изобарной массовой теплоемкости в интервале рабочих температур
практически постоянно, то
.
Рассматривался вариант для температурных
уровней холодильной камере базовой модели холодильного агрегата в режиме
цикличной работы компрессора. По результатам расчетов при объемах холодильной
камеры Vк=100÷300
дм3 масса mн подмешиваемого наружного воздуха в интервале температур
tн=0÷(–20)°С
составляет:
при Vк=100 дм3,
mн=0,168÷0,022
кг
Vк=200 дм3,
mн=0,26÷0,031
кг
Vк=300 дм3,
mн=0,39÷0,047
кг
Полученные результаты расчетов позволяют
определить степень открытия отверстий в задней стенке холодильного агрегата или
время их полного открытия в зависимости от температуры наружного воздуха.
Литература:
1. Пат. 2390698 Российская Федерация.
Бытовой компрессионный холодильник / Сурмилов А.Б. (RU), Петросов С.П.
(RU), Сурмилова А.Б. (RU), Харламова С.П. (RU).; заявитель и патентообладатель Южно-Рос. гос. ун-т
экономики и сервиса. – № 2009110065/12;
заявл. 19.03.2009; опубл. 27.05.2010, Бюл. № 15. – 6 с.: ил.
2. Левкин В.В. Метод оценки влияния
распределения тепловых потоков на температурный режим герметичного компрессора/
В.В. Левкин, И.Д. Алекперов, С.П. Харламова/ Экология, технология и
оборудование: Межвуз. сб. науч. тр. /Южно – Рос. гос. ун – т экономики и
сервиса. - Ростов – на – Дону: ЮРГУЭС, 2001.- С.153 – 156
3. Кудинов В.А. Техническая термодинамика:
Учебник для ВТУзов / В.А. Кудинов, Э.М. Карташов. – М.: Высш. шк. 2003. - 261 с.