студ.
Проскуряков В.И., д.т.н., проф. Родионов И.В., к.т.н., доц. Кошуро В.А.
Саратовский государственный технический
университет имени Гагарина Ю.А., Россия
Исследование
микротвердости термооксидированной поверхности тантала
Исследования
выполнены при финансовой поддержке Минобрнауки РФ в
рамках государственного задания образовательным организациям высшего
образования, подведомственным Минобрнауки РФ (проект № 11.1943.2017/ПЧ)
Введение
Тантал относится к пластичным металлам, обладающим высокой
температурой плавления (более 3000 °С) и
повышенной стойкостью к действию соляной, серной, азотной и других кислот.
Тантал имеет высокую коррозионную стойкость, благодаря чему широко используется
как биосовместимый материал, способный приживляться в организме, не вызывая раздражений
и выраженных иммунных реакций окружающих тканей. Из тантала изготавливают пластины,
которые используются при повреждениях черепа и костей челюстно-лицевой области.
Танталовыми скрепками надежно соединяют кровеносные сосуды [1]. Из тантала изготавливают компоненты
электровакуумных и электротехнических приборов, например, конденсаторы [2].
Однако вследствие износа, коррозии, эрозии и в
результате механических повреждений поверхностный слой этого металлического
материала разрушается и изделие теряет свои заданные эксплуатационные
характеристики. Существует довольно много технологических средств повышения твердости
и износостойкости поверхности конструкционных металлических материалов. Это, например,
легирование упрочняющими добавками, механический наклеп, закалка, дисперсионное
твердение, лазерное модифицирование и т.д. Для увеличения ресурса работы
изделий требуется улучшение их механических и физико-химических свойств, чего
зачастую позволяет добиться поверхностное упрочнение материала путем создания специальных
покрытий.
Известно, что оксидирование металлов и их
сплавов является широко распространенным и эффективным методом получения
защитных, износостойких, диэлектрических и других функциональных покрытий с
важнейшими эксплуатационными характеристиками [3, 4]. Оксидные покрытия
значительно увеличивают срок службы различных металлоизделий в условиях трения,
химической и электрохимической коррозии, воздействия высоких температур, механических
нагрузок [5].
В результате анализа научно-технической
литературы были выделены следующие широко известные технологические процессы
оксидирования, позволяющие формировать на тантале высокопрочные и защитные
покрытия:
- электрохимические процессы, с помощью
которых формируются тонкие оксидные покрытия в хлоридно-нитратном расплаве при
температуре 556,85 °С. Изменяя состав электролита, температуру
оксидирования и плотность анодного тока, можно получать либо плотные защитные
покрытия на тантале, либо оксидные порошки с размерами от 50 до 200 нм [6].
- плазменные процессы, предусматривающие
электролитическое окисление (ПЭО). С их помощью можно получить на тантале и
других металлах и сплавах оксидные покрытия толщиной от 1-100 мкм с повышенной
микротвердостью и высокими диэлектрическими свойствами. В качестве электролита
используется 12-вольфрамосиликатный раствор (H4SiW12O40). Получаемые вольфрамсодержащие
оксидные слои на тантале обладают хорошей теплопроводностью, твердостью,
сопротивлением высоким температурам и износу.
- газотермические процессы, позволяющие
получать на поверхности ряда металлов (титан, цирконий, тантал) оксидные
соединения в виде пленок и покрытий различной морфологической гетерогенности [5].
Из рассмотренных технологических решений метод
газотермического оксидирования характеризуется относительной простотой
реализации технологического процесса и возможностью варьирования целого
комплекса свойств покрытий в широком диапазоне значений.
Наиболее распространенными способами
газотермического оксидирования являются воздушно-термическое и паротермическое
оксидирование, предполагающие использование в качестве реакционной
технологической среды воздуха и перегретого водяного пара соответственно [5].
При воздушно-термическом оксидировании образование покрытия происходит за счет
взаимодействия металлической основы с кислородом воздуха при определенной температуре
в нагревательном устройстве – электропечи. В результате такого реакционного
взаимодействия на обрабатываемой поверхности формируются металлооксидные
соединения в виде поликристаллических гетерофазных покрытий. Данные покрытия
характеризуются высокими значениями физико-химических и механических свойств, а
также повышенными антикоррозионными свойствами. Кроме того, возможно получение
покрытий с различной поверхностной и объемной структурой оксидов [5].
Воздушно-термическое оксидирование
металлов и их сплавов осуществляется в нагревательных устройствах,
представляющих электропечи сопротивления со свободным доступом воздуха в
рабочий объем печи [5].
В настоящее время исследований, посвященных
процессу газотермического оксидирования тантала, недостаточно для установления
влияния параметров режимов обработки на характеристики прочности поверхности. Поэтому
выполнение исследований в этой области позволит выявить новые перспективные
возможности применения технологии воздушно-термического оксидирования для
упрочнения поверхности тантала с определением закономерностей изменения
микротвердости получаемых термооксидных слоев.
В этой связи целью
работы являлось исследование влияния режимов воздушно-термического оксидирования тантала на
микротвердость формируемых оксидных покрытий.
Методика экспериментальных исследований и обсуждение
полученных результатов
В исследованиях использовали плоские образцы из
тантала марки ТВЧ размерами 10×10×1 мм. Одна сторона образцов
предварительно подвергалась абразивно-струйной обработке (АСО), а другая – шлифовке
(Ш) с использованием влагостойкой наждачной бумагой зернистостью от Р600 до
Р3000 (ISO-6344).
От технологических загрязнений образцы очищали методом
ультразвуковой очистки в УЗ ванне типа «Кристал-2.5» последовательно в водных
растворах ПАВ и этилового спирта в течение 20 минут. После очистки образцы сушили
в муфельной печи «СНОЛ» при температуре 50 °С в течение 30 минут.
Измерение микротвердости проводили на микротвердомере
ПМТ-3М согласно ГОСТ 9450-76.
Для получения оксидного покрытия предварительно подготовленные
образцы подвергали воздушно-термическому оксидированию в лабораторной трубчатой
электропечи сопротивления при
температурах 400, 500 и 600 °С и выдержке 1, 2 и 3 часа при каждой выбранной
температуре (рис. 1).

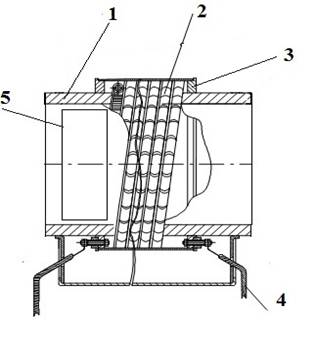
Рис. 1. Лабораторная трубчатая
электропечь: 1- керамическая камера оксидирования; 2 - нагревательный элемент;
3 - теплозащитный кожух; 4 - токоподводы к источнику питания; 5 - образец
Образцы 5 из тантала помещали в керамическую
цилиндрическую камеру оксидирования 1, на внешней поверхности которой размещен
нагревательный спиральный элемент 2 на
основе нихрома, подключенный к источнику питания через токоподводы 4 (рис. 1).
В целях безопасности и снижения тепловых потерь в рабочей зоне печи нагревательный
элемент 2 располагается в защитном теплоизоляционном кожухе 3.
Образцы подвергали бесступенчатому нагреву в воздушной
атмосфере при давлении 0,1±0,01 МПа до температур 400, 500 и 600 ºC с
последующей выдержкой в течение 1, 2 и 3 часов при каждой заданной температуре.
В результате термического модифицирования на поверхности образцов создавалось оксидное
покрытие различной толщины и структуры.
Результаты исследований показали, что микротвердость
поверхности танталовых образцов значительно увеличивается после процесса
термического оксидирования с 1,7±0,5 ГПа до 21,4±0,5 ГПа (табл.).
Таблица
Результаты
среднестатистических значений микротвердости образцов тантала, полученных
воздушно-термическим оксидированием при различных режимах
|
№
пп. |
Образец |
Режим
оксидирования |
HVср |
Микротвердость, ГПа |
|
|
T°, C |
τ, ч. |
||||
|
1.
|
Контрольный Ш |
- |
- |
178 |
1,7 |
|
2.
|
Контрольный АСО |
- |
- |
401 |
3,9 |
|
3.
|
АСО |
400 |
1 |
1023 |
10,03 |
|
4.
|
Ш |
400 |
1 |
543 |
5,3 |
|
5.
|
АСО |
400 |
2 |
1131 |
11,0 |
|
6.
|
Ш |
400 |
2 |
405 |
3,97 |
|
7.
|
АСО |
400 |
3 |
1675 |
16,4 |
|
8.
|
Ш |
400 |
3 |
1168 |
11,4 |
|
9.
|
АСО |
500 |
1 |
2025 |
19,8 |
|
10.
|
Ш |
500 |
1 |
1356 |
13,29 |
|
11.
|
АСО |
500 |
2 |
1446 |
14,18 |
|
12.
|
Ш |
500 |
2 |
900 |
8,83 |
|
13.
|
АСО |
500 |
3 |
2183 |
21,4 |
|
14.
|
Ш |
500 |
3 |
938 |
9,20 |
|
15.
|
АСО |
600 |
1 |
1659 |
16,27 |
|
16.
|
Ш |
600 |
1 |
1196 |
11,73 |
|
17.
|
АСО |
600 |
2 |
1426 |
13,97 |
|
18.
|
Ш |
600 |
2 |
1147 |
11,25 |
|
19.
|
АСО |
600 |
3 |
1422 |
13,95 |
|
20.
|
Ш |
600 |
3 |
933 |
9,74 |
На основе
полученных экспериментальных результатов измерения микротвердости покрытий
построены эмпирические модели зависимости этого показателя от температуры и продолжительности
воздушно-термического оксидирования.
Согласно
проведенному моделированию, микротвердость оксидированных танталовых образцов,
предварительно прошедших абразивно-струйную обработку поверхности, имеет наибольшие
значения при продолжительности оксидирования 2,6-3 ч и температуре от 500 до
550 oС, а наименьшие значения – при продолжительности 1-2,2 ч и температуре
400 oС (рис. 2).

Рис. 2. Зависимость микротвердости
оксидных покрытий, полученных на предварительно обработанных абразивно-струйным
методом поверхностях тантала, от режимов
воздушно-термического оксидирования
Уравнением этой модели является следующее выражение:
Y = a+b×ln(x1)+c×x2+d×ln(x1) 2+e×x22+f×ln(x1)×x2,
где: x1 – температура оксидирования (T, oС); x2 – продолжительность
обработки (t, h); латинские буквы обозначают
весовые коэффициенты уравнения (a = -4624,46; b= 1475,07; c = 54,34; d = -116,89; e = 3,28; f = -10,72).
Из эмпирической модели для оксидированных образцов
тантала, поверхность которых предварительно подвергалась шлифованию, видно, что
максимальное значение микротвердость принимает при продолжительности нагрева от
1 до 1,2 часов и температуре 500-550 oС, а свое минимальное значение
– при продолжительности от 1 до 2 часов и температуре 400-460 oС (рис.
3).

Рис. 3. Зависимость микротвердости
оксидных покрытий, полученных на предварительно обработанных точением и шлифованием поверхностях тантала, от режимов
воздушно-термического оксидирования
Уравнением этой модели является следующее выражение:
Y = a+b/x1+c×x2+d/x12+e×x22+f×x2/x1,
где весовые коэффициенты уравнения равны a = 18,05; b= 14274,38;
c = -
19,48; d = -7160000,00; e = 2,06; f = 5439,47.
Из полученных результатов следует, что предложенный
способ позволяет формировать оксидные покрытия на предварительно обработанном
методом АСО тантале с величиной микротвердости до 21,4±0,5 ГПа, что
свидетельствует о существенном повышении механической прочности термически
модифицированной поверхности относительно исходной.
На основании проведенных исследований было
установлено, что для формирования покрытий с повышенной микротвердостью (до
21,4±0,5 ГПа) необходимо предварительно обрабатывать поверхность тантала
абразивно-струйным методом с использование корундовых частиц дисперсностью
100-150 мкм в течение 1-2 мин. Такая подготовительная технологическая операция
обеспечивает предварительное упрочнение поверхностного слоя металла путем
наклепа и создает множество химически активных локальных микродеформаций,
являющихся зонами усиленного реакционного взаимодействия с кислородом воздуха
при оксидировании. Рациональными режимами термического оксидирования тантала
являются температура в печи, равная 500 oС, и продолжительность процесса,
составляющая 3 ч.
Литература
1. Омарова Д. К. Применение тантала и
производство мировой танталовой продукции (обзор) // Бюллетень
Восточно-Сибирского научного центра Сибирского отделения Российской академии
медицинских наук. 2012. №. 1. С. 143-148.
2.
Cardonne S. M. et al. Tantalum and its alloys // International Journal of Refractory
Metals and Hard Materials. 1995. V.
13. №. 4. рр. 187193-191194.
3. Родионов И.В., Бутовский К.Г. Коррозионное поведение оксидных биопокрытий
костных титановых имплантатов, получаемых паротермическим оксидированием // Технологии
живых систем. Т.3, №5-6, 2006. С. 74-78.
4. Родионов И.В., Бутовский К.Г.
Основные функциональные свойства парооксидных биопокрытий костных титановых
имплантатов // Инженерная физика. №5, 2006. С. 37-46.
5. Родионов И.В.,
Ромахин А.Н., Фомин А.А., Пошивалова Е.Ю., Кошуро В.А. Исследование
механических характеристик пленочных оксидных структур, получаемых на стальных
(12Х18Н9Т) подложках методом газотермического оксидирования / Materials of the XI International scientific and practical conference «Science without borders». Sheffield, England:
Science and Education Ltd. 2015. Vol. 21 (Physics). pp.
57-63.
6. Елшина Л. А. и др. Образование
тонких оксидных покрытий и нанопорошков оксидов при анодном оксидировании
металлов в расплавленных солях // Журнал неорганической химии. 2008. Т. 53. №.
4. С. 594-600.