ВЛИЯНИЯ ЭЛЕКТРОМАГНИТНЫХ ПОЛЕЙ И ПОЛИМЕРНЫХ ПРИСАДОК
НА ТЕКУЧЕСТИ ВЫСОКОВЯЗКИХ МЕСТНЫХ НЕФТЕЙ
А.Б.Набиев1, С.А.Абдурахимов2
1 – НамГУ, 2
– Ташкентский ВИПИ
baron_3993@mail.ru
Известно, что поиск новых эффективных способов
повышения текучести высоковязких нефтей остается актуальной задачей. Учитывая это, нами используя присадкой
технического хлопкового фосфотидного концентрата (ТХФК) и
электромагнитную обработку высоковязких нефтей разработан
комбинированный способ их совместного
применения перед транспортировкой высоковязких нефтей по
трубопроводу.
При этом
использование электрического
метода способствует частичному регулированию реологических свойств высоковязких нефтей до их транспортировки. Суть данного метода
заключается в том, что в таком поле в областях частот, совпадающих с
собственными частотами вращения дипольных моментов жидкости, возникает
магнитореологический эффект, которой проявляется в значительном как в увеличении,
так и в уменьшении эффективной вязкости в зависимости от направления и
интенсивности поля.
В
данной работе исследовались частотной зависимости электромагнитного воздействия на реологических свойств различных местных нефтей.
Для исследования комбинированного способа
обработки высоковязких местных
нефтей с использованием ТХФК
и электромагнитного
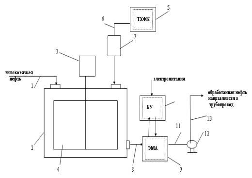
воздействия нами создана технологическая установка , схема
которой представлена на рис. 1

Рис.1.
Технологическая установка для комбинированной
обработки высоковязкой нефти с использованием присадки ТХФК и высокочастотного
электромагнитного воздействия перед его
транспортировкой по трубопроводу
Данная
установка функционирует следующим образом: в сборник 2 по линии 1 подается
высоковязкая нефть. Из емкости 5
присадка ТХФК по линии 6 с помощью
дозатора 7 поступает в емкость 2, где перемешивание смеси
нефти с присадкой
осуществляется с помощью двигателя 3
и мешалки 4. Из сборника 2 смесь
проходит по линии 8 через
электромагнитный аппарат (ЭМА) 9, который
управляется блоком
управления (БУ) 10. Омагниченная смесь нефти
с присадкой ТХФК по линии 11 с помощью насоса 12 направляется в трубопровод 13 .
Используя
данную установку нами обработаны
следующие виды образцов местных нефтей (табл. 1).
Таблица 1
Физико-химические показатели
высоковязких местных нефтей
|
Наименование показателей нефти |
Наименование месторождений нефти |
|||
|
Миршади |
Андижан |
Южный Аламышик |
Кокдумалак (контроль) |
|
|
Плотность при 200С, кг/см3 |
0,961 |
0,858 |
0,849 |
0,873 |
|
Температура застывания,0С |
+4 |
+7 |
+5 |
-10 |
|
Содержание, % |
|
|
|
|
|
-парафина |
8,8 |
13,4 |
21,3 |
3,8 |
|
-смол |
38,7 |
8,6 |
10,3 |
4,7 |
|
-асфальтенов |
8,35 |
1,5 |
0,6 |
2,9 |
|
-серы |
3,4 |
0,3 |
0,2 |
8,1 |
Из табл.1 видно,
что первые три вида нефтей (месторождений
Миршади, Андижан и Южный Аламышик) относятся к парафинистым и
высокопарафинистым нефтям, по сравнению с нефтью месторождения Кокдумалак
(контроль). Причем, в этих образцах также содержатся значительное количество
(более 8,6%) смол. Температура застывания данных нефтей находится в пределах
(+4)- (+7)0С.
Следовательно, высокое содержание парафинов и
смолисто-асфальтеновых веществ в местных нефтях (кроме, нефти месторождения
Кокдумалак) склонно к межмолекулярным взаимодействиям и образованию осадка в
виде твёрдой фазы. При транспортировке такой нефти или ее смесей производительность
нефтепроводов будет снижаться вследствие образования слоев, границы которых
зависят от их коллоидно-дисперсного
состояния [1,2].
Нами исследованы реологические свойства данных
нефтей на ротационном вискозиметре
«Реостат-2.1» при температурах 20-800С и скоростях сдвига 2-1312 с-1.
При этом количество добавляемой присадки ТХФК составляло
500 г/т , а частота
электромагнитного воздействия изменнялось в
интервале от 1-50 МГц, а тагже, влияние комбинированной обработки высоковязких
нефтей месторождений «Андижан» и «Южный Аламышик» на их вязкость при различных
температурах.(табл.2).
Изменения
вязкости (μ) от температуры (t) нефтей
месторождений «Андижан» и «Южный Аламышик» до и после их электромагнитной
обработки (при скорости сдвига Dr=1312 с-1)
Таблица 2
|
Температура, 0С |
Вязкость нефти (μ) .μ Па.с |
|
|
месторождения «Андижан» |
месторождения «Южный Аламышик» |
|
|
до магнитной обработки |
||
|
40 |
22,7 |
29,6 |
|
50 |
15,2 |
18,3 |
|
60 |
11,5 |
15,4 |
|
70 |
6,0 |
7,5 |
|
После высокочастотной электро магнитной
обработки при 30 МГц |
||
|
40 |
17,8 |
23,0 |
|
50 |
12,5 |
14,2 |
|
60 |
9,0 |
11,5 |
|
70 |
5,6 |
5,9 |
Из табл.2 видно, что наибольший эффект снижения
вязкости местных нефтей достигается при более низких температурах (40-500С).
Вероятно, высокочастотная электромагнитная обработка в интервале частот 13--
30МГц способствует разрушению возбужденных структурных образований
неньютоновских нефтей и уменьшению вследствие этого их вязкости. При пониженных
температурах парафин входит в состав ассоциатов нефти, а при диэлектрическом нагреве выходит из их состава в отдельную
фазу вследствие разрушения ассоциатов. При этом влияния частотных значений на текучести нефтей оказались наиболее эффектными при частотах –30
МГц
2 1
МГц
Рис. 2.
1-для Аламышикской нефти при 40 0С; 2-для Андижанской нефти при
40 0С.
Как видно из рис. 2 при – 30 МГц наблюдается оптимальное
снижение вязкости.
Дальнейшие исследования показали, что при 60-80 0С
магнитное поле практически не влияет на энергии активации вязкого течения нефти
месторождения «Андижан», которое равно 21 кДж/моль. Это энергия необходимая для
физических взаимодействий.
Таким образом, проведенное исследования показали, что
для повышения текучести местных высоковязких нефтей целесообразно и
эффективно использовать комбинированный
способ, предусматривающий совместное
использование предлагаемой присадки ТХФК в количестве до 500 г/т и высокочастотную электромагнитную их
обработку при 13-30 МГц.
Литература.
1.
Набиев А.Б., Абдурахимов
С.А. Оценка влияния электромагнитного воздействия на реологические показатели
нефти. Научн.-техн. Журн. Воронеж, 2011, №2, С 50-53.
2.
Набиев А.Б., Абдурахимов
С.А. Научные основы прогнозирования качества нефтесмесей, поступающих на
промышленную переработку. Сб.матер. Респ. Научн.-техн. конф. «Достижения и
перспективы комплексной химической переработки топливно-минерального сырья
Узбекистана», Ташкент, 2008, с.143-145.