Строительство и архитектура/7.Водоснабжение и канализация

 

 

Д.т.н.Васильев А.Л., д.т.н. Васильев Л.А., к.т.н. Казаков Г. М.,

вед. инженер  Бокова И.В.

 

Нижегородский государственный архитектурно-строительный

университет, г. Нижний Новгород

 

технология водоподготовки

с использованием

 биологической предочистки и озонирования.

Методика  расчета оптимальных  режимов

 

Фито- и зоопланктон (гидробионты), содержащийся в природной воде, существенно влияет на работу водопроводных очистных сооружений. Их наличие ухудшает качество исходной воды, осложняет работу очистных сооружений в период  вегетации, отрицательно влияет на здоровье человека. Однако, в технологиях водоподготовки можно успешно использовать способность гидробионтов поглощать (аккумулировать) растворенные в воде загрязнители природного и антропогенного происхождения.

На кафедре водоснабжения и водоотведения Нижегородского государственного архитектурно-строительного университета проведены исследования аккумулирующей способности гидробионтов, изучено  влияние на их жизнеспособность различных факторов. Полученные результаты позволили  разработать устройства биологической предочистки воды поверхностных водоисточников и высокоэффективную экологически безопасную технологию получения питьевой воды с использованием озона и устройств биологической предочистки [1,2]  (рис.1).

Технология включает обработку озоном, отстаивание, фильтрование и обеззараживание. Наибольший эффект при очистке воды достигается при использовании объемных носителей биоценоза, поддержании скорости потока воды на уровне 0,5 – 0,6 м/с и содержании остаточного озона в воде  0,05 мг/л. Во всех опытах качество воды удовлетворяло требованиям СанПиН 2.1.4.1074-01. Следует отметить, что качество воды обеспечивается даже при низких ее температурах (2 – 3°С), что важно в условиях средней климатической полосы.

 

 

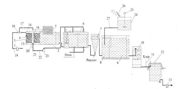
Рис. 1.  Технологическая схема обработки воды с использованием

 биологической предочистки и озонирования

 

1 - насосная станция первого подъема; 2 - микрофильтр;  3 - приемный канал микрофильтра; 4 - элемент наживления биоценоза; 5 - фильтрующий барабан; 6 - контактная камера первичного озонирования; 7 - смеситель, 8 - камера хлопьеобразования; 9 - горизонтальный отстойник; 10 - скорый безнапорный фильтр; 11 - трубопровод подачи хлора; 12 - резервуар чистой воды; 13 -  насосная станция второго подъема; 14 - верхняя щелевая перегородка; 15 - нижняя щелевая перегородка; 16 - центральная труба;   17 - отводящий патрубок; 18 - эжектор; 19 - подводящий трубопровод; 20 - направляющий козырек; 21 - распылительная насадка; 22 - воздухопровод; 23 - компрессор;         24 - емкость для приготовления угольной пульпы; 25 - механическая мешалка; 26 - ввод активированного угля; 27 - трубопровод подачи угольной пульпы в камеры хлопьеобразования

 

 

Эти устройства могут быть рекомендованы как самостоятельный важный этап предварительной очистки воды. Разработанная технология технология может быть использована для крупных городов и малых населенных пунктов.

Авторами разработана методика расчетов оптимальных режимов  водоподготовки для технологии с использованием биологической предочистки и озонирования, которая позволяет определять оптимальные режимы водоподготовки [3].

При разработке методики для очистки воды поверхностных источников рассматривается многоступенчатая технология [4], первой ступенью которой является очистка природной воды от загрязнений естественным биоценозом. В качестве элементов наживления естественного биоценоза используется полимерный материал, на котором осаждаются гидробионты, поглощающие из воды, растворенные органические загрязнения, ионы тяжелых металлов и другие загрязнения. Перед элементами наживления подается озоно-воздушная смесь с дозой остаточного озона 0,05 мг/л, которая способствует образованию крупных конгломератов из частиц биоценоза и обеспечивает более эффективную работу микрофильтра. Для интенсификации нарастания биоценоза осуществляется рециркуляция части воды.

Каждый компонент загрязнения, входящий в природную воду, участвует в микроскопическом (молекулярная диффузия) и в  макроскопическом (конвекция) массопереносе в биопоглотителе и частично поглощается биоценозом обрастания.  Методика расчетов основана на определение полей концентраций загрязнений природной воды в биопоглотителе. Расчеты позволят определять потоки субстанций загрязнения и проектировать эффективные установки для очистки природной воды.

Баланс массы  i-того компонента (i=1,2,3,….,n), где n-число компонентов загрязнений, входящих в воду)  в бесконечно малом объеме dV секции биоценоза. В декартовой системе координат на входе в биопоглотитель -  ось – направление течения воды; dMiy  и dMiy+dy –бесконечно малые массы  i-того компонента, вносимые и выносимые  в направлении оси 0у в элементарный объем dV за время ;  dMiz и dMiz+dz - бесконечно малые массы  i-того компонента, вносимые и выносимые  в направлении оси 0z в элементарный объем dV за время .

По закону Фика массы  суммарного переноса:

                                    .                            (1)

где ci –концентрация i-того компонента,  – скорость течения воды, Di – коэффициент диффузии i-того компонента.

Проекции переносимой массы являются непрерывными функциями координат, их можно разложить в ряд Тейлора в окрестности точек x, y, z и, в силу малости dx, dy, dz, ограничиться в этих разложениях линейными приближениями:

…; …;                                                                                                (2)

Здесь mix, miy, miz, mix+dx, miy+dy, , miz+dz  проекции плотности потока массы i-того компонента на оси ,  и 0z соответственно в точках x, y, z, x+dx, y+dy, z+dz.                                

Разности вытекающих и втекающих в объем dV масс i-того компонента по направлениям x,y,z  - dMi1; dMi2; dMi3. Суммируя эти разности, получим превышение вытекающей массы i-того компонента из объема dV над втекающей массой:

    .           (3)

Если плотность внутреннего стока массы i-того компонента за счет поглощения его биоценозом обрастания равна miV , то уменьшение массы  i-того компонента воды в объеме dV за время составит                                         ,тогда суммарное уменьшение массы i-того компонента воды в объеме dV за время составит:

      .         (4)

По закону сохранения массы это приведет к уменьшению концентрации i-того компонента в объеме dV :

                            .                                                 (5)

 Приравнивая соотношения (4) и (5), получим:

                 .                                        (6)

Проекции векторного уравнения (1) на оси координат 0x, 0y, 0z имеют вид:

; ; .

Подставляя проекции векторного уравнения (1) на оси координат 0x, 0y, 0z в уравнение (6), получим:

              где оператор Лапласа.

Выражение в первых квадратных скобках правой части уравнения (7) равно нулю, так как является уравнением неразрывности для несжимаемой жидкости, поэтому окончательно дифференциальное уравнение закона сохранения массы i-того компонента можно записать в виде:

                .                  (8)

Безразмерные координаты, проекции скорости, концентрации i-того компонента имеют вид:

 

 Размерные величины, выраженные через безразмерные:

           Подставив их в уравнение (8), получим:

            ,           (9)

где - безразмерное время или диффузионное число Фурье,  диффузионное число Пекле, безразмерная плотность внутреннего стока массы i-того компонента.

Коэффициенты диффузии компонентов водных растворов Di≈10–9 м2/сек, поэтому для нашего случая число Пекле Pe≈108, поэтому в направлении течения пренебрегаем массопереносом диффузией по сравнению с массопереносом конвекцией. В этом случае уравнение (9) можно записать в виде:

                                  (10)

Считаем, что течение воды через материал секции биоценоза имеет «поршневой» характер, тoгда при Wx=1; Wy=Wz=0:

                                                                           (11)

Начальные и граничные условия: Fo=0; X›0; Ci =0; X=0; Fo›0; Ci =1.

Для стационарного процесс переноса уравнение (11) принимает вид:

                                                                                     (12)

Биохимические реакции, протекающие на поверхности растущего биоценоза отнесены к гетерогенным химическим реакциям [5], поэтому в уравнение для скорости реакции входят концентрации только тех веществ, которые находятся в растворе. Скорость реакции прямо пропорциональна концентрации исходного вещества, поэтому для размерного внутреннего стока массы i-того компонента воды:

                              ,                                                   (13)

Постоянные коэффициенты γi, βi для каждого i-того компонента воды определяются опытным путем. Уравнение (12) при граничном условии  х=0;сi =ci0  в размерном виде имеет вид:

                                                                              (14)

Решение этого дифференциального уравнения с применением преобразование Лапласа по переменной х и дифференцируя его при x=L по w0  и при w=0,6 м/сек,  один из коэффициентов можно выразить в виде:

                                                                      (15)                                             

  Тогда при  x=L и w0=w, получим:

                                                                 (16)

Трансцендентное уравнение (16) для каждого из показателей качества воды, решаются числено относительно γ,, и  подставляются в формулу (15) для нахождения коэффициентов βi. Сравнение экспериментальных и расчетных данных показывают, что полученные уравнения дают возможность с высокой степенью достоверности проводить теоретические расчеты оптимальных режимов очистки воды в биопоглотителе.

 

Литература

 

1. А. с. 1832119 РФ, С 02/00. Установка для очистки природных вод и способ его осуществления / В. В. Найденко, Л. А. Васильев, А. Л. Васильев,   Е. А. Дергунов. Заявл. 17.06.91; опубл. 0.7.08.93. Бюл. № 29.

2. Васильев, А. Л. Биологическая предочистка в технологиях водоподготовки для питьевых целей : Монография.  / А. Л. Васильев, Л. А. Васильев, И.В.Бокова /    Н.Новгород. ННГАСУ.  2011. – 118 с.

3. Васильев, А. Л. Теоретические основы процесса очистки воды поверхностных источников с использованием аккумулирующей способности гидробионтов / А. Л. Васильев, Л. А. Васильев, Казаков Г.М., И. В. Бокова // Приволжский научный журнал / Нижегор. гос. архитектур.–строит. ун–т. – Н. Новгород, 2010. – № 4. – С. 98105.

4.А.с. №1162754 СССР, С 02 F 9/00 Способ очистки природных вод и установка для его осуществления / В.В. Найденко, Л.А. Васильев, Л.С. Зюряева, В.А. Вифлиемская, А.Д. Жмудь, А.М. Локасев //  Открытия и изобретения. - 1985.- №23.

5. Глинка Н. А. Общая химия. / Н. А. Глинка // Л., «Химия», 1963.