Инж. Автушко П. А., д.т.н. Ивашечкин В. В.

Белорусский национальный технический университет

Технология текущего ремонта скважин, оборудованных

затрубными системами регенерации

В процессе эксплуатации водозаборных и дренажных скважин их производительность неизбежно снижается. Это связано в первую очередь с зарастанием водоприемной поверхности фильтров кольматирующими отложениями. Оборудование дренажных и водозаборных скважин затрубными системами регенерации может существенно увеличить их сроки службы. Такие системы обеспечивают доступ в прифильтровую зону, тем самым открывая ряд возможностей для проведения эффективных ремонтных мероприятий. Конструктивно затрубная система регенерации скважин представляет собой 4-6 нагнетательные трубки малого диаметра, перфорированные напротив фильтра, которые устанавливают на границе гравийной обсыпки скважины еще на этапе ее бурения. Для регенерации скважин, оборудованных такими системами, в настоящее время предложены два основных способа: способ безреагентной гидродинамической промывки и способ циркуляционно-реагентной промывки.

На начальных этапах эксплуатации водозаборов подземных вод, когда кольматант имеет рыхлую структуру либо когда кольматирующие осадки представлены желе- и пастообразными отложениями и не обладают достаточной механической прочностью,  возможно применение способа безреагентной гидродинамической промывки, когда в затрубную системы подают чистую воду и откачивают скважинным насосом размытые фильтрационным потоком отложения на выброс. Такой способ отличается простотой и удобством, т.к. не требует применения дорогостоящих реагентов и технологического оборудования специального исполнения. Для длительно эксплуатирующихся скважин, когда кольматант уже приобрел прочную сцементированную структуру, рекомендуется применение способа циркуляционно-реагентной промывки. Такой способ основан на применении реагентов и предполагает непрерывную их закачку в затрубную систему с одновременной откачкой продуктов растворения из ствола скважины.

Гидродинамическая и циркуляционно-реагентная промывка фильтров скважин с помощью затрубной системы регенерации может осуществляться по всей длине фильтра одновременно или по интервалам. Для повышения эффективности растворения плотных сцементированных осадков реагентами возможно также проведение предварительных импульсных обработок.

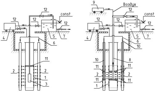
Промывка таких скважин одновременно по всей длине фильтра осуществляется с помощью водоподъемного оборудования (погружного насоса, эрлифта или гидроэлеватора), установленного в стволе скважине. Технологическая схема с применением погружного насоса представлена на рисунке 1а.

 

а)                                                              б)

1 – фильтр скважины, 2 – затрубная система регенерации, 3 – погружной насос, 4 – насос системы промывки, 5 – емкость, 6 – распределительная система, 7 – слив, 8 – эрлифт, 9 – компрессор, 10 – заливочная труба,

11 – уплотнительная манжета (пакер), 12 – задвижка

Рисунок 1 - Технологические схемы промывки скважин, оборудованных затрубными системами регенерации: а) регенерация по всей длине фильтра одновременно; б) поинтервальная регенерация.

Промывка осуществляется следующим образом. В скважину устанавливают погружной насосный агрегат 3. Между фильтровой и надфильтровой зонами скважины для разрыва их гидравлической связи устанавливают пакер 11. Затем на поверхности собирают установку для промывки скважины, включающую насос 4, емкостью 5 и систему трубопроводов с арматурой 12. Далее с помощью распределительной системы 6 собранную установку подключают к циркуляционным трубкам. После включения насоса 4 в работу в циркуляционные трубки из емкости 5 начинает поступать реагент (чистая вода), который, пройдя закольматированную гравийную обсыпку, откачивается из-под пакерного пространства насосом 3 назад в емкость 5, откуда снова подается в циркуляционные трубки насосом 4. При равенстве расходов закачки и откачки происходит циркуляция в прифильтровой зоне скважины, что является необходимым условием для проведения промывки с использованием реагентов. При безреагентной гидродинамической промывке возможно различное соотношение между расходами откачки и закачки.

Технологическая схема регенерации фильтра скважины по всей его длине имеет некоторые недостатки. При обработке скважины с фильтром значительной длины потребуется применения довольно мощного технологического оборудования, что не всегда оправдано по условиям удобства производства работ и с экономической точки зрения. При такой промывке может происходить неравномерная декольматация отложений в прифильтровой зоне, что связано с характером естественной кольматации. При промывке фильтрационный поток будет устремляться к наиболее проницаемым участкам зафильтрового пространства, в результате чего обработке не будут подвергнуты  наименее загрязненные участки прифильтровой зоны. Поэтому схема регенерации фильтра скважины по всей его длине рекомендуется к применению на скважинах, незначительно снизивших свой дебит в процессе эксплуатации и имеющих относительно небольшую длину водоприемной части.

Для регенерации скважин с затрубными системами, оборудованных фильтрами значительной длины, а также для скважин, длительно находящихся в эксплуатации без ремонтных мероприятий, целесообразно применять технологическую схему поинтервальной обработки с использованием пакеров и заливочных трубок с уплотнительными манжетами (см. рис.1,б.). Это позволяет применять менее мощное и энергоемкое технологическое оборудование и обеспечивает условия для более равномерной и качественной декольматации фильтра. Откачка воды или раствора реагента при такой обработке осуществляется с помощью погружного насоса, эрлифта или гидроэлеватора, установленного в скважине. Процесс регенерации заключается в следующем. На водоподъемной колонне эрлифта 8 устанавливаются горизонтальные уплотнительные манжеты (пакеры) 11, которые выделяют обрабатываемый интервал фильтра скважины 1. Подача реагента (чистой воды) из емкости 5 в затрубную систему регенерации 2 производится с помощью заливочных трубок 10, которые оснащены уплотнительными манжетами 11. Шаг и место расположения уплотнительных манжет 11 на заливочных трубках 10 и водоподъемной колонне эрлифта 8 совпадают, что обеспечивает движение фильтрационного потока только в заданном интервале фильтра. Сам процесс поинтервальной промывки аналогичен процессу регенерации фильтра по всей его длине, описанному выше. Обработка в одном интервале повторяется до тех пор, пока не стабилизируется нагрузка на электродвигателе насосного агрегата 4, контролируемая показанием амперметра (на схеме условно не показан). Далее производят перемещение заливочных трубок 10 и водоподъемной трубы эрлифта 8 в следующий интервал закольматированного фильтра 1. По завершению обработки всего фильтра выполняется прокачка скважины.

Предложенные способы регенерации водозаборных и дренажных скважин были исследованы теоретически, а также в лабораторных и натурных условиях. Результаты исследований подтвердили их эффективность, поэтому скважины с затрубными системами регенерации могут быть рекомендованы к широкому внедрению в производство.