Технические
науки/8.Обработка материалов в машиностроении
Д.т.н. А.Е. Михеев, В.А.
Харламов, С.Д. Крючек, А.А.Чернятина,
И.И. Хоменко
Сибирский государственный аэрокосмический университет
имени академика М. Ф. Решетнева, Россия,
Красноярск
Исследование состава остаточного и плазмообразующего газов в
камере установки вакуумного напыления
Процессы распыления мишени и конденсации
покрытия происходят в газовой среде, содержащей компоненты остаточной атмосферы
вакуумной камеры. В состав остаточной атмосферы за счет натекания, десорбции со
стенок и газовыделения из напыляемых деталей или образцов входят различные, в
т.ч. химически активные газы – вода, азот, кислород, углеводороды, водород, диоксид
углерода. Относительные количества перечисленных компонентов зависят от
множества факторов. В лабораторном и производственном оборудовании, работающем
в вакууме не выше 10-4 Па, сумма парциальных давлений воды, азота и
кислорода составляет обычно большую часть от давления остаточного газа [1].
Степень загрязнения плазмообразующего газа будет зависеть от давления
остаточного газа, характерного для каждой вакуумной камеры с учетом ее
предыстории до напыления, свойств и количества загруженных для напыления
изделий и рабочего давления плазмы в процессе распыления мишеней. Типичные
давления процесса магнетронного напыления алюминия на детали из углепластика:
давление остаточного газа (1 – 10)х10-4 Па, рабочее давление плазмы
0,07 – 0,2 Па. Следовательно, можно ожидать объемное содержание примеси (в т.ч.
химически активных газов) от 0,05 до 1,5 %. Вовлекаемые в рабочую зону
плазменного распыления эти активные компоненты атмосферы камеры будут создавать
химические соединения: оксиды, нитриды, карбиды с материалом мишени, которые
могут значительно изменить свойства напыляемых покрытий [2].
Анализ состава остаточного и плазмообразующего
газов провели в камере вакуумной установки АРМ НТП, использованной в разработке
технологии напыления многослойного радиоотражающего покрытия. Схема установки
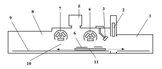
показана на рисунке 1.
Основное назначение установки
– осаждение многослойных тонкопленочных покрытий на поверхность различных
подложек, обработка образцов материалов потоками ионов, проведение
ионно-плазменных исследований для научных целей, а также отработка
технологических процессов напыления покрытий различного назначения.

1 – шлюз; 2 – вакуумный
затвор; 3 – ионный источник с замкнутым дрейфом электронов; 4, 7 – блок
магнетронов, 5 – источник газовых ионов с высокой энергией; 6 – ограничивающая
щель; 8 – реверсивная камера; 9 – рельсы; 10 – рабочая камера; 11 – стол
системы перемещения.
Рисунок
1 - Схема вакуумной камеры установки АРМ НТП
Камера установки АРМ НТП
состоит из шлюзовой и рабочей камер. Рабочая камера предназначена для
проведения процессов магнетронного напыления и плазменной обработки образцов. В
рабочей камере установлены магнетроны и ионные источники, системы возвратно-поступательного
и вращательного перемещения подложек, экраны для ограничения зоны распыления
мишеней магнетронов. Камеры откачиваются механическими и турбомолекулярными
насосами.
Рабочая камера установки имеет большую площадь
внутренних поверхностей и в процессе напыления покрытий на стенках камеры,
экранах и деталях оснастки осаждаются конденсаты распыляемых материалов. При
замене мишеней, проведении регулировок и др.работах внутрь камеры напускается
атмосфера. Это приводит к тому, что конденсаты на внутренних поверхностях
камеры становятся источником поступления в откачиваемый объем газов: воды,
компонентов атмосферы: азота, кислорода, углекислоты, а так же газов,
выделявшихся подложками в процессе предварительной обработки и напыления.
В процессе подготовки установки АРМ НТП к
отработке технологии напыления радиоотражающих покрытий на основе алюминия
проведены работы по очистке внутренних поверхностей камеры, экранов и
внутрикамерной оснастки от конденсатов и др. загрязнений с окончательной
протиркой поверхностей нефрасом и этиловым спиртом.
Для контроля состава остаточного газа на один из
свободных фланцев был установлен квадрупольный масс-спектрометр HPQ-2S.
Прибор обеспечивает регистрацию масс-спектров в диапазоне от 1 до 100 а.е.м.
при максимальном рабочем давлении до 1 Па.
Спектры масс камеры были сняты до проведения
работ и после проведения монтажа необходимых мишеней в магнетроны и чистки
экранов и стенок камеры, в процессе напуска в камеру аргона ГОСТ 10157-79
(высший сорт) для создания плазмообразующей среды.
Масс-спектры остаточного газа после откачки
камеры до вакуума 1,5х10-4 Па и плазмообразующего газа при напуске
аргона, показаны на рисунках 2 и 3, соответственно.

Рисунок 2 - Масс-спектр остаточного газа
после откачки камеры АРМ НТП до предварительного высокого вакуума.

Рисунок 3 - Масс-спектр плазмообразующего
газа в камере АРМ НТП в процессе напуска аргона.
Расшифровка масс-спектра показывает, что
основными компонентами остаточного газа являются вода (пики 16, 17 и 18),
парциальное давление 1,2х10-4 Па, азот (пики 28 и 14), парциальное
давление 2,2х10-5 Па, кислород (пики 32 и 16), парциальное давление
4,5х10-6 Па, легкие углеводороды (пики 26, 27, 29, 30 и 31) с суммарным
парциальным давлением 1х10-5 Па, а так же водород, гелий, углерод и
фрагменты углеводородов с суммарным парциальным давлением 1х10-6 Па.
После напуска в камеру аргона (массы 40 и 20) до
давления 1х10-2 Па, давления компонентов остаточного газа (включая
примеси в аргоне) составили: вода (пики 16, 17 и 18), парциальное давление 2х10-5
Па, азот (пики 28 и 14), парциальное давление 2х10-5 Па, кислород
(пики 32 и 16), парциальное давление 6х10-7 Па, углеродсодержащие
соединения (пики 15, 19, 21, 26, 27, 29, 35, 36, 37, 38, 39, 41- 44) с
суммарным парциальным давлением 2,7х10-4 Па. Давления изотопов
аргона Ar36 и Ar38 с массовыми числами 36
и 38 из этой суммы исключены. Так же в расчет не брали компоненты с
парциальными давлениями от 1х10-6 Па и менее. В результате получено
суммарное содержание примесей в плазмообразующем газе 2,9 %, в том числе воды и
кислорода 0,2 %. При дальнейшей откачке камеры до рабочего давления 0,1 Па
относительное содержание примесей пропорционально уменьшается до 0,3 %, в том числе
воды и кислорода 0,02 %.
Для сравнения, в применяемом аргоне высшего
сорта по ГОСТ 10157-79, содержание примесей: кислород – не более 0,0007 %, азот
– не более 0,005 %, вода – не более 0,0009 %, углеродсодержащие соединения – не
более 0,0005 %, при содержании аргона – не менее 99,99 % [3]. Следовательно,
содержание воды и суммы примесей в плазмообразующем газе более, чем на порядок
превышает допускаемый ГОСТом объем примесей в применяемом для напуска аргоне.
Анализ приведенных масс-спектров показывает следующее:
после проведения чистки внутренних поверхностей и откачки камеры до высокого
вакуума, в остаточном газе камеры и в плазмообразующем газе остается
относительно большое количество химически активных газов: воды (массы 16, 17,
18), кислорода, азота, углеводородов (массы 32,16, 28, 14, 12, 24 и др.).
Большое содержание углеродсодержащих газов показывает на присутствие остатков
использованных растворителей, сорбированных в резиновых уплотнителях, зазорах
оснастки и в др. элементах камеры.
Для уменьшения загрязнения плазмообразующей
атмосферы камеры и повышения чистоты состава и свойств покрытий, потребуются
дополнительные меры по очистке и обезгаживании поверхностей камеры от остатков
влаги и углеродсодержащих соединений.
Содержание компонентов остаточного газа камеры в
плазмообразующем газе при магнетронном напылении может значительно превышать
содержание примесей в аргоне ГОСТ 10157-79 марки «высший сорт», используемом
для напуска в камеру.
Для обеспечения минимального загрязнения
напыляемого покрытия необходимо принятие мер по тщательной очистке и
обезгаживании поверхностей камеры от остатков влаги и углеродсодержащих
соединений.
Перед началом проведения отработки напыления
покрытий целесообразно проводить масс-спектрометрический контроль остаточного и
плазмообразующего газов.
Литература:
1.
Холлэнд Л. Нанесение тонких пленок в
вакууме. Пер. с англ. М. Госэнергоиздат. 1962, 608 с.
2. Палатник Л.С., Сорокин В.К. Материаловедение в
микроэлектронике. – М.: Энергия, 1977. – 280 с.
3. ГОСТ 10157-79 Аргон газообразный и жидкий.
Технические условия.