Царикаева М.С., Маргиев Б.И., Царикаев В.К.
Повышение
безопасности горных автомобильных дорог
Повышение безопасности функционирования таких
горных дорог, как Транскавказская
автомобильная магистраль, является актуальной задачей. Для решения этой задачи
нами, в соавторстве с сотрудниками Северо-Кавказского горно-металлургического
института (ГТУ), разработана серия лавинозащитных устройств, защищенных
патентами Российской Федерации на изобретения и полезные модели. Часть этих
устройств изображена на рисунках 1-4.
Представленное на
рисунке 1 техническое решение [1]
предназначено для
Рис. 1. Лавинозащитное сооружение:
1-дорожная одежда (объект защиты); 2-лавиноопасные склоны;
3-отстойники лавинных масс; 4-направления движения лавин; 5-отражатель лавинной
массы.
защиты
автомобильной дороги при сходе снежных лавин с двух склонов. Оно позволяет
обеспечить надежную круглогодичную безопасную эксплуатацию горной автомобильной
дороги.
Устройство содержит
дорожную одежду с насыпью 1, основания
лавиноопасных склонов 2, отстойники
лавинной массы 3, направление движения
лавины, показанное стрелками 4,
отражатели лавинной массы 5, изготовленные из железобетона и закрепленные на
стыках отстойников 3. Отстойники могут быть выполнены в виде лотка трапециадальной,
овальной и любой другой формы. Они выполняют функцию ловушки снежной массы,
которая сходит со склонов. Объем отстойников рассчитывается с учетом частоты
схода снежных лавин и количества сошедшей со склонов снежной массы. Проведенный
мониторинг показал, что в зимнее время в среднем сходит около 5 лавин. В случае
необходимости отстойники можно очищать в безопасный период между сходами лавин
от накопившейся снежной массы, используя для этого снегоуборочные машины,
которыми обычно располагает дорожно-эксплуатационное управление, обслуживающее
данный участок дороги.
Предложенная конструкция обладает рядом бесспорных
преимуществ по сравнению с известными лавинозащитными устройствами. В
частности, она значительно надежнее в
эксплуатации. Это, в свою очередь, повышает безопасность дорожного движения в
сложных горных условиях. Окупаемость устройства составляет не более одного
года.
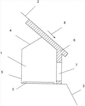
Надежную защиту горной
автомобильной дороги обеспечивает конструкция, представленная на рисунке 2[2]. Она включает галерею 1,
дорожную одежду ( объект защиты) 2, основания лавиноопасных склонов 3 и 4,
направление движения лавин, показанное стрелками 5 и 6 ,
отстойник 7 и отражатель 8. Отражатель
и галерея изготовлены заодно из
железобетона. Отстойник 7 может быть выполнен также в виде лотка
трапециадальной, овальной и любой другой формы. Он выполняет функцию ловушки
снежной массы, которая сходит со склонов 3 и 4.
Объем отстойника рассчитывается с учетом частоты схода снежных лавин и

Рис.2. Лавинозащитное
устройство:
1-галерея; 2-объект защиты; 3и 4 – лавиноопасные склоны; 5 и
6 -направление движения лавин; 7- отстойник лавинной массы; 8 – отражатель.
количества сошедшей со склонов снежной массы.
Данная конструкция обладает теми же преимуществами, что и предыдущее
устройство.
Устройство для защиты от
лавинной массы, показанное на рисунке 3, содержит галерею 1, основание
лавиноопасного склона 2, объект защиты 3. стены галереи 4 и 5, настил для схода
лавин 6, световое окно 7, направление движения лавин 8[3].

Рис.3. Устройство для защиты от
лавинной массы:
1-галерея; 2-лавиноопасный склон; 3-объект защиты; 4 и
5-стены галереи; 6-настил для схода лавин; 7-световое окно; 8-направление
движения лавин.
Внутренние стены галереи покрыты набрызг-бетоном, в верхней внешней
части галереи выполнен бетонный настил с возможностью схода лавинной массы за
пределы устройства, а в нижней наружной части галереи предусмотрены световые
окна по всей ее длине.
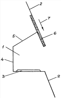
Простая и надежная конструкция противолавинного сооружения дана на
рисунке 4[4]. Основные его элементы: галерея 1, лавиноопасный склон 2, объект
защиты 3, внутренние стены галереи 4 и 5, настил для схода лавинной массы 6.
Стрелкой 7 показано направление движения снежной массы. Стены 4 и 5 покрываются
набрызг-бетоном, настил 6 изготавливается из железобетона. Лавинная масса
сходит по настилу и удаляется за пределы галереи, не повреждая автодорогу.
Рис.4. Противолавинное
сооружение:
1-галерея; 2- лавиноопасный склон; 3- объект защиты; 4 и 5 –
стены галереи; 6 – настил для схода лавин; 7- направление движения лавинной
массы.
В дневное время
автодорога освещается через открытый проем в устройстве.
Литература:
1. Патент на полезную модель Российской
Федерации №135324, МПК E01 F 7/04. Лавинозащитное
устройство/Царикаева М.С., Царикаев В.К., Кортиев Л.И. и др. – Опубл.
10.12.2013, Бюл. №34.
2.Патент на полезную модель Российской Федерации
№136448, МПК E01
F 7/04. Лавинозащитное устройство/ Маргиев Б.И.,
Царикаева М.С., Царикаев В.К. и др. – Опубл. 10.01.2014, Бюл. №1.
3. Патент на полезную
модель Российской Федерации № 133141, МПК E01 F 7/04. Устройство для защиты от лавинной массы/
Царикаев В.К. – Опубл. 10.10.2013, Бюл. №28.
4. Патент на полезную
модель Российской Федерации № 133535, МПК E01 F 7/04. Лавинозащитное устройство/ Царикаев В.К. –
Опубл. 20.10.2013, Бюл. №29.