УДК 629.07.54
В.П. Косова
Національний
технічний університет України «Київський політехнічний інститут імені Ігоря
Сікорського»
ПОПЛАВКОВИЙ ГІРОСКОП УБЕЗПЕЧЕНИЙ ВІД
ЗОН КАУСТИКИ
Пропонуємий захід належить до точного машинобудування, а саме до
поплавкових гіроскопів, і може бути використаним в складі
пілотажно-навігаційного обладнання надводних, підводних апаратів, а також
авіаційної техніки суборбітального і атмосферного призначення, які при льотній
експлуатації підвладні дії проникаючого акустичного випромінювання.
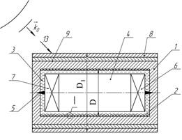
Поплавковий гіроскоп убезпечений від зон каустики (рис. 2) використовується
в складі пілотажно-навігаційного обладнання надводних, підводних апаратів, а
також авіаційної техніки суборбітального і атмосферного призначення, які при
льотній експлуатації підвладні дії проникаючого акустичного випромінювання і
містить циліндричний корпус 1 з циліндричною, діаметром D, порожниною 2, яка частково заповнена важкою
рідиною 3. В порожнині 2 корпусу 1,
розташований герметичний гіровузол 4, який встановлюється на опорах 5 в торцях
корпуса 1 і має датчик кута 6 і датчик моментів 7 для визначення кутової
швидкості літального апарату, на зовнішній частині корпуса 1 розміщено тепловий
кожух 8 діаметра D1. На внутрішній поверхні 9
корпуса 1 рівномірно нанесені з однаковим інтервалом поздовжні 10 і поперечні
11 трикутної форми канавки. Поздовжні 10 і поперечні 11 трикутної форми канавки
(рис. 3) утворять чотиригранні зрізані пірамідки 12 (рис. 4) на поверхні
внутрішньої порожнини корпуса поплавкового гіроскопа убезпеченого від зон
каустики.
Далі сутність конструкції пояснюється відповідним описом та кресленнями,
де: на рис. 1. пояснюється природа виникнення зон каустики у важкій рідині, що
частково заповнює внутрішню циліндричну порожнину корпуса поплавкового гіроскопа
убезпеченого від зон каустики; на рис. 2 схематично зображений заявляємий
поплавковий гіроскоп убезпечений від зон каустики в поздовжньому перерізі; на рис.
3 зображений переріз А-А на рис. 2, фрагмент поверхні внутрішньої циліндричної,
частково заповненої важкою рідиною, порожнини корпуса поплавкового гіроскопа
убезпеченого від зон каустики.



Рис.1 Рис.2 Рис. 3
Робота поплавкового гіроскопа убезпеченого від зон каустики здійснюється
наступним чином. При дії на поплавковий
гіроскоп зовнішнього проникаючого акустичного випромінювання 13, частина його відбивається від поверхні
теплового кожуха 8, а інша частина проходить крізь тепловий кожух 8, попадає на
зовнішню поверхню корпуса 1 і генерує в ньому колові хвилі швидкості V (рис. 1). Внаслідок того, що швидкість звуку со
у важкій рідині 3 набагато менша за швидкості V в корпусі
1, плоскі фрагменти поверхні внутрішньої порожнини 2 будуть випромінювати у
важку рідину 3 звукові хвилі під кутом
, які будуть утворювати зону
каустики радіуса r1, навпаки, чотиригранні зрізані пірамідки 12 цілком
виключають саму можливість випромінювання 13 звукових хвиль і утворення за їх допомогою зони каустики (рис.1). Зони
каустики збурюють і порушують вихідний статичний стан важкої рідини 3 і
формують її підвищену енергетичну, турбулентною за структурою, динаміку, що
призводить до виникнення додаткової активної
дії важкої рідини 3 на поверхню герметичного гіровузла 4, породжуючи в
ньому безліч форм коливань по всій поверхні і створюючи пружно-наружений стан
поверхні герметичного гіровузла 4, що в своїй сукупності помилково сприймається гіроскопом за вхідну
величину і викликає додаткові похибки
вимірювань кутової швидкості літального апарату. Рівномірне нанесення з
однаковим інтервалом поздовжніх 10 і поперечних 11 трикутної форми канавок
будує на внутрішній циліндричній,
частково заповненій важкою рідиною 3, поверхні 9 порожнини 2 корпуса 1 (рис. 2,
рис.3), рівномірно розташовані по поверхні чотиригранні зрізані пірамідки 12,
ліквідувавши, цим самим, лінійні фрагменти, які мають добру властивість для
випромінювання, замінивши пластинчасті фрагменти порожнини 2 корпуса 1 на
рівномірно розташовані пірамідки 12 із перемінною жорсткістю поверхнею
порожнини у всіх трьох напрямках і принципово меншою здатністю на зовнішнє
акустичне випромінювання 13 і збурення важкої рідини 3 ніж плоскі фрагменти.
Таким чином, ліквідація плоских фрагментів на внутрішній поверхні 9
порожнини 2 корпуса 1 усуває саму причину появи у важкій рідині 3, спрямованих
у важку рідину 3, звукових хвиль і подальше їх об’єднання у зони каустики у
вигляді циліндричних, соосних з циліндричною поверхнею порожнини 2 корпуса 1,
поверхні енергетичної активності рідинної складової підвісу – важкої рідини 3.
Література:
1. А.с. СССР № 1779129, Поплавковий гіроскоп [Текст]/ G01С19/20, 1996.
2. Ригли, У. Теория, проектирование и испытание гироскопов [Текст]: пер. с анг./ У. Ригли, У. Холлистер, У.
Денхард.. – М.: Мир, 1972. - 416 с.
3. Mel'nik, V.N. Stress-strain state of a gyroscope suspension under
acoustic loading [Текст]/ V.N. Mel’nik //
2007; Strength of Materials. ISSN: 00392316. Volume: 39. Issue: 1.
Pages: 24-36. Year: 2007-01-01. EID: 2-s2.0-34147198666. Scopus ID:
34147198666. DOI: 10.1007/s11223-007-0004-6.
4. Mel'nik, V.N. Influence
of acoustic radiation on the sensors of a gyrostabilized platform [Текст]/ V.N.
Mel’nik, V.V. Karachun// 2004; Prikladnaya Mekhanika. ISSN: 00328243. Volume:
40. Issue: 10. Pages: 122-130. Year: 2004-12-01. EID: 2-s2.0-14844342416.
Scopus ID: 14844342416.