Карачун В.В.
Національний технічний університет України «КПІ»
ПЛОСКА МОДУЛЯЦІЯ
ПОВІТРЯНО-РІДИННОГО СТОВПА ДЛЯ
ІНТЕНСИФІКАЦІЇ ПРОЦЕСА БАРБОТУВАННЯ
Конструкція відноситься до
біотехнології, а саме до газліфтних барботажних апаратів, і може бути
використана в медицині і клінічних дослідженнях для вирощування мікроорганізмів
або тканин.
Відомий газліфтний барботажний
апарат (ГБА) для вирощування мікроорганізмів,
який містить циліндричний корпус з технологічними патрубками і розміщений в
його порожнині перфорованими тарілками (дисками) з переточними отворами,
дисковий аератор, а також розташовані зовні корпусу циркуляційні труби (див.,
А.с. СССР № 1774654, С12М1/04, 1994).
Недоліки цього ГБА полягають у
відносно великих габаритах та матеріалоємкості внаслідок зовнішнього
розташування циркуляційних труб.
Відомий також ГБА, який містить
розміщені по спільній осі вертикально розташований циліндричний корпус з
технологічними патрубками і встановлену із зазором відносно стінок корпусу в
його порожнині циркуляційну трубу постійного діаметра, а також розташований під
циркуляційною трубою спіральний трубчастий аератор (див., А.с. СССР №1708829,
С12М1/04, 1992).
Недолік відомого ГБА полягає у
відносно невисокій продуктивності процесу внаслідок помірного тепломасообміну і
недостатній інтенсивності аерації робочої рідини в циркуляційній трубі,
обумовлених ламінарним прямолінійним рухом висхідного потоку культуральної
рідини зісподу нагору.
В основу пропонуємої конструкції
поставлена задача вдосконалення ГБА, в якому, шляхом виконання нижнього,
оберненого до аератора, торця циркуляційної труби закритим коловим диском з
паралельними прямолінійними прорізями заданих типорозмірів забезпечується
модуляція циліндричного повітряно-рідинного стовпа на паралельні плоскі
поверхні вздовж висоти циркуляційної
труби, що призведе до
розвиваючоїся турбулентності висхідного потоку культуральної рідини та
прискорення тепломасообміну і інтенсивності аерації, що збільшить ріст
мікроорганізмів і буде правити зростанню продуктивності.
Поставлена задача вирішується
тим, що в ГБА, який містить вертикально розташований циліндричний корпус з
технологічними патрубками і розміщену в порожнині корпусу з радіальним зазором
циркуляційну трубу, а також встановлений під циркуляційною трубою аератор,
новим є те, що нижній, обернений до аератора, торець циркуляційної труби
закритий коловим диском з паралельними прямолінійними прорізями заданих
типорозмірів.
Виконання нижнього, оберненого до
аератора, торця циркуляційної труби закритим коловим диском з паралельними
прямолінійними прорізями заданих типорозмірів, на відміну від порожнистого,
забезпечує переміщення рідинно-повітряної суміші усередині циркуляційної труби
не тільки нагору, але і в перпендикулярних до осі циркуляційної труби
горизонтальних напрямках, які неможливі в найближчому аналогу, що призведе до
розвиваючоїся турбулентності висхідного потоку робочої рідини та прискорення
тепломасообміну і інтенсивності аерації, а це збільшить ріст мікроорганізмів і
буде правити зростанню продуктивності.
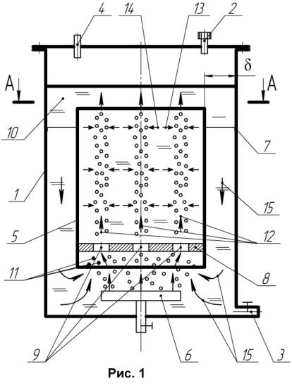
На рис. 1 схематично зображений пропонуємий
ГБА, загальний вигляд; на рис. 2 переріз А-А на рис. 1.

ГБА містить вертикально
розташований циліндричний корпус 1 з патрубком 2 для введення живильної рідини
і посівного матеріалу (робоча рідина), патрубком 3 для видалення культуральної
рідини та патрубком 4 для відведення відпрацьованого газу. В порожнині корпусу
1 вздовж його осі встановлена циркуляційна труба 5 та розміщений під нею
аератор 6. Циркуляційна труба 5 має циліндричну форму радіуса
і убезпечена від
зміщень кріпленнями 7 та утворює з внутрішньою поверхнею корпуса 1 радіальний
зазор “δ”. Нижній торець циркуляційної труби закритий коловим диском 8 з
паралельними прямолінійними прорізями 9 (наприклад, трьома) заданих
типорозмірів.

Працює ГБА наступним чином.
У попередньо простерилізований
корпус 1 крізь патрубок 2 вводять робочу рідину 10, після чого в аератор 6
подають стиснене повітря, яке у вигляді бульбашок 11 проходить до порожнини
циркуляційної труби 5 крізь прорізи 9 в її нижньому торці, які формують з них
плоскі поверхні 12 (наприклад, три) рідинно-повітряної суміші, яка набагато
легша від робочої рідини, яка знаходиться в зазорі “δ” корпусу 1 та в
проміжку між поверхнями 12 усередині циркуляційної труби 5. Різна щільність
робочої рідини всередині циркуляційної труби 5 між робочої рідиною 10 та
поверхнями 12 рідинно-повітряної суміші утворює протилежно напрямлені потоки 13
і 14, які турбулізують робочу рідину, чим активізують тепломасообмін та довше
затримують бульбашки газу 11 в горизонтальних шарах, що сприяє підвищенню інтенсивності
аерації робочої рідини і, отже, росту клітин. Різна щільність робочої рідини
всередині циркуляційної труби 5 і робочою рідиною 10, яка знаходиться біля
внутрішньої поверхні корпусу 1, в свою чергу, сформує циркуляційні потоки 15,
які приведуть в рух периферійні шари
робочої рідини, направляючи їх до циркуляційної труби 5. Циркуляція робочої
рідини відбувається до того часу, поки повітря надходить до циркуляційної труби.
Відпрацьоване повітря через патрубок 4 видаляється в навколишнє середовище.
Оскільки переміщення робочої
рідини в потоках 13, 14 і 15 відбувається із зміною не тільки величини
швидкості, але і напрямку руху, надаючи йому просторового характеру, замість
постійної за величиною і напрямком швидкості робочої рідини, то прискорення
тепломасообміну суттєво зростає, значно підвищується інтенсивність аерації
робочої рідини в циркуляційній трубі, а це прискорює ріст мікроорганізмів і
буде правити зростанню продуктивності.