Мельник В.М.
Національний технічний
університет України «КПІ»
ЗМЕНШЕННЯ ДЕТОНАЦІЇ І ПІДВИЩЕННЯ
ПОТУЖНОСТІ ДВИГУНІВ ВНУТРІШНЬОГО ЗГОРЯННЯ
Модель січка запалювання відноситься до машинобудування, зокрема до
електрообладнання двигунів внутрішнього згоряння, а саме до пристроїв
запалювання робочої суміші.
Відома свічка
запалювання [Патент Російської Федерації на
корисну модель № 74524, НО1Т13/00], яка містить корпус з
боковим електродом, встановлений у його центральному отворі ізолятор з центральним електродом, торець якого утворює
з боковим електродом іскровий проміжок і з’єднану з корпусом насадку, яка має
внутрішню конусну поверхню, що розширюється назовні, і канал для бокового
електрода, насадка закріплена у центральному отворі корпуса, а боковий електрод
розташований зовні насадки, причому кінець бокового електрода, утворюючий
іскровий проміжок, розташований над насадкою, крім цього, конусна насадка
містить вентиляційні отвори.
Недоліком
цієї конструкції є те, що при іскровому розряді значна доля енергії витрачається
на випромінювання і утворення ударної хвилі. Дана конструкція свічки
запалювання не дозволяє ефективно використовувати енергію іскрового розряду, бо
значна частина енергії розсіюється в об’ємі камери згоряння двигуна. Це знижує
енергетичний потенціал свічки запалювання в розумінні швидкого і якісного
займання робочої суміші, що в свою чергу, не дозволяє створити надійну
займистість робочої суміші в камері згоряння.
Відома свічка
запалювання, яка містить корпус з боковим електродом, встановлений у його
центральному отворі ізолятор з центральним електродом, торець якого утворює з
боковим електродом іскровий проміжок [Акимов С.В., Чижков Ю.П. Электрооборудование
автомобилей. – М.: ЗАО «КЖИ «За рулем», 2004].
Відома свічка
запалювання простіша у виготовленні, але вона недостатньо ефективно запалює
робочу суміш, і, крім того, потребує застосування електричних струмів
підвищеної потужності для займистості робочої суміші, що призводить до зниження
потужності двигуна і збільшення викидів в атмосферу, а також до передчасного електрохімічного руйнування поверхні
електрода і детонації.
Зазначений
недолік обумовлений тим, що центральний електрод виконаний у формі циліндра з
плоским коловим поперечним перерізом. Така форма обмежує протяжність зони
концентрації енергії іскрового електричного розряду, що призводить до
необхідності підведення електричних струмів підвищеної потужності для утворення
іскри в іскровому проміжку, а також потребує мінімальної ширини іскрового
проміжку для забезпечення надійної роботи свічки запалювання.
В основу пропонуємої
конструкції свічки поставлена задача зменшення потужності електричного струму,
що підводиться до свічки запалювання, а також збільшення іскрового проміжку
шляхом зміни форми поверхні нижнього торця центрального електроду і поверхні протистоячого
йому кінця бокового електроду, що збільшить потужність двигуна і зменшить
викиди в атмосферу, а також усуне передчасне електрохімічне руйнування поверхні
електроду і детонацію.
Поставлена
задача вирішується тим, що свічка запалювання, яка містить корпус з боковим
електродом, встановлений у його центральному отворі ізолятор з центральним
електродом, торець якого утворює з боковим електродом іскровий проміжок, новим
є те, що поверхня нижнього торця центрального електроду і поверхня протистоячого йому кінця бокового
електроду виконані у вигляді обернених один до одного угнутими поверхнями паралельних
параболічних циліндрів.
Зазначені
відмітні ознаки забезпечують зміну плоскої колової поверхні нижнього торця
центрального електроду і плоскої поверхні протистоячого йому кінця бокового
електроду, що має місце в найближчому аналогу, на паралельні параболічні
циліндри, обернені один до одного угнутими поверхнями, що за інших рівних з найближчим
аналогом умов, збільшує протяжність зони концентрації енергії іскрового
електричного розряду в іскровому проміжку, знижуючи тим самим енергетичні
витрати на проскакування іскри. Це надає можливість для збільшення іскрового
проміжку, що підвищить ефективність займистості робочої суміші.
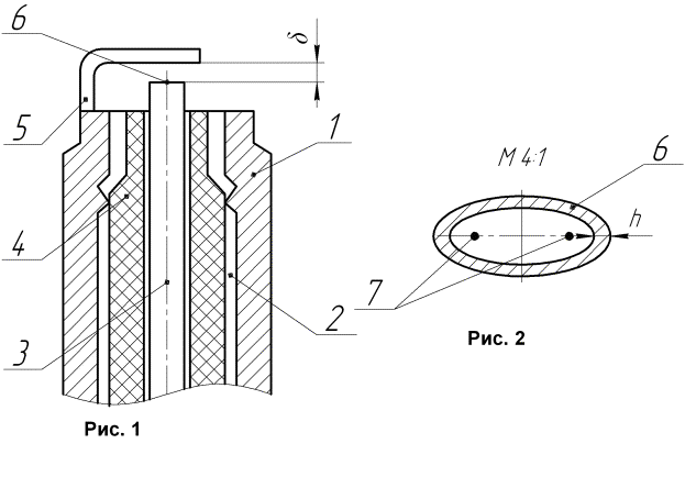
На кресленні
схематично зображена заявляєма свічка запалювання в поздовжньому перерізі (рис.
1) і зона іскрового електричного розряду іскрового проміжку (вид А, збільшений)
(рис. 2).

Свічка запалювання містить корпус 1 з порожниною 2, в якій розміщений
центральний електрод 3, екранований від корпусу ізолятором 4. До зовнішньої
поверхні корпусу 1 приварено боковий електрод 5. Поверхня нижнього торця
центрального електроду 3 і поверхня протистоячого йому кінця бокового електроду
5 виконані у вигляді обернених один до одного угнутими поверхнями 6 і 7 паралельних
параболічних циліндрів, які формують зону δ
іскрового електричного розряду протяжності
h.
Працює свічка
запалювання наступним чином.
При
заповненні робочою сумішшю камери згоряння двигуна під час такту стиску,
імпульс високої напруги подається на центральний електрод 3, де на його
поверхні 6 нижнього торця і протистоячої йому поверхні 7 бокового електроду 5
формується збільшений об’єм концентрації енергії іскрового електричного розряду
8.
Виконання
нижнього торця центрального електрода і протистоячого йому кінця бокового
електрода у вигляді паралельних параболічних циліндрів, обернених один до
одного угнутими поверхнями, замість плоских поверхонь, дозволяє зменшити величину
електричного імпульсу, збільшити іскровий проміжок і протяжність зони
концентрації енергії іскрового електричного розряду, що призведе до більш
ефективної займистості і, як наслідок, до більш повного спалювання робочої
суміші, що підвищить потужність двигуна і зменшить викиди в атмосферу, а також
усуне передчасне електрохімічне руйнування поверхні електроду і детонацію.