Д.т.н. Филонин О.В., студент Илюхин В.В.

 

Самарский государственный аэрокосмический университет

имени академика С.П. Королёва, Россия

 

Разработка и исследование трёхракурсной

томографической системы анализа параметров

водородной плазмы в ионных и плазменных двигателях

 

Уровень развития вычислительных средств позволяет в настоящее время использовать для анализа параметров потоков рабочих тел ионных и плазменных двигателей методы прямой трехмерной реконструкции [1]. Важно отметить, что системы диагностики такого рода целесообразно создавать двух типов.

Первый тип должен быть предназначен для стендовых исследований параметров плазмы того или иного двигателя. Системы этого типа должны решать следующие задачи диагностики:

·       Анализ пространственного распределения локальных значений интенсивностей плазменного потока см. рис. 1 а);

·       Реконструкция 3D-распределения локальных значений температур;

·       Восстановление пространственного распределения локальных значений концентраций ионной и электронной компонент [2];

·       3D анализ поля скоростей ионной и электронной компонент.

Второй тип малоракурсных систем диагностики параметров плазменных потоков ионных и плазменных двигателей может и должен быть штатной системой диагностики двигателя, установленной на борту летального аппарата. Соответственно круг решаемых задач должен быть сведён к минимуму, например, 3D реконструкция поля скоростей основной компоненты рабочего тела, что определяет величину и направление вектора тяги двигателя.

Авторами разработана сканирующая система для получения исходных двумерных данных для реконструкции искомых параметров потоков водородной плазмы ионных и плазменных двигателей.

Подпись: Рисунок 1 – а) – типичный факел водородной плазмы ПД, б) – схема получения исходных двумерных данных для МВТ реконструкцииС целью упрощения конструкции оптико-волоконного сканера было принято решение использовать только три 2D проекции (рисунок 1б-2б), расположенные под углами   (рисунок 1б-б), по отношению друг к другу.

Для формирования исходных проекционных данных от плазменного двигателя – 1 (см. рисунок 1б- а) применены оптоволоконные светопроводы (для передачи изображений) в сочетании с коллиматорными насадками - 2.  Коллиматорные насадки служат для выборки плоскопараллельного потока фотонов в заданном ракурсе. Конструктивно такая насадка представляет собой набор плотно упакованных отрезком капиллярных трубок длиной (8 ÷ 12) мм, с зачернёнными внутренними поверхностями. Если в качестве светопровода использован светопровод с квадратными сечениями входных и выходных торцов, то пакет коллиматорных трубок собирается в виде параллелепипеда с квадратным сечением соответствующим сечению светопровода. Расположение коллиматорных трубок по сечению коллиматора показано на рисунке 1 б) - 2б). В зависимости от конструктивных особенностей сопла двигателя возможно несколько вариантов ориентации входных торцов оптоволоконных каналов. На рисунке 1 б) - 3б) показан простейший вариант, когда плоскости входных торцов - 6 параллельны оси потока факела - 8.  При такой геометрии регистрации исходных двумерных данных предполагается, что реконструируемый объём представляет собой шар – 8 единичного радиуса, в котором расположена интересующая зона факела.

В стендовых вариантах малоракурсной томографической системы реконструкции параметров факела предполагается применение спектральных приборов – спектрографов. Это необходимо для определения локальных значений, таких параметров как температуры, концентрации электронной и ионной компоненты и пр. Понятно, что такую информацию можно получить, анализируя отдельные линии спектров плазмы [3]. Следовательно, в данной системе сбора данных необходимо выбрать интересующее сечение на двумерных проекциях, которые собраны в так называемый параллельный пакет проекций - 9, (см. рисунок 1 б), 4г). Далее необходимо спроецировать набор этих одномерных изображений на входную щель спектрального прибора. Таким образом, в фокальной плоскости спектрографа мы получим три параллельных изображения спектров проекций.

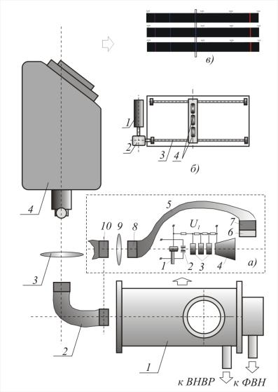
На рисунке 2 показана схема экспериментальной установки и оптическая схема спектрально-томографической регистрации. Данная система работает следующим образом. Макет плазменно ионного двигателя располагается в вакуумной камере -1. Объём камеры и производительность форвакуумного насоса и вакуумного насоса высокого разряжения, выбираются исходя из условий эксперимента. При этом форвакуумный насос работает непрерывно, в течение всего хода эксперимента, удаляя продукты рабочего тела двигателя. Насос высокого разряжения подключается автоматически. Как уже было отмечено, в камере установлен макет двигателя и система сбора исходных двумерных проекционных данных, см. рисунок 2 а). Авторами разработан макет ионно-плазменного двигателя, который состоит из форсунки – 1 (рисунок 2 а)) через которую под некоторым давлением подаётся водород. Далее поток газа проходит модуль ионизации – 2, в результате, за счёт воздействия переменного поля высокого напряжения поток ионизируется – появляются электронная и ионная компоненты. Электронная составляющая отводится отклоняющей системой (на рисунке не показана) от оси потока. Ионная компонента ускоряется простейшим линейным ускорителем, содержащим три каскада ускорения. Ускорение происходит в Подпись: Рисунок 2 – Схема экспериментальной
установки
межэлектродных промежутках, причём ионный пучок дополнительно фокусируется.

Очевидно, что поток рабочего тела, выбрасываемый через сопло – 4 содержит положительные ионы водорода, возбуждённые атомы и молекулы водорода. При этом атомы, ионы и молекулы водорода испытывают столкновения с молекулами остаточного газа в вакуумной камере, которые могут переходить  в возбуждённые состояния. Таким образом, излучающими объектами в зоне регистрации -  в струе рабочего тела являются атомы и молекулы водорода, возбуждённые атомы остаточного газа. Надо отметить, что вклад последних компонент невелик, так как он определяется концентрацией остаточного газа. Но, тем не менее, его надо учитывать при спектральном анализе, в частности, он проявляется в сплошном спектре, который накладывается на линейчатые спектры водородных ионов. Аналогичная ситуация наблюдается и в околоземном пространстве, откуда происходит старт летательных аппаратов оборудованных ПИД.

Оптико-волоконная система сбора проекционных данных частично, также размещена в вакуумной камере, рисунок 2 а), а именно здесь расположены двумерные коллиматоры -  6, светопроводы – 7. Для вывода двумерных проекционных изображений за пределы камеры применена оптическая развязка, содержащая проецирующий объектив – 9, который вмонтирован в боковую стенку камеры. Объектив проецирует изображение с выходных торцов светопроводов – 5, на входной торец светопровода – 2, находящегося вне вакуумной камеры. Далее изображения проекций передаются с помощью светопровода – 2 и линзы – 3 на щель спектрального прибора – 4. В данном эксперименте нами был использован спектрограф ИСП-30. В фокальной плоскости спектрографа формируются, таким образом, спектры проекций.

Надо отметить, что для спектрально-томографической диагностики необходимо выбрать заданное сечение трёхмерного плазменного объекта, так как это показано на рисунке 2 - 2б), - 4г). Другими словами, выборка данного сечения даёт возможность получить спектры проекций, что в свою очередь позволяет в данном сечении провести реконструкцию распределения локальных температур в сечении, концентраций ионной и электронной компонент и т.д.

Если конфигурация плазменного факела стабильна во времени, то путём последовательной выборки сечений можно реконструировать и 3D функции искомых распределений.

Для считывания распределения интенсивностей вдоль спектральных линий применена электромеханическая система привода линейных ПЗС-матриц, рисунок 2 б). В данном случае использовано три линейных матрицы - 4, закреплённых на подвижной платформе. Последняя, с помощью электродвигателя – 1 через редуктор – 2 и винтовые пары -3 приводит в поступательное движение платформу с матрицами – 4.

В зоне регистрации проекций спектрографа при спектрально-томографической диагностике, как уже было отмечено выше, формируется набор спектров в виде «параллельного» набора спектров. Выборка необходимых спектральных линий, или областей сплошного спектра производится с помощью рассмотренной выше электромеханической системы перемещения матричных фотоприёмников.

 

Литература

1.     Филонин О.В., Овсищер М.В. Разработка и исследование методов моделирования томографических способов восстановления параметров плазменных потоков. Сб. «Применение радиоэлектроники, аппаратуры связи, вычислительной и лазерной техники в народном хозяйстве». - М.; «Техника», №2, 1984, - с. 123 -129.

2.     Dnestrovskij Y.N., Lyadina E.S., Savrukhin P.V., Space-time tomography problem for plasma diagnostic. // Proc. 17th European Conference on contr. Fusion and Plasma Heating, Amsterdam, 1990, - p. 1620 – 1623.

3.     Филонин О.В. Спектрально-томографические методы и средства исследования параметров плазмы и плазменных потоков // Труды международного симпозиума «Надёжность и качество» 2004, Пенза, с. 507 – 510.