Байнатов Ж.Б.,
Сагынтаева Л.А.,
Казахский национальный
технический университет имени К. И. Сатпаева,
г. Алматы, Республики
Казахстан.
УДК 624.2/8+624/1(072/
Новые
конструкции тоннельный обделки метрополитена не глубокого
заложения и методы ее расчета.
Аннотация.
В
настоящее время крупные зарубежные города перенасыщены автомобильным,
транспортом, что приводит к загрязнению воздушной среды, заторам уличного
движения, возрастанию шума и аварийным ситуациям, вызванными нарушением условий
безопасного движения. Такое положение диктует необходимость использования
городского подземного пространства под транспортные сооружения и объединенные
многоярусные подземные комплексы. Последние включают тоннели, станции и
вестибюли метрополитена, автотранспортные и пешеходные тоннели, гаражи и
автостоянки, коллекторы городского коммунального хозяйства и др.
Конструкции подземных сооружений называют
обделками или крепями.
Тоннели метрополитенов возводятся
преимущественно круглого и сводчатого профиля из металла, железобетона и
бетона. Тоннели мелкого заложения имеют прямоугольное сечение и плоское
перекрытие.
Ключевые
слова: метрополитен,
тонелли, станция, деформация, арочная конструкция.
Annotation. Currently,
major foreign cities saturated by road, transport, resulting in contamination
of air, traffic congestion, increased noise and emergency situations caused by
breach of safety. This situation calls for the use of urban underground space
for transport facilities and the combined stacked underground complexes. These
include tunnels, subway stations and lobbies, road transport and pedestrian
tunnels, garages and car parks, sewers urban utilities and others.
Construction
of underground structures called lining or crepe.
Tunnels
are built mostly underground circular and arched profile of metal, concrete and
concrete. Tunnels
have a shallow rectangular and flat ceiling.
Метрополитены сооружают преимущественно
подземными (в тоннелях), поэтому и уличное движение в наибольшей степени
отвечают санитарно-гигиеническим требованиям, практически не оказывая вредного
воздействия на воздушную среду. В отдельных случаях проектируют неземные линии
метрополитена на эстакадах, а также вылетные линии, выходящие в пригородные
зоны, представляющие собой железнодорожные участки на обособленным земляном
полотне.
Активизируется творческий поиск, направленный на
эффективное решение ряда кардинальных научно-технических проблем. На основе
результатов исследований внедряются в производство принципиально новые
инженерные решения. Так, расширяются теоретические и экспериментальные
исследования для разработки основополагающих методов расчета тоннельных
конструкций.
Совершенствуются сборные железобетонные обделки
тоннелей, находящиеся под горным и гидростатическим давлением. Для сложных
геологических и гидрогеологических условий разработаны облегченные тюбинговые
обделки из высокопрочного чугуна, обладающие минимальной металлоемкостью.
Ведутся изыскания и поиски новых конструкционных материалов для возведения
надежных, долговечных обделок тоннелей, отвечающих требованиям существенного
снижения материалоемкости несущих конструкций.
Открытие Алматинского метро состоялось накануне
20-летия независимости Республики Казахстан т.е. с декабря 2011г. и является 17
по счету в СНГ и вторым в средней Азии (после Ташкентского метро).
Первая очередь первой линии Алматинского метро с
семью станциями протяженностью 8,3 км расположена под самыми оживленными
частями города – проспектом Абая и улицей Фурманова. Она свяжет одной нитью
деловые районы города. Средняя глубина заложения горных выработок составила 40
м.
20 апреля 2015 г сданы в эксплуатации две линии
теперь в перспективе начнется
строительство линии, ведущей к железнодорожной станции Алматы-1. С 2015 г.
Количество метростанции стало 10, то есть добавлена еще две станции «Сайран» и
«Москва» общая протяженность метролинии составляет 10 км (8,3 м + 2,74 м).
На обделку подземного сооружения в основном
действуют статические нагрузки от горного давления.
Обнаженные подземной выработкой грунты не только
передают на конструкцию горное давление, но и работают с ней совместно,
противодействуя деформациям обделки в сторону грунта. Для обеспечения
совместной работы необходим плотный контакт между обделкой и грунтом, который
достигается, благодаря нагнетанию на конструкцию песчано-цементного раствора.
Способность грунта деформироваться
характеризуется модулем общей деформации Е0 и коэффициентом
поперечной деформации µ0, которые используются в методах расчета
подземных конструкций (предложенным проф. С. С. Давыдовым и д-ром техн. наук С.
А. Орловым), основанных на применении теории упругости.
До настоящего времени в расчетах подземных
конструкций обычно применяется более простой способ оценки упругих свойств
грунта, основанный на использовании теории местных деформаций, вытекающей из гипотезы Винклера о прямой
зависимости между напряжениями в грунте и её деформациями:
, (1)
где: k – коэффициент упругого
отпора грунта;
– деформация
грунта под действием вдавливающегося в него тела.
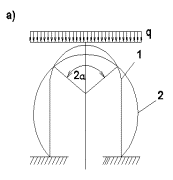
Под действием преобладающего вертикального
горного давления верхняя часть обделки прогибается во внутреннюю сторону
(рис.1). Область, в которой деформации конструкции направлены внутрь выработки и
не встречают противодействия грунта, называют зоной отлипания. Эта зона
определяется центральным углом 2α, который зависит от крепости грунта и
упругих свойств обделки. Она находится в пределах от 90 для крепких грунтов до
150 для слабых грунтов.


Рисунок 1. Схемы деформации и формы тоннельных
обделок: а-схема взаимодействия обделки и грунта: 1-зона отлипания; 2-зона
упругого отпора; б-схема действия упрого отпора грунта на обделки сводчатого
очертания.
Расчет балок на двухслойном основании в
настоящее время широко используют в проектной практике. Например, известна
модель двухслойного основания А. П. Синицына. Эта модель может быть применена и
при расчете конструкций подземных сооружений.
Для этого нужно ввести стерженьки между средой и
наружной поверхностью обделки (рис. 351, б). однако эти стерженьки должны быть
не абсолютно жесткие, а упругие, позволяющие учесть влияние обжатия упругой
прокладки. Чем больше будет введено стерженьков, тем выше точность расчета. В
предельном случае, когда упругая прокладка отсутствует, упругие связи переходят
в обычные абсолютно жесткие стерженьки.
В то же время стенки тоннеля стремятся
деформироваться в наружную сторону, встречая от грунта упругий отпор. Область,
в которой деформации обделки направлены к грунту, называют зоной упругого
отпора.
Вообще границы между зоной отлипания и зоной
упругого отпора, определяемые углом 2α, неизвестны. При расчете тоннельной
обделки значением угла 2α задаются и уточняют его значение по результатам
расчета, когда появляется возможность определить направление перемещений частей
обделки.
Горное давление определяют в зависимости от
конкретных условий по теории сводообразования или с учетом веса полного столба
вышележащих порол.
Вес грунта, расположенного ниже разгружающего
грунтового свода, и является вертикальным горным давлением.
Нормативные значения вертикального горного
давления (рис. 1в) равны: при образовании разгружающего свода
, (2)
где
;
;
:
–плотность грунта; φ-угол
естественного откоса грунта, град;
при расчете на полный столб породы
i=1,2,…,n, (3)
где
,
- плотность и толщина і-го
слоя грунта.
Для статических постоянных нагрузок коэффициент
надежности по нагрузке
равно: от собственного веса монолитной бетонной или
железобетонной обделки – 1,2; сборной железобетонной обделки – 1,1;
вертикального горного давления при сводообразовании – 1,5; при учете веса всего
столба породы – 1,1; от бокового горного давления – 0,8, или 1,2; от
гидростатического давления – 0,9 или 1,1. При двух значениях коэффициента
надежности по нагрузке принимают коэффициент, введение которого создает нам
более неблагоприятные условия работы конструкции. При расчете на сейсмовзрывные
воздействия принимают
=1.
Выбор расчетной схемы является первым и весьма
важным этапом расчета: она должна максимально облегчить расчет и наряду с эти в
ней должны быть отражены основные особенности данного сооружения. Правильность
выбора расчетных схем можно проверить экспериментальным путем, проводя
испытания реальных конструкции глубоко заложенных тоннелей представляются в
виде рамы или арки.
Рамы – стержневые системы с жестким соединением
во всех или некоторых узлах. Стержни рамы работают на изгиб с растяжением или
сжатием.
Арочная
конструкция –
это система, состоящая из брусьев, выпуклость которых обращена в направлении,
противоположным действию нагрузки. Вертикальная нагрузка в опорных устройствах
арочных конструкций вызывает не только вертикальные, но и горизонтальные
составляющие опорных реакций – распор.
По статической схеме работы различают
бесшарнирные, двухшарнирные, трехшарнирные арки и арки с затяжкой.
Трехшарнирные арки являются статически определимыми, они меньше всего
чувствительны к горизонтальным смещениям опор. Бесшарнирные арки самые легкие,
но в них всякое смещение опор вызывает значительные дополнительные усилия.
Расчет арок, как и других конструкций, состоит
из определения внутренних усилий и подбора размеров сечений. Наиболее просто
выполняется расчет трехшарнирное арки, которая является статически определимой,
в отличие от двух и бесшарнирных арок. Прежде всего, в таких арках определяется
величина распора Н, который в общем случае находится из уравнения
(4)
где:
- сумма моментов всех сил, расположенных слева и справа от шарнира с
(рис.2)
В частном случае при действии только равномерно
распределенной нагрузки q по всей длине арки
распор равен:
H=ql2/8f (5)
где: f-стрела подьема.
После определения распора находят внутренние
усилия в любом сечении – «к» арки: Mk; Qk;
Nk (рис.2):
изгибающий момент Мк=
-Н·у (6)
поперечная сила
(7)
продольная сила
(8)
где: Mk0или Qk0 – балочные изгибающие
моменты и поперечные силы, определяемые для балки, которая имеет такой же
пролет и нагрузки, как и рассчитываемая арка;
у – ордината рассматриваемой точки (сечения)
арки;
α – угол наклона между касательной к оси
арки в рассматриваемой точке и горизонталью.
Если определить усилия в сечениях арки,
проведенных через 1-2 и, то можно построить эпюры Mk; Qk;
Nk, которые дают более точные представления об
изменении усилий в арке по её длине.


Рисунок 2. Общие схемы арок: а –
передача нагрузки от бесшарнирной арки на фундаменты; V – вертикальная
составляющая реакции; Н – распор арки (горизонтальная оставляющая реакции); б –
усилия, действующие в трехшарнирной арке.
В большинстве случаев применяют приближенные
методы расчета на заданные нагрузки с использованием аппарата строительной
механики. При этом вначале определяют все действующие на обделку активные
нагрузки, а затем рассчитывают ее как стержневую систему методом сил или
перемещений. В последнюю очередь производят проверку прочности сечений обделки.
В настоящее время при расчете тоннельных обделок
широко используют вычислительную технику. Автоматизация вычислительных
процессов с применением ЭВМ значительно сокращает трудоемкость расчетных
операций, дает возможность учитывать многочисленные факторы, влияющие на
статическую работу обделки, повышает точность результатов.
Особенностью расчетов тоннельных обделок
является необходимость учета упругого отпора окружающего грунтового массива.
Бетонные и железобетонные обделки следует
рассчитывать в соответствии с главной СНиП по проектированию бетонных и
железобетонных конструкции. При этом, кроме коэффициентов условий работы,
необходимо вводить специальные коэффициенты условий работы, отражающие
особенности тоннельных конструкций:
Расчетные
схемы подъемистого свода
При преобладающем значении вертикальных нагрузок
деформации подъемистых сводов с упруго защемленными пятами имеют вид,
изображенный на (рис. 3) (левая); при этом по боковым поверхностям обделки
возникает упругий отпор порводы и силы трения. Эпюра отпора представлена на
рис. 3 (правая) По методу Г. Г. Зурабова и О. Е. Бугаевой расчет производится
на действие следующих сил: вертикальное и боковое горное давление q и e, масса обделки g (масса 1 м2 поперечного сечения),
давление грунтовых вод и воды, наполняющей туннель, упругий отпор и силы трения
между породой действия упругого отпора.

Рисунок 3. Схема деформации
подъемистого свода и эпюра упругого отпора.
Упругий отпор R
(где
– радиальное
перемещение) принят направленным нормально к поверхности обделки. Верхняя
граница «отлипания» расположена в сечении (см. рис. 4.а), нормаль к поверхности
которого расположена под углом
= 450 к
вертикальной оси туннеля. Нижняя граница «отлипания» расположена под углом фи
между нормалью к оси свода обделки сечении пяты и вертикальной осью обделки.
Максимальное значение R
достигает на
горизонтальной оси туннеля. Силы трения T=fk bh где f –
коэффициент трения.
Статически неопределимая система, которую
представляет собой обделка, решается методом сил по схеме рис.4. связь с
подошвенной плитой (лотком) заменена реакцией опоры P0 как сумма вертикальных
проекций всех внешних сил с учетом отпора и сил трения, в том числе x1 и x2 действующих на полусвод,
и моментом тех же сил M0.

б)
Рисунок 4. Схемы к расчету обделки замкнутого
профиля: а – основная система; б – расчетная система.
Известно, что теория матриц хорошо приспособлена
для реализации на ЭВМ. Она находит все более широкое распространение при
решении задач строительной механики. До недавнего времени эта теория редко
применялась при проектировании в подземном строительстве.
В связи с этим в работе методы расчета и
проектирования обделок подземных сооружений излагаются с широким привлечением
аппарата теории матриц, что будет способствовать их успешной реализации на ЭВМ.
Учет двухслойности основания. При возведении
обделок долговременных подземных сооружений между наружной поверхностью обделки
и выработкой нагнетается под давлением цементно-песчаный раствор. В отдельных
случаях при возведении сооружения в скальных грунтах для создания лучших
условий сейсмозащиты по наружному периметру обделки может устраиваться упругая
прокладка (рис. 5 а). таким образом, подземная конструкция работает в условиях
упругого двухслойного основания.

Рисунок 5. Конструктивная и расчетная схемы;
железобетонной обделки: 1 – упругая прокладка; 2 – упругая полуплоскость; 3 –
обделка.
Нами разработана новая конструкция тоннельной
обделки арочного типа для не глубокого заложения. Обделка состоит из трех
элементов: плиточная фундаментная часть и из двух пластинчатого полуарок. При
сборке образуется подъёмистая и стрельчатая трехшарнирная система. Каждый криволинейный элемент может
быть выполнен в виде плоской складочной и волнообразных пластинок.
Такие обделки из
дугообразных элементов при не глубоком заложении
изготовливают из железобетона а при
надземном расположении криволинейные элементы могут быть изготовлены из
армоцемента. Для улучения вентиляции линии метрополитена трехшарнирные конструкции позволяют установить
фонари естественного воздуха обмена.
Список использованной
литературы
1. Байнатов Ж.Б. Конструкции и методы расчета тоннельных обделок.
Учебно-методическое пособие. Алматы-2010.
2. Саламахин П.М. Инженерные сооружения в транспортном строительстве.
Учебник. М.: Академия, 2007. — 346 с.
3.
Маковский Л. В. Сооружение городских транспортных и пешеходных
тоннелей. М., 1974.