Д.т.н., проф. Пількевич І.А., к.т.н., доц. Лобанчикова Н.М.,
магістр Малахов Д.Ю.
Житомирський військовий інститут ім.
С. П. Корольова, Україна
СИСТЕМА ПІДТРИМКИ ПРИЙНЯТТЯ РІШЕНЬ СЛУЖБИ
МНС ПРИ ПОЖЕЖОГАСІННІ
Постановка задачі. Вагомий внесок у
створення подібних систем та розвиток методів і засобів їх побудови внесли
роботи таких вітчизняних та закордонних авторів: Палагіна О. В.,
Барладіна О. В., Городецького Є. М., Биченка М. М., Васюхіна М. І., Нетреби А. В.,
Запорожця О. І.
Аналіз
указаних робіт засвідчив, що в даний час зусилля науковців зосереджені, в
основному, на розробці моделей та методів побудови систем підтримки прийняття
рішень (СППР) щодо ліквідацій надзвичайних ситуацій масштабного характеру,
систем безпеки польотів, методів автоматизації обробки зорової інформації,
побудові геоінформаційних систем (ГІС), моделюванні процесів розповсюдження
вогняної стихії та інших техногенних катастроф. Проведений аналіз показує
відсутність, перш за все: ГІС в підрозділах ДСНС, засобів відображення точних
картографічних даних міста, комунікацій, технічних паспортів будинків,
інформаційних технологій визначення оптимального шляху до місця займання,
засобів автоматизації роботи диспетчера щодо заповнення форм документів та
формування звітності, СППР начальника караулу ДСНС; інформаційних технологій
інформування підрозділів ДСНС при під’їзді до місця пожежі [1].
Метою
роботи є розробка системи підтримки прийняття рішень ДСНС при пожежогасінні для автоматизації процесів диспетчеризації
та управління пожежними підрозділами ДСНС України.
Об’єктом
досліджень виступають процеси побудови систем підтримки прийняття рішень для
автоматизації процесів обробки інформації пожежними підрозділами.
Предметом
досліджень є методи та засоби побудови СППР в діяльності Управління ДСНС України у Житомирській області при пожежогасінні.
Наукова
новизна одержаних результатів полягає в тому, що вперше запропоновано алгоритм
роботи СППР ДСНС, який дозволив оптимізувати алгоритм роботи диспетчера та
начальника караулу (НК).
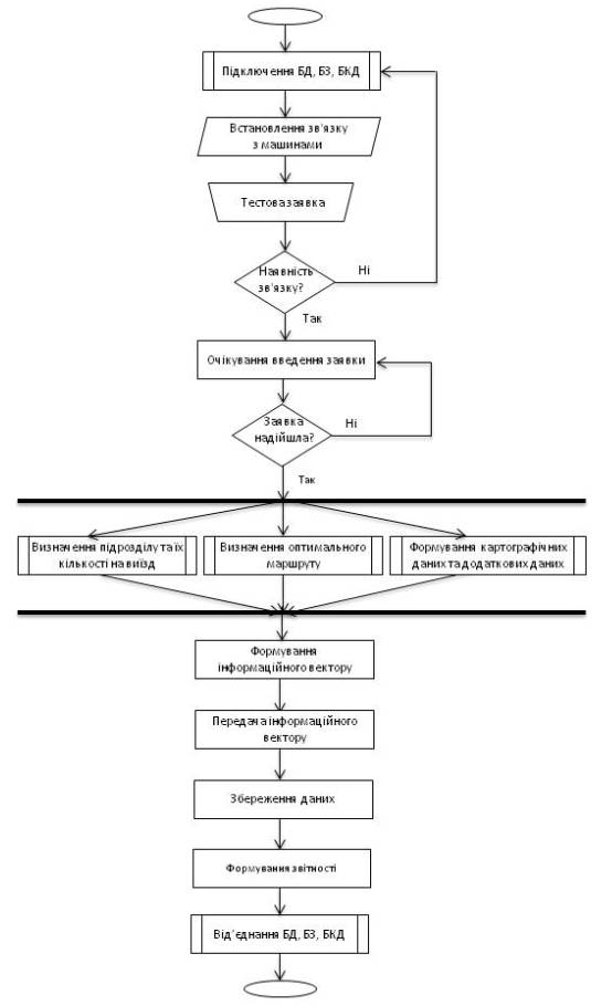
Алгоритм роботи СППР ДНСН. Блок-схема
алгоритму роботи системи зображено на рис. 1.
Свою роботу система починає після запуску програмного додатку на автоматизованому
робочому місці (АРМ) диспетчера. Після цього система починає свою роботу, після
чого йде запит на вибір та підключення БД, БЗ та БКД. Встановлюється зв’язок з
пожежними автомобілями ДСНС. Проводиться тестова заявка, щоб перевірити зв’язки
у системі. При правильному підключенні БД та перевірки зв’язку система готова
до роботи. Після заповнення заявки система передає всі необхідні дані на певні
апаратні модулі. СППР визначає всі необхідні параметри, відшуковує додаткові
плани, карти та формує оптимальний маршрут слідування пожежного підрозділу.
Далі формується та передається інформаційний вектор в кабіну пожежного авто.
Він дає можливість НК наглядно побачити всі необхідні йому плани та карти.
Надалі дані зберігаються. Автоматично формується звітність. Далі система
переходить в режим очікування.
В роботі реалізовано
прототип програмного комплексу, що
включає в себе наявність програмного додатку роботи диспетчера на АРМ рис. 2 та
начальника караулу в кабіні пожежного авто, який автоматизує роботу підрозділу
ДСНС рис. 3. Розроблено форми, звіти для організації бази даних накопичення інформації про пожежі. Розроблено звіти для виводу інформації БД
на друк рис. 4.
Після
оформлення заявки на виклик начальнику караулу в кабіні пожежного авто
представляється форма (рис. 3), яка включає в себе набір карт та планів, таких
як:
– маршрут
слідування підрозділу;
– уточнена карта
місцевості;
– комунікації, що
наявні в будівлі;

Рис. 1. Блок-схема
алгоритму роботи СППР ДСНС

Рис.2. Головне вікно
інтерфейсу програми диспетчера ДСНС

Рис. 3. Інтерфейс вікна
«Мапа» та вкладки «Маршрут»

Рис.
4. Форма запиту на вибірку даних з СППР служби МНС
– план будинку;
– план квартири.
Слід зауважити те, що теоретичні результати доведені до
практичної реалізації, пройшли апробації та були впровадженні в системі
диспетчеризації та управління пожежними підрозділами ДСНС України у
Житомирській області, що підтверджено актом впровадження. Результати
практичного використання показали можливість адаптації системи під підрозділи
служби УМВС, швидкої медичної допомоги.
Література:
1. Малахов Д. Ю.
Геоінформаційна система інформованості пожежних підрозділів / Д. Ю. Малахов
: тези доп. Всеукраїнської науково-практичної конференції [„Інформатика.
Математика. Автоматика. Передові технології web-програмуванняˮ], (20-25 квітня, 2015).
– Суми, Україна: Сумський державний університет. – С. 91.