Технические
науки/5. Энергетика
Мехтиев
А.Д., Таткеева Г.Г., Таранов А.В., Баландин В.С., Биличенко А. П. Югай В.В. Кызыров
К.Б., Эйрих В.И., Нешина Е.Г.
Карагандинский
государственный технический университет
Использование модели паровой турбины ТЭЦ для совершенствования систем
теплоснабжения ЖКХ с установлением оптимальных теплотехнических параметров
Предпосылки работы
сформированы на основании послания Главы государства Н.А. Назарбаева народу
Казахстана, где отмечалась необходимость формирования индустриальной
технологической стратегии для Казахстана. Исследования проведенные по теме
проекта соответствует основным приоритетным направлениям развития науки РК в
области создания экономичных и высокоэффективных технологий применения
альтернативных источников энергии для последующей реализации их во многих
сферах жизнедеятельности человечества. Разработана уникальная лабораторное оборудование, которое
позволяет моделировать основные процессы паровой
турбины ТЭЦ для исследования систем теплоснабжения ЖКХ с установлением оптимальных
теплотехнических параметров (рисунок 1). Данный стенд
используется на кафедре «Энергетики» КарГТУ для выполнения работ в рамках
проекта грантового финансирования
научных исследований МОН РК по теме «Разработка методов
повышения эффективности систем теплоснабжения ЖКХ с установлением оптимальных
теплотехнических параметров», а так же как элемент инновационных
технологий обучения по блочно-цикловой организации учебного процесса для при
выполнение научных исследований магистрантами специальности 6Ь07180 «Электроэнергетика» и
выполнения научно-исследовательских работ студентами специальности 5В071800 «Электроэнергетика» и 5В071700 «Теплоэнергетика». Это позволяет реализовать инновационную технологию
группового проектно-творческого обучения, обеспечивающую построение процесса
обучения вокруг конкретных научных проектов имеющих перспективу продвижения на
рынок конкурентоспособных образцов высокотехнологичной продукции.

Рисунок 1 Модель паровой теплофикационной турбины
Новизна данных методов
и технологии: в решении проблемы
энергосбережения и разработке методов оптимизации работы теплоэнергетических
систем с использованием имитационного
и натурного моделирования. Перспектива научных направлений в
энергетическом секторе экономики РК на сегодняшний день зависит от реального
применения результатов научных исследований и апробация их на практике.
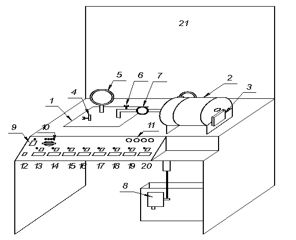
Действующая физическая модель
тепловой электрической станции, содержащая
все элементы принципиальной тепловой схемы: автоматизированный котлоагрегат на
электроэнергии, производительностью одна тонна в час, паровая турбина,
конденсатор, конденсатный электрический насос, регенеративный подогреватель,
электрический генератор. На общем стенде и щите управления смонтированы
элементы измерения, автоматики, а также приборы контроля и измерения (рисунок
2).
Этот лабораторный стенд
позволяет изучать различные теплофизические процессы, определить
теплотехнические параметры и наглядно познакомится с элементами паровой теплофикационной турбины. Натурные эксперименты с использованием физической модели
позволяет студентам получить достаточно полное представление о рабочих режимах
теплоэнергетического оборудования электростанций и привязки к системе
теплоснабжения.

1 – котлоагрегат; 2 – турбоагрегат; 3 – генератор; 4 –
вентиль аварийного сброса пара; 5 – манометр; 6 – ГПЗ; 7 – расходомер пара; 8 –
КЭН; 9 – выключатель сети; 10 – переключатель режимов работы котла; 11 –
индикация нагрузки генератора; 12 – общий выключатель приборов контроля; 13-20
– приборы контроля параметров установки с индивидуальными выключателями; 21 –
стенд с изображением принципиальной тепловой схемы ТЭЦ-3 и светодиодной индикацией
Рисунок 2 - Схематическое
изображение тепловой электрической станции