Л.С. Руденко, Ж.І. Остапенко, В.В. Карачун
Національний технічний
університет України «КПІ»
ПАСИВНА ЗВУКОІЗОЛЯЦІЯ
ПОПЛАВКОВОГО ГІРОСКОПА В УМОВАХ ГІПЕРЗВУКОВОГО РУХУ
Конструкція належить до точного машинобудування, а саме до поплавкових гіроскопів, і може бути використаним в складі пілотажно-навігаційного обладнання надводних, підводних апаратів, а також авіаційної техніки, які при льотній експлуатації підвладні дії акустичного випромінювання в діапазоні частот від 100 до 10000 Гц.
Відомий поплавковий гіроскоп, який містить сферичний корпус із сферичною, частково заповненою робочою рідиною, порожниною і розміщений в корпусі гіровузол з опорами і датчиками кута і моментів [1].
Компенсація швидкості теплового дрейфу гіроскопа здійснюється за рахунок рівності конвективного моменту від Архімедових сил, які викликають на роторах датчиків кута і датчиків моментів, завдяки установці роторів датчика кута і датчика моментів на гіровузлі сферичної форми за допомогою кронштейнів заданої довжини.
Умова забезпечення рівності маси гіровузла і виштовхуючої сили не реалізується, а розвантаження опор карданового підвісу виконується тільки шляхом вибору параметрів рідини.
Недолік цього технічного рішення полягає в складності виготовлення та балансировки підвісу внаслідок наявності в його конструкції деталей з поверхнями сферичної форми, а також у відсутності ефективних технічних рішень по зменшенню дії проникаючого акустичного випромінювання.
Відомий, наприклад, також поплавковий гіроскоп, який містить розміщений в тепловому кожуху циліндричний корпус з внутрішньою циліндричною, заповненою важкою рідиною, порожниною і розміщений в порожнині корпусу герметичний гіровузол з опорами і датчиками кута і моментів для визначення кутової швидкості рухомого об’єкту [2, 3].
Внутрішня порожнина поплавка зазвичай заповнена гелієм. Поплавок спирається на каменеві підшипники і знаходиться у зваженому стані у важкій рідині. Товщина слою рідини між корпусом гіроскопа і поплавком становить приблизно 0,2 мм. Велика густина робочої рідини і мала величина робочого зазору дозволяють отримати необхідний коефіцієнт демпфірування.
Недолік цього технічного рішення полягає у недостатньо ефективному захисті гіровузла від збурення підвісу гіроскопа проникаючим акустичним випромінюванням низької звукової частоти – до 10000 Гц.
В основу пропонуємого технічного рішення поставлена задача ліквідації загрози виникнення комбінованого резонансу в корпусі поплавкового гіроскопа під дією акустичного випромінювання і породженого ним збурення рідинностатичної складової підвісу і гіровузла шляхом дискретно-неперервного оснащення корпуса поплавкового гіроскопа ззовні циліндричними кільцями заданого типорозміру і жорстко встановленого у внутрішній повітряній порожнині теплового кожуха, що ліквідує загрозу виникнення резонансу генеруємих в корпусі колових хвиль на низьких звукових частотах та, відповідно, зводить нанівець небажане збурення рідинностатичної складової підвісу і гіровузла енергією звукових хвиль і, таким чином, призводить до зменшення похибок вимірювання кутової швидкості рухомого об’єкту в експлуатаційних умовах.
Поставлена задача вирішується тим, що пропонуєма конструкція усуває недоліки відомого рішення, прийнятого за найближчий аналог, і пропонує нове ефективне технічне рішення з новим технічним результатом.
Поплавковий гіроскоп містить циліндричний корпус з внутрішньою циліндричною, частково заповненою важкою рідиною, порожниною і розташованими в порожнині корпуса герметичним поплавковим підвісом з гіромотором та датчиками кута і моментів для визначення кутової швидкості рухомого об’єкту, встановленим на опорах в торцях корпусу, на зовнішній частині корпуса розміщено тепловий кожух, згідно пропонуємого рішення новим є те, що корпус поплавкового гіроскопа ззовні дискретно-неперервно оснащений циліндричними кільцями заданого типорозміру і жорстко встановлений у внутрішній повітряній порожнині теплового кожуху.
Технічний результат
від використання такого поплавкового гіроскопа забезпечується шляхом оснащення
корпуса поплавкового гіроскопа ззовні дискретно-неперервно циліндричними
кільцями заданого типорозміру і жорстко встановленого у внутрішній повітряній
порожнині теплового кожуху, що за інших, рівних з найближчим аналогом умов,
ліквідує загрозу виникнення комбінованого резонансу в корпусі поплавкового
гіроскопа під дією акустичного випромінювання і породженого ним збурення
рідинностатичної складової підвісу і гіровузла внаслідок наявної «акустичної прозорості» корпуса за
фіксованого кута
падіння звукової
хвилі і виникаючої при цьому рівності сліду довжини кола шпангоута корпуса і
сліду довжини колової хвилі в корпусі на площину, що паралельна до фронту
падаючої хвилі [3]. Досягаєма рівність нулю кута
між хвильовим
вектором
і площиною шпангоута
корпуса зводить нанівець збурення рідинностатичної частини підвісу і,
відповідно, гіровузла, акустичним випромінюванням і підвищує точність виміру
кутової швидкості рухомого об’єкту.
Сукупність
наведених ознак заявленого поплавкового гіроскопа забезпечує досягнення нового технічного результату.
Поплавковий гіроскоп
використовується в складі пілотажно-навігаційного обладнання надводних,
підводних апаратів, а також авіаційної техніки, які при льотній експлуатації
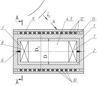
підвладні дії акустичного випромінювання в діапазоні частот від 100 до 10000 Гц і містить корпус 1 з циліндричною, діаметром D, порожниною 2, яка частково заповнена важкою
рідиною 3 (рис. 1). В порожнині 2 корпусу 1 розташований гіровузол 4 з гіромотором
5, який встановлюється на Рис. 1
опорах 6 і має датчик кута 7 і датчик моментів 8 для визначення кутової швидкості рухомого об’єкту. Зовнішня поверхня 9 корпуса 1 поплавкового гіроскопа дискретно-неперервно оснащена циліндричними кільцями 10 заданого типорозміру і корпус жорстко установлений у внутрішній повітряній порожнині 12 діаметра D1 теплового кожуху 13 (рис. 2, рис. 3).

Робота поплавкового гіроскопа здійснюється наступним чином.
При дії на поплавковий гіроскоп акустичного випромінювання 14, частина його відбивається від поверхні теплового кожуха 13, а інша частка проходить крізь тепловий кожух 13 і потрапляє на зовнішню поверхню 9 корпуса 1 втративши певну долю звукової енергії на реверберацію і дифракційні явища. Пройдешня частка акустичного випромінювання 14 генерує низькочастотні колові хвилі в поверхні корпуса 1 і за виконання умови [4]
![]()
корпус
поплавкового гіроскопа стає «акустично
прозорим», а в циліндричному корпусі виникає на низьких частотах (менших за
граничну частоту
) хвильове співпадання тільки для колових хвиль. Зрозуміло,
що при значенні
рівність частоти
акустичного випромінювання
і частоти радіальних
власних коливань кільця
(с – швидкість колових хвиль в шпангоуті)
стає неможливою (фіг. 3). Із зменшенням значення кута
, за якого можливий ефект хвильового співпадання, зменшується
і частота співпадання.
Проміжки між
кільцями 10 забезпечать виконання вимоги
і неможливість прояву комбінованого
резонансу, який можна розглядати також як рівність сліду довжини кола шпангоута
і сліду довжини колової хвилі на площину, паралельну до фронта хвилі [4].
Таким чином,
використання пропонуємого технічного рішення дозволить, за допомогою нових
властивостей, ліквідувати загрозу виникнення резонансу в корпусі на низьких
звукових частотах, ліквідувати небажане збурення рідинностатичної складової
підвісу і гіровузла в експлуатаційних умовах і зменшити похибки вимірювань
кутової швидкості рухомих об’єктів.
Джерела
інформації:
1. А.с. СССР № 1779129, Поплавковий гіроскоп [Текст]/ G01С19/20, 1996.
2. Данилин, В.П.. Гироскопические приборы [Текст]: уч. пособие/ В.П. Данилин. – М.: Высш. шк., 1965. - 539 с.
3. Ригли, У. Теория, проектирование и испытание гироскопов [Текст]: пер. с анг./ У. Ригли, У. Холлистер, У. Денхард.. – М.: Мир, 1972. - 416 с.
4. Заборов, В.И. Теория звукоизоляции ограждающих конструкций [Текст]:
моногр./ В.И. Заборов. – М.: Изд-во литературы по строительству, 1969. – 185 с.
(рис. 19, рис. 20, стр. 46-48).