Д.т.н. Азаров Валерий Николаевич,

к.т.н. Боровков Дмитрий Павлович

Волгоградский государственный архитектурно-строительный университет,

Россия

к.т.н. Чичиров Константин Олегович

Пензенский государственный универси­тет архитектуры и строительства, Россия

 

Повышение устойчивости работы систем аспирации посредством закрутки аспирационных потоков

 

При эксплуатации систем аспирации предприятий строительной отрасли с течением времени происходит образование пылевых отложений в воздуховодах аспирационной сети. Одной из главных причин, обуславливающих образование пылевых отложений в воздуховодах систем аспирации предприятий строительной индустрии, являются полидисперсность пылевых частиц, содержащихся в газах, отходящих от аспирируемого оборудования [1, 2].

 В виду вероятностного характера процессов механического измельчения материалов, характерного для строительной отрасли, максимальный диаметр частиц пылевидного материала является случайной величиной. Несмотря на то, что вероятность значительного отклонения максимального диаметра пылевых частиц от своего среднего значения невелика, величина этого отклонения может быть существенной. Таким образом, в течение достаточно длительного промежутка времени число случаев превышения расчетной величины максимального диаметра частиц пылевидного материала может стать значительным. Попадание в аспирационную сеть частиц, диаметр которых превышает максимальный расчетный,  может привести к выпадению их из газового потока и отложению на дне и стенках воздуховода. 

Другой немаловажной причиной образования отложений пыли в воздуховодах систем аспирации строительной индустрии является повышенная адгезионная способность пылей, характерных для строительной отрасли [1, 2].

Еще одним фактором, обуславливающим образование отложений пылевых частиц в воздуховодах систем аспирации строительных производств, является изменение количества аспирационного газа, отводимого от аспирируемого оборудования. Подобная ситуация может возникнуть в ряде случаев, таких как:

-                     отключение некоторого количества единиц аспирируемого оборудования;

-                     изменение технологической нагрузки на аспирируемое оборудование;

-                      отключение части пылеулавливающих аппаратов (например при регенерации рукавных фильтров).

Учитывая тот факт, что величина аспирационного объема, который необходимо удалять от оборудования для обеспечения его нормальной работы, лежит в определенных пределах и, как правило, регламентирована для большинства видов оборудования, необходимым условием его надежного и экономичного функционирования является способность системы аспирации обеспечивать проектную величину аспирационного объема.

При снижении объема газа, проходящего по воздуховодам системы аспирации, происходит уменьшение скорости газового потока. Следствием этого является снижение транспортирующей способности аспирационного потока.

Таким образом, при существенном понижении объема аспирационного газа, отводимого от оборудования системой аспирации, может начаться процесс образования пылевых отложений на внутренних поверхностях воздуховодов.

Одним из возможных решений проблемы недостаточной транспортирующей способности газового потока является организация его закрутки.

Повышенную способность закрученного газового потока приводить в движение и переносить твердые пылеобразные частицы отмечали в своих работах ряд исследователей. Так, например, в работе [3] описан показательный эксперимент, направленный на сравнительную  оценку транспортирующей способности осевого и закрученного потока. В ходе эксперимента на дно протяженного горизонтального воздуховода, по которому протекал незакрученный воздушный поток, помещался пылевидный материал. Скорость потока выбиралась таким образом, чтобы его транспортирующая способность была недостаточной и пылевые частицы оседали на дно воздуховода. Затем, без проведения каких либо дополнительных изменений, к входу воздуховода прикреплялся закручиватель.  При этом пылевые частицы, приобретая винтообразную траекторию, уносились со дна воздуховода. Данный пример убедительно доказывает преимущество транспортирования пылевидных частиц по воздуховодам при помощи закрученного потока.

Для организации закрутки потока в воздуховодах систем аспирации наиболее подходят закручивающие устройства тангенциального типа. Выбор тангенциальных закручивающих устройств обусловлен отсутствием внутренних направляющих элементов, подверженных образованию пылевых отложений, а также конструктивной простотой и легкостью изготовления.

В виду того, что снижение аспирационного объема может носить лишь временный характер, применение закручивающих устройств в системах аспирации повлечет за собой неоправданное увеличение затрат энергии при работе системы в режиме полной нагрузки. Этим обусловлена потребность в устройствах, обеспечивающих работу аспирационной сети в режимах аксиального и закрученного потоков.

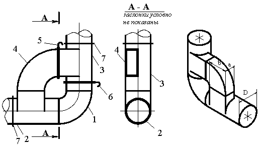
 Для организации закрутки аспирационного потока в воздуховодах аспирационной сети во время работы системы в режиме пониженного расхода аспирационного газа предложен комбинированный тангенциальный отвод – закручиватель, конструкция которого представлена на рис.1.

При работе системы аспирации в основном режиме байпасный патрубок (4) герметично закрыт при помощи заслонки (5), заслонка аксиального патрубка (6) открыта и из выходного патрубка (2) выходит аксиальный аспирационный поток. Для создания закрутки газового потока, проходящего через тангенциальный отвод – закручиватель, заслонка (5) тангенциального патрубка открывается, а заслонка (6) аксиального патрубка  переводится в закрытое положение.

В настоящий момент, тангенциальные отводы-закручиватели установлены на ряде аспирационных систем предприятий строительной индустрии. Для примера предлагается рассмотреть аэродинамические характеристики системы аспирации сушильного барабана кирпичного цеха №2 Себряковского комбината асбестоцементных изделий.

 

Рис. 1.

Комбинированный тангенциальный отвод закручиватель:           1 – отвод; 2 – выходной аксиальный патрубок закручивателя;   3 – входной аксиальный патрубок закручивателя;                         4 – тангенциальный патрубок; 5,6 – заслонки; 7 – присоединительные фланцы

 

Аспирационная система предназначена для улавливания пыли и частиц глины содержащейся в отходящих от сушильного барабана газах.  В виду больших габаритов и компоновочных особенностей пылеулавливающей установки, а также в связи с плотной компоновкой технологического оборудования на территории цеха пылеуловители размещены на значительном расстоянии от сушильного барабана, в виду чего аспирационная сеть имеет значительную протяженность горизонтальных воздуховодов.

При работе сушильного барабана Б – 2,2 – 16 в режиме проектной мощности, выход высушенного глиняного сырья составляет 14,2 т/час. При таком режиме работы расход газов, отводимых от барабана системой аспирации, по проекту составляет 28000 нормальных м3/час.

 Сушильный барабан подготавливает сырье для трех технологических линий по производству керамического кирпича и в случае плановой или профилактической остановки одной или двух линий его производительность может понижаться в два - три раза. В целях снижения расхода тепловой энергии и уноса пыли в систему аспирации расход газа, отводимого от барабана, снижается пропорционально его производительности. При этом для поддержания необходимого для эффективной работы пылеуловителей ВИП – 800 значения расхода аспирационного газа, в режимах пониженной нагрузки производится отключение одной или двух боковых ветвей пылеулавливающей установки.

Анализ графика технологических и профилактических перерывов в работе линий по производству керамического кирпича и подсчет среднего количества и продолжительности внеплановых и аварийных остановок позволил определить время работы сушильного барабана в режимах максимальной, средней и минимальной производительности. Учитывая  то, что аспирационный объем, отводимый системой аспирации от сушильного барабана изменяется прямо пропорционально технологической нагрузке, вычислено время работы системы аспирации в режиме с расходом аспирационного газа, соответствующим режиму работы барабана.

Наблюдения за работой системы аспирации позволили установить, что  с течением времени происходит существенное снижение величины аспирационного объема.

Таким образом, исходя из вышеперечисленных фактов, следует: процессе эксплуатации системы аспирации происходит оседание пыли в воздуховодах. Образование пылевых отложений вероятнее всего происходит в режиме работы системы аспирации при пониженном и минимальном расходе аспирационного газа.

Для предотвращения образования пылевых отложений в воздуховодах системы аспирации было принято решение организовать закрутку аспирационного потока в режимах работы системы аспирации с пониженным расходом газа. Для этого стандартный аспирационный отвод в месте соединения вертикального воздуховода отходящего от сушильного барабана и горизонтального воздуховода присоединенного к пылеулавливающей установке заменен на комбинированный тангенциальный  отвод – закручиватель  (рис. 2.).

Результаты аэродинамического расчета системы аспирации после реконструкции, при работе в основном режиме и режиме с пониженным расходом аспирационного газа  показывают что, в основном режиме работы, потери давления системы аспирации с установленным комбинированным тангенциальным отводом – закручивателем практически не отличаются от потерь давления системы до реконструкции. 

При работе в режиме пониженного на две трети расхода аспирационного газа, потери давления системы аспирации с комбинированным тангенциальным отводом  – закручивателем, работающем в режиме закрутки потока, лишь незначительно (на 4,5%) больше потерь  при аналогичном  режиме работы системы аспирации до реконструкции.  При этом условия транспортирования пылевидных частиц в горизонтальном воздуховоде, значительно улучшаются по сравнению с условиями, наблюдаемыми при осевом течении аспирационного потока.

 

Рис. 2.

Схема системы аспирации сушильного барабана кирпичного цеха №2 Себряковского комбината асбестоцементных изделий после реконструкции.

 

Проведенные после реконструкции системы аспирации аэродинамические испытания показали, что результаты практических измерений соответствуют результатам теоретических расчетов. Результаты замеров аэродинамических характеристик системы аспирации, проведенных со значительными временными интервалами,  практически совпадают. Данное обстоятельство позволяет сделать вывод о том, что после реконструкции системы аспирации образование пылевых отложений в воздуховодах аспирационной сети прекратились. В результате установки комбинированного отвода – закручивателя при работе системы с полной нагрузкой в режиме незакрученного потока аэродинамическое сопротивление возросло с 2000 Па до 2080 Па, что составляет менее 5% и находится на нижнем уровне точности измерений. Закрутка аспирационного потока позволяет системе устойчиво работать при расходе аспирационного газа в две трети и треть от номинального. Экономия энергии при этом составляет соответственно 52,7 % и 68,9 %.

 

Таким образом, реконструкция системы аспирации, заключавшаяся в замене стандартного вентиляционного отвода, комбинированным тангенциальным отводом – закручивателем позволила обеспечить надежное функционирование системы аспирации при сниженной величине аспирационного объема. При проведении реконструкции не потребовалось каких либо существенных изменений в аспирационной сети и замены тягодутьевого оборудования. Также не произошло существенного увеличения затрат энергии, и прочих эксплуатационных затрат.

 

Выводы:

1.                 Аспирационные сети предприятий строительной индустрии, с течением времени подвержены забиванию вследствие образования пылевых отложений.

2.                 Наиболее подвержены образованию пылевых отложений системы аспирации с изменяющимся аспирационным объемом.

3.                 Закрученный газовый поток характеризуестя меньшими значениями скоростей трогания и транспортирования пылевидных частиц.

4.                 Применение закрутки потока в воздуховодах систем аспирации позволяет предотвращать образование пылевых отложений, существенно повышая устойчивость работы систем аспирации при снижении аспирационных объемов.

 

 

 

 

Литература:

1.                 Применение закрученных потоков в системах аспирации строительной отрасли / В.Н.Азаров, Д.П. Боровков // Объединенный научный журнал. – 2003. –  №5 (63).  – С. 102 - 104.

2.                 Желтобрюхов В.Ф., Боровков Д.П. Анализ причин забивания систем аспирации строительной отросли // Науч.- практ. конф. «Проблемы охраны производственной и окружающей среды». – Волгоград, 2001. – С. 84 - 87.

3.                 Кононенко В.Д., Бунин В.В. Некоторые особенности пневмотранспорта закрученным потоком: Сб. Совершенствование систем очистки выбросов и поддержания микроклимата производственных зданий. – Пенза, 1987. С. 14 - 18.