Прилепский Д.В.
Волгоградский государственный архитектурно-строительный университет, Россия
ПРОБЛЕМЫ ЭКСПЛУАТАЦИИ СОВРЕМЕННЫХ
ФОРСУНОЧНЫХ КАМЕР ОРОШЕНИЯ
Огромное количество систем
кондиционирования воздуха общественных и промышленных объектов России оборудовано
камерами орошения, причём большинство из них вышли из строя и требуют замены. Потребитель
готов поменять существующие камеры на аналогичные новые, сохранив сами
кондиционеры, так как полная замена оборудования требует серьёзных материальных
затрат и часто связана с технологическими сложностями. Поэтому исследования,
направленные на улучшение энергетических и эксплуатационных характеристик
форсуночных камер, остаются актуальными и в настоящее время.
Типовые форсуночные камеры в
отечественных и зарубежных кондиционерах обладают рядом недостатков:
– большие габариты (ограничение
скорости воздуха до 3 м/с);
– невысокие значения объемных
коэффициентов тепло- и массопереноса (причиной является неравномерное и неэффективное
распределение капель в дождевом объеме камеры);
– низкие эксплуатационные
показатели (быстрая засоряемость форсунок и трудоемкость их чистки).
Эффективность процессов тепло- и массопереноса в
камерах орошения в значительной мере зависит от распределения распыленной
жидкости в дождевом объёме камеры, так как именно совокупность взвешенных
капель создаёт поверхность переноса, а размер, скорость и направление движения
капель определяет значения локальных коэффициентов переноса.
Распределение капель в объеме камеры орошения определяется
формой, плотностью и равномерностью факела распыла единичной форсунки, а также
схемой расположения форсунок внутри камеры.
Давно известно, что плотность распределения жидкости как
в радиальном, так и в окружном направлениях факела распыла центробежной
форсунки неравномерна [1, 2], но причины этого явления чётко не сформулированы.
Так в работе [1] указано, что «основными причинами неравномерного распределения
жидкости вокруг оси факела являются различные асимметрии распылителя, связанные
с его конструкцией (конечное число входных каналов), или качеством его
изготовления (эксцентриситет сопла по отношению камеры закручивания, различие в
размерах входных каналов, наличие рисок и заусенцев)». Как видно, указанные
причины не раскрывают физической сути явления.
Так в работе [5]
описана методика и представлены результаты исследования, которые позволили
получить объективную и наглядную информацию о плотности распределения воды в
факелах распыла центробежных форсунок с одним тангенциальным каналом. Анализ данных
указал на значительную неравномерность расхода как в радиальном, так и в
окружном направлениях.
Для выяснения причины неравномерного распределения
воды, а также для уточнения физической картины течения жидкости в центробежных
форсунках проводились исследования воздушного вихря и толщины плёнки жидкости в
камере закручивания и на срезе сопла форсунки [5].
Полученные результаты позволили установить реальную
физическую причину неравномерного распределения жидкости в факеле распыла центробежных
форсунок, которая состоит в том, что плёнка жидкости на срезе сопла имеет
разную толщину из-за несоосности воздушного вихря и сопла. Указанное смещение
вызвано тем, что воздушный вихрь ведёт себя как упругое тело, он прогибается
внутри камеры закручивания под действием потока жидкости, поступающего в
форсунку через тангенциальный канал, и при этом торец вихря на срезе сопла
смещается относительно оси сопла.
Результаты исследований имеют важное значение для
теории центробежных форсунок, так как многие специалисты связывают с толщиной
плёнки дисперсность распыла и, кроме того, подтверждают целесообразность
применения в камерах орошения форсунок двустороннего распыления, которые, как
показал опыт эксплуатации, реже засоряются и обеспечивают более тонкое
распыливание воды, что повышает энергетическую эффективность камер орошения
[3].
Однако для того чтобы применять
форсунок двустороннего распыления в камере орошения и избежать неэффективного
направления факелов распыла от форсунок по ходу воздуха в сторону выходного
сепаратора потребовалось решить вопрос об их оптимальной компоновке в дождевом
объёме камер.
В исследованиях В.Д. Коркина [2] было
предложено установить форсунки поперёк воздушного потока, так чтобы они распыляли
воду снизу вверх. К сожалению, это предложение не получило практического внедрения.
Поперечная компоновка форсунок в
дождевом объёме камеры орошения особенно актуальна для форсунок двустороннего
распыления, так как они создают два факела, направленных в противоположные стороны.
Было также предложено на пути
факелов распыла установить короткие каплеотбойные цилиндры и направить отражённые
от внутренней поверхности цилиндров факелы горизонтально, поперёк потока
воздуха.
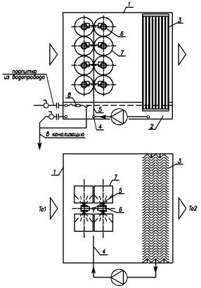
Принципиальная схема устройства форсуночной
камеры представлена на рис.1.
Форсуночная камера орошения имеет корпус 1, поддон 2 с установленным в нем пластинчатым сепаратором 3, горизонтальный коллектор 4 со стояком 5. На стояке установлены форсунки двустороннего распыления 6. Факелы распыла направлены поперек
потока воздуха и на пути каждого факела
установлены каплеотбойные цилиндры 7.
Цилиндры расположены вертикальными рядами вплотную друг к другу и собраны в
кассеты, которые крепятся к корпусу камеры. В поддоне установлен поплавковый
клапан 8, который регулирует верхний
и нижний уровни воды.

Рис. 1 Принципиальная схема устройства форсуночной камеры.
Форсуночная камера работает следующим образом.
Обрабатываемый воздух поступает через входной патрубок в корпус камеры 1 и контактирует с водой, распыляемой
двусторонними форсунками 6.
Мелкодисперсные факелы распыла, отраженные от внутренних поверхностей
каплеотбойных цилиндров 7, полностью
и равномерно перекрывают все живое сечение камеры для прохода обрабатываемого
воздуха. Вода, попадая в поддон 2,
забирается циркуляционным насосом и вновь подается к форсункам.
Новая конструкция форсуночной
камеры позволяет устранить практически все, указанные выше недостатки. В
камерах орошения новой конструкции было предложено использовать форсунки
двустороннего распыления, которые как показал опыт эксплуатации, реже
засоряются и обеспечивают более тонкое распыление воды [1].
За счет новой конструкции
каплеуловителя повышается скорость воздуха до 5 м/с. Поперечное расположение
форсунок и применение каплеотбойных цилиндров позволяет уменьшить длину камеры
до 1,5м вместо 2,4м, а также отказаться от входного каплеуловителя. Благодаря
отсутствию входного каплеуловителя стал возможен доступ к форсункам во время
работы кондиционера и насоса, что упрощает и резко сокращает трудоемкость их чистки.
Предложенная конструкция камеры
обеспечивает необходимую политропную или адиабатную обработку воздуха при
меньших энергетических затратах.
Главное преимущество – это решение
может быть реализовано в камерах орошения любой конструкции, в кондиционерах
производительностью от 5 000 до 250 000 м3/ч.
Производственные испытания камер
орошения, установленных в энергетическом комплексе торгового центра «Три кита» в
г. Москве подтвердили основные преимущества новой камеры орошения:
− более
эффективная обработка воздуха при меньшем расходе воды и, соответственно, при
меньших энергозатратах;
− меньшее
количество стояков и форсунок;
− меньшая длина
по ходу воздуха (1500 вместо 2400 мм);
− возможность
применения предложенного решения на существующих камерах любой модели и на вновь
проектируемом оборудовании производительностью от 5 до 250 тыс. м3/ч;
− возможность
увеличения расхода воздуха на 20-30% больше номинального при тех же габаритах,
так как в камерах устанавливаются более эффективные выходные каплеуловители,
работающие при скорости воздуха до 4,5 м/с;
− отсутствие
входных каплеуловителей, что позволяет контролировать работу камер орошения со
стороны входа воздуха при работающем кондиционере и насосе.

Рис. 2 Фото промышленной камеры орошения со стороны входа воздуха
на торговом центре «Три кита»
г. Москва
Последнее преимущество оказалось решающим при
проектировании центральных кондиционеров для объекта, на котором требуется
непрерывная работа оборудования в течение 10 000 часов, допускаются только
кратковременные отключения на 10-15 минут.
Этого времени вполне достаточно для быстрой замены
засорившихся форсунок при отключённом насосе и работающем кондиционере, так как
форсунки, требующие замены уже выявлены заранее при визуальном осмотре камеры с
включённым насосом.
В настоящее время в Волгоградской компании «ТЭК»
организовано серийное производство двусторонних форсунок и выходных
каплеуловителей для новых камер орошения. Подбор оборудования для промышленных
и общественных зданий выполняют специалисты НИЦ «Инвент».
БИБЛИОГРАФИЧЕСКИЙ СПИСОК
1.
Распыливание
жидкостей. «Машиностроение»,
М., 1967.
2.
Хавкин
Ю.И. Центробежные форсунки. «Машиностроение», Л., 1976.
3.
Тарабанов
М.Г., Видин Ю.В., Бойков Г.П. Тепло- и массоперенос в камерах орошения
кондиционеров. Красноярск, 1974.
4. Коркин В.Д. Исследование
дисперсного состава факела центробежных форсунок промывных форсуночных камер кондиционирования
воздуха. Материалы научно-технической конференции ВВИТКУ. Выпуск 6, Л., 1968.
5. Прилепский Д.В., Тарабанов М.Г.
Энергоэффективные камеры орошения для систем вентиляции и кондиционирования
воздуха. Журнал «АВОК». – 2012. №5 С. 24-33.