УДК 746 Системно -
структурное моделирование конструкций
головных уборов
к.т.н. профессор. Инкаров Б. Г.
Жатканбаева Ж. Н, преподаватель.
Калабергенова Г. Ш, преподаватель.
Академия Дизайна и Технологий «Сымбат»
Известно, какое важное значение имеют головные уборы в одежде челове-
ка [1,-.3,-5]. Системный подход к рассмотрению костюма позволят нагляднее продемонстрировать роль головного убора в нем. Положение головного убора (на голове, а не в руках, как это было в XVII в.) в вертикально развивающейся системе форм логично завершает, уравновешивает или усиливает это развитие вверх. Следует иметь в виду, что костюм уже с XVI в. является многослойным, каждый его слой состоит из частей одежды, облегающих соответственные части тела человека. Женский костюм складывается из верхней одежды и соответствующей ей по характеру шляпы, следующий слой — платье и чепец, который носили под шляпой, дальше — рубашка, к которой на ночь надевали ночной чепец (мужчины — ночной колпак). И в каждом слое одежды головной убор согласуется (адаптирует) с основной частью одежды не только по величине и характеру форм, но и по материалу, цвету, отделке. Головные уборы завершали систему форм костюма в каждом его слое.
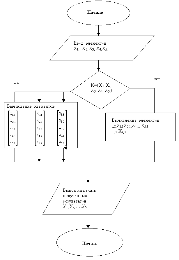
Целью настоящей статьи является математическое моделирование конструкций головных уборов с использованием графового принципа построения подсистемы (головного бора).
Считаем, что головной убор как целое состоит из следующих составных частей: макушечная часть, затылочная часть, лобная часть, височная часть [1,-3].
Введем следующие обозначения:
Х1 → макушечная часть;
Х2 → затылочная часть;
Х 3 → лобная часть;
Х4 → височная часть;
Х5→ поля;
Представим каждую часть более подробно. В частности имеем, что Х1 (макушечная часть) может быть:
Х1.1→ в виде круга;
Х1.2 → в виде эллипсоида;
Х1.3→ в виде прямоугольника;
Х2.
→ может быть;
Х2.1→ в виде эллипсоида;
Х2.2→ в виде плоского эллипса;
Х3. → может быть:
Х3.1→ в виде части эллипса;
Х3.2→ в виде прямоугольника; с козырьком;
Х3.3→
тоже без козырька;
Х4. → может быть:
Х4.1→ в виде части окружности, направленной вверх;
Х4.2→ в виде части эллипса; направленной вверх;
Х4.3→ в виде части конуса, направленной вверх;
Х4.4→ в виде удлиненной цилиндрической части, направленной вверх;
Х4.5→ в виде плоского удлинения, направленного вниз;
Х5.
→ может быть:
Х5.1→
без полей;
Х5.2.
→ с полями в виде части эллипса;
Независимо от того какая конкретно рассматривается система, всегда можно утверждать, что для её описания можно указать конечное число характеристик и параметров системы [4]. Характеристику систем обозначим через Х. Тогда имеем Х= {Х1, Х2, Х 3, Х4, Х5.}, где Х – вектор характеристик системы; Х1, Х1.2, Х 1.3, Х1.4, Х1.5.- различные качественные характеристики системы, являющиеся составляющими вектора Х , Здесь Х1, Х2, Х 3, Х4, Х5 называются компонентами системы. Причем Х не связано с направлением, а означает только то, что система может иметь n характеристик. В нашем случае n равно пяти.
Х1.1, Х1.2, и.т.д. это элементы качественных характеристик Х1, Х2.1, Х2.2 …, элементы характеристик Х2. Аналогично имеем, где Х3, Х4, Х5. Таким образом, каждая характеристика Х J может иметь разные состояния и представлены виде таблице 1.
Таблице 1- Отобразим все состояния в виде таблицы:
|
Х1 |
Х2 |
Х3 |
Х4 |
Х5 |
|
Х1.1 |
Х2.1 |
Х3.1 |
Х4.1 |
Х5.1 |
|
Х1.2 |
Х2.3 |
Х3.2 |
Х4.2 |
Х5.2 |
|
Х1.3 |
|
|
Х4.3 |
|
|
|
|
|
Х4.4 |
|
Соединим выделенные точки по определенному правилу, используя метод направленных графов. Для получения графа необходимо каждую точку предыдущих множеств соединить со всеми точками последующего подмножества, точки же одного подмножества между собой соединять нельзя. Полученный граф называем упорядоченным ориентированным. В нем можно менять местами число как сами множество Х1, Х2 , Х 3 , Х4, Х5, так и их элементы (вершины точек). Каждая пара вершин соседних множеств Х1, Х2 …, соединяется линией, которая называется дугой графа. Нас интересуют только пути от миноранты до мажоранты на графе. Два пути называется независимыми, если они отличаются хотя бы одной дугой. Следует отметить, что число независимых путей на ориентированном графе равно произведению числа элементов в подмножестве ХJ , где J= к1…, n. Каждый путь на графе G от миноранты до мажоранты может отобразить характеристику какой – либо системы, т.е. МJ , Є, М(G) , где М(G) – множество путей на графе.
Для достижения вполне определенной цели необходимо определенную часть характеристик менять по определенному алгоритму. Это подмножество характеристик назовем управляемым и обозначим R т.е . R= {Х1.1, Х1..2 …, Х2.1, Х2.2…, Х 3.1, Х 3.2…, Х4.1, Х4.2., Х5.1, Х5..2.}, где Х1.1, Х1..2 …, Х 3.1, Х 3.2…, Х4.1, Х 5.1, Х 5.2 управляемые характеристики. Таким образом, каждая характеристика VJ имеет конечное число сложений, т.е Хj ={ ХJ .1, Xj.2…,Xjn}, где J – индекс характеристики n – число дискретных состояний характеристики. Переменные Хj отобразим на квазиупорядочный граф G = (Х,Г).
Представим граф в следующем виде:
Х1.1 Х2.1 Х3.1 Х4.1 Х 5.1

Х 1.2 Х 2.2 Х 3.2 Х 4.2 Х5.2
Х4.3
Х4.4
Х1.3 Общее количества вариантов
равно: N
= 3* 2* 2* 4*2= 96.
Блок схема проектирования конструкций головных уборов.
.

Х 1.1 = f 1(Р1)
Х 1.2 = f 2(Р2)
Х 2.1 = f 3(Р3)
Х 3.1 = f 4(Р4)
Х 4.1 = f 5(Р5)
Х 5.1 = f 6(Р6)
Х 1.3 = f 7(Р7)
Х 4.3 = f 8(Р8)
![]()
|
f1 = {Х1.1; Х1.2; Х2.1; Х4.1 }− Береты f 2 = { Х1.1; Х1.3; Х3.1; Х4.2}− Пилотки. f 5 = { Х1.1; Х2.1; Х3.2; Х4.1} − Кубанки. f6 = { Х1.1; Х1.1; Х3.1; Х4.2}− Шляпы |
f f4 = {Х1.1; Х2.1; Х3.1; Х4.4 }− Кепки f7 = {Х1.1;
Х2.1; Х3..2; Х4.3 }−Конусообразный
бoрик , f8 = {Х1.1; Х2.1; Х 3.2; Х4.4 }− Панамки |
и.т.
д., всего N = 96.![]()
На основании изложенного можно сделать следующие выводы:
1. Математическая модель конструкций головных уборов позволяет получить множество конструктивных решений на основе выбора различных вариантов основных характеристик системы и их состояний.
2. Выбор состояний основных характеристик зависит как от функционального назначения основных элементов, так и от изобретательности и творческого подхода к их выбору разработчиком.
3. Выбор конкретного конструктивного решения зависит от функций цели и выбранного критерия оптимальности. Зачастую критерием выбора является функциональное назначение, соответствующее назначению изделия, её оригинальность, соответствие направлению моды, простата изготовления, низкая себестоимость.
4. Математическое моделирование создает предпосылки для разработки программного обеспечения и перехода на автоматизированный процесс конструирования головных уборов.
Литература:
1.Рытвинская Л.Б., Смородина И.Г., Меркулова Л.А. Проектирование и производство головных уборов. Легпромбытиздат.1987г.
2.Рытвинская Л.Б. Художественное проектирование головных уборов. М ., 1987г.
3.Булатова Е.Б. Моделирование и конструирование головных уборов. М. Альфа 2007г
4. Инкаров Б.Г. Разработка научных основ системного проектирования и методов расчета машин производства кожи и меха из кожи. Автореферат докторской диссертации. Алматы 2009г.
5. Рытвинская Л.Б. Художественное проектирование головных уборов. М., Альфа 2005г
Аннотация
В работе представлена математическая модель создания конструкций головных уборов с использованием теории графов. Получены множество вариантов, позволяющих удовлетворить требования по различным показателям, предъявляемым к изделию. Использование математического моделирования и творческого подхода к выбору геометрии элементов системы создают предпосылки для разработки конструкций, обладающих новизной и оригинальностью.