К.т.н. Гордєєв А.І.
У багатьох галузях промисловості усе більш широке
застосування знаходять вібраційні технологічні процеси, розроблені під
керівництвом Р.Ф. Ганієва, Н.І.Кобаско, І.М.Федоткина, І.С.Гулого у яких
використовуються багатофазні рідинні
середовища. Це можуть бути розплави металів, скла і полімерів, суспензії
твердих часток і газових пухирців у рідині, мілко дисперсні суспензії крапель у
газоподібному чи рідкому середовищу і т.п. При здійсненні процесів, пов'язаних
з необхідністю рівномірного розподілу різних фаз у рідкій основі (одержання
композитів і піноматеріалів) або їхньої сепарації з рідини (дегазація і
флотаційне збагачення), теплогенерації та зміни властивостей води, істотного
значення набуває можливість прогнозування реакції таких систем на різного роду
зовнішні періодичні впливи.
Як показали раніше виконані
дослідження динамічних явищ у багатофазних рідинних середовищах, підданих
керованим вібраційним впливам [1,2], багато
з них можуть бути успішно використані як для інтенсифікації зазначених
процесів, так і при розробці і реалізації принципово нових технологічних
прийомів, а саме зміни властивостей та знезаражуванню водних потоків
[3,4,5,6,7,8,9,10,11].
На
даний час накопичено чисельний експериментальний матеріал про фізико-хімічні
властивості чистої води та водних систем, надійно встановлені деякі деталі
будови та властивостей води, однак багато питань поки що залишається без
відповіді. Власне структура та властивості чистої води визначають комплекс
специфічних властивостей її, як розчинника і цим відрізняють від неводних розчинників.
Воді властива також винятково
висока діелектрична проникність, що обумовлює велику її розчинюючу здатність [12].
Таким чином, змінюючи структуру води і форми
перебування в ній домішок, можна регулювати фізико-хімічні властивості води.
Від структурованості води залежать і багато інших
її властивостей, наприклад зміна діамагнітної сприйнятливості води при
підвищенні температури. Причиною цього явища вважається порушення
упорядкованості структури води [13]. Структура молекули води встановлена досить
точно (див.рис.1, рис.2). [12].
Геометрія молекули води, з точки зору описання їх
у вигляді форм електронних хмарин, які приймають участь у зв’язках,
представлена на рис.3. Молекула води складається з 10 електронів (5 пар) з яких
одна пара електронів (внутрішніх) розташована поблизу ядра кисню, а з інших 4
пар електронів (зовнішніх) по одній парі усуспільнене між кожним із протонів і
ядром кисню, тоді як 2 пари залишаються неподіленими і спрямовані до
протилежних від протонів вершинам тетраедра. Саме ці неподілені пари відіграють
велику роль у виникненні міжмолекулярних водневих зв'язків [12]. Наявність
водневих зв'язків додає воді специфічну, лабільну структуру. Основні роботи в
цій області Вернала і Фаулера [14] одержали надалі широкий розвиток.
Докладна систематизація й аналіз досліджень у цьому напрямку отримало подальший розвиток
у багатьох монографіях [15-18].
Важливі моделі структури води, що пояснюють її
аномальні властивості, розроблені О.Я. Самойловим, Полингом, Франком-Немети,
Шарага, Поплом і ін. Ажено, виходячи з загальних квантово - механічних положень, обґрунтував можливість
існування лише двох зв'язків у молекулі води й утворення структури, що
складається з кілець або лінійних ланцюжків.
Оцінюючи безліч гіпотез про структуру води, не
можна не погодитися, що жодна з теорій не є цілком задовільною і жодна з них не позбавлена істини [18].
|
|
|
|
|
Рис.1 – Схема
водневих зв’язків у молекулі води: О – кисень; о – водень; ___ –
хімічний зв’язок; - - - –
водневий зв'язок |
Рис. 2 –
Модель молекули води: а – пласка
модель; б – просторова модель з
розподілом мас та електронної конфігурації; в - просторова тетраедрична |
Рис. 3 –
Схема побудови молекули води у
вигляді електронних орбіталей водню та
орбіталей кисню |
При поясненні багатьох експериментальних даних
найчастіше користуються так називаними двох структурними моделями, що
припускають одночасну присутність у воді льодоподібних і щільно упакованих структур.
Особливості водневого зв'язку у воді обумовлюють
можливість виникнення і зникнення довго живучих мікрообластей з льодоподібною
структурою, так званих "мерехтливих груп", їхнє плавлення і розпад не
зв'язані із значними енергетичними змінами.
Варто оцінити, хоча б приблизно, енергію,
необхідну для зміни структури води. Важко знайти першопричину, але часто вказується, що розриви водневих
зв'язків є обов'язковою передумовою зміни структури води. Отже, для такої зміни
необхідно затратити енергію порядку 16,7-26,1 кДж/моль (4-6 ккал/моль) [12].
Однак є ряд вагомих розумінь, насамперед у роботах И. Попла [19], що свідчать
про необов'язковість розриву водневих зв'язків. Структурні зміни під впливом
різних зовнішніх впливів -температури, тиску або магнітних полів - визначаються
також великим або меншим вигином зв'язків
(зміною кута між лінією, що з'єднує центри найближчих молекул води, і напрямком зв'язку О-Н однієї з цих молекул).
Енергія, необхідна для вигину водневих
зв'язків, незмірно менше енергії їхнього розриву, бо того ж одночасна
деформація кута і довжини зв'язку молекул
енергетично більш вигідна, чим деформація тільки кута або тільки довжини
зв'язку [17].
Таким чином, зміна структури води можлива при
витраті енергії набагато меншої енергії водневих зв'язків.
Дослідження показали, що вода є відкритою,
динамічною, структурно–складною системою, у якій стаціонарний стан легко
порушується при будь-якому зовнішньому впливі.
Справа в
тім, що молекула води має здатність утворювати водневі зв'язки. Простіше
говорячи, створювати «водневі містки» (асоціати), якими вона може дотикатися до
інших молекул води. Однак ці водневі містки вважалися недовговічними: одна
мільярдна частка секунди – і їх вже немає.
Провідний
науковий співробітник, кандидат хімічних наук, кандидат філософських наук С. В.
Зенин ( доктор біологічних наук, керівник проблемної лабораторії наукового
обґрунтування традиційних методів діагностики і лікування НКЭЦ ТМДЛ МЗРФ –
науковий клініко–експериментальний Центр традиційних методів діагностики і
лікування, МЗРФ) разом із групою колег знайшов у воді водневі
містки-довгожителі, а потім виявив і так звані суперстабільні кластери
(скупчення) – структурні елементи води.
Саме з
таких елементів, вигадливо зв'язаних один з одним, і складається знайома нам
рідина. Кожна молекула води являє собою «диполь». Це значить, що вона
складається з позитивного і негативного полюсів, що взаємно притягаються.
Завдяки цьому молекули через водневі містки з'єднуються у великі розвиті
структури – кластери рис.4 [20]. Існує
нескінченна розмаїтість кластерів, тому що водневі містки дозволяють молекулам
води з'єднуватися всілякими способами.
Українські дослідники А.Н.
Смірнов, В.Б. Лапшин та ін. при вивчені структури води виявили гігантськи
гетерофазні кластери води та кооперативний анізотропний рух дисперсних
гідрофільних часток з розмірами 0,5-10 мкм, що відновлюється після будь–якого
механічного гідродинамічного збурювання розчину в межах однієї хвилини [21].
Для пояснення кооперативності руху гідрофільних часток було
висунуте припущення про утворення молекулярними комплексами води фрактальних
структур більш високих порядків розмірів, що формують осцилюючі полімерні гігантській гетерофазні кластери
води, що і відіграють роль напрямних при русі
часток дисперсної фази.
За допомогою методів малокутового розсіювання й амплітудно–фазової
модуляції лазерного випромінювання (633 нм) показане існування гігантських
гетерофазних кластерів упорядкованої води з розмірами від 10 до 120 мкм, що
чергуються з менш упорядкованими ділянками. Розміри і просторове розташування
кластерів різні для звичайної і важкої води, а також залежать від складу
водяних розчинів. Показано, що при змішуванні етанолу з водою чи важкої води з
Н2О спирт (чи D2О) заповнює спочатку ділянки неупорядкованої води
(перша швидка екзотермічна стадія тривалістю декілька секунд), а потім реагує
із зазначеними (друга, ендотермічна, стадія тривалістю від десятків секунд до
хвилин) кластерами води. В роботі [21] обговорюються умови кінетичної стабілізації
гігантських гетерофазних кластерів, а також їхня роль у переносі забруднюючих
речовин у поверхневих природних водах.
|
|
|
Рис. 4 - Моделі
кластерних структур води
Молекули
води та деякі інші складові її частинки мають по два електричних різнойменних
рівних за величиною точкових зарядів, які знаходяться на деякій відстані один
від одного, тобто вони є діполями води. Диполі є основною причиною утворення
мікрокластерної структур води. Молекули питної води зазнають в організмі
структурно - орієнтаційну
впорядкованість, тобто перетворення її в так звану живу воду, на що витрачається
близько 70% енергії її засвоєння організмом.
Одним з явищ, яке впливає на дисперсність та хімічний склад рідини, є кавітація.
Кавітація - явище розриву краплинної рідини під дією напруг, які виникають при
розрідженні в розглянутій краплині рідини. При розриві краплинної рідини
утворяться порожнини - кавітаційні пухирці, заповнені паром, чи газом. Отже, розрив рідини обумовлений зміною
характеристик поля швидкостей і тисків. Кавітаційні пухирці утворяться в тих
місцях, де тиск у рідині стає нижче деякого критичного. Якщо тиск знижується
внаслідок зростання місцевих швидкостей потоку краплинної рідини, то кавітація
називається гідродинамічною, якщо зниження тиску викликане проходженням
акустичних хвиль, то кавітація називається акустичною. Критичний тиск, при
якому відбувається розрив рідини, залежить від багатьох факторів: від чистоти
рідини, вмісту повітря, стану поверхні, на якій виникає кавітація. Кавітація
може виникати в потоці рідини, що має перемінне поле тиску, а також поблизу і
на поверхні тіл різної форми — у місцях найбільшого розрідження. Перемінне поле
тиску створюється різним чином: у результаті зміни швидкості потоку (руху
тіла), впливу форми тіла, в наслідок коливальних впливів на рідину
(ультразвукових або вібраційних).
Отже, міцність рідини визначити можна, у
всякому разі, можна поставити розумно задумані досліди по її визначенню. А от
результати цих дослідів виявляються дуже різними. Різні автори повідомляють
самі різні дані про міцність води, визначеної відцентровим способом: 49 Н/см2;
56 Н/см2; 2800 Н/см2; 32500 Н/см2. Якому числу
вірити? Усі числа отримані надійними методами,
усі експериментатори сумлінні. З загальних розумінь ясно, що, коли мова
йде про міцність, вірити треба більшому числу, тому що в силу якоїсь випадкової
причини міцність може лише понизитися, але ніяк не може випадково зрости. Отож
тут слід зробити висновок: міцність води напряму
залежить від вмісту газових пухирців.
Газовий пухирець у рідині, навіть маленький, навіть невидимий оком, що
навіть ховається від сильного мікроскопа, здатний значно зменшити її міцність.
А значні локальні температури у місцях пульсації кавітаційних пухирців, викликаних перетворенням енергії деформації у тепло, можуть привести до значного локального розігріву як поверхні так і робочої середи.
Процес розвитку кавітаційної області передбачується в такий спосіб. При
сплескуванні кавітаційний пухирець може втрачати стійкість і розпадатися на
частині, а тому що тиск і температура в цей момент у пухирці максимальні, то
тиск і температура парогазовій суміші в "уламках, що утворилися," теж
підвищені. У фазі розтягання вони легко розширюються і стають новими зародками
кавітації, менш міцними, чим постійно наявні в рідині. Кавітаційні порожнини,
що виникли на цих зародках, пробуджують нові. Усередині кавітаційної області
йде безперервний процес розмноження і коагуляції кавітаційних пухирців, причому
кавітаційний поріг трохи зменшується, тому що в сталому режимі роль
кавітаційних зародків починають виконувати рівноважні пухирці, обсяг і
газовміст в яких більше, ніж у зародків [22].
Розрізняють гідродинамічну кавітацію, що виникає
за рахунок місцевого зниження тиску у потоці рідини при обтіканні твердого
тіла, і акустичну кавітацію, що виникає при проходженні через рідину акустичних
коливань. В даний час немає задовільної моделі кавітаційної області, що
адекватно описує її поводження і поводження приналежного до неї окремого
кавітаційного пухирця. Поводження кавітаційної області залежить від багатьох
явищ і факторів: розмноження і коагуляція (коалесценція) пухирців; їхня
взаємодія; зміна характеру пульсацій пухирця за рахунок ударних хвиль і
звукового випромінювання сусідніх пухирців; зміна середніх акустичних
властивостей середовища - мікропотоки усередині кавітаційної області і на
границі пухирця; розподіл зародків кавітації; газовміст і т.п.
Таким чином, кавітаційна область являє собою
своєрідний трансформатор потужності, у якому енергія, що повільно
накопичується, звільняється протягом дуже короткого часу, у результаті чого
миттєва потужність у багато разів перевершує середню, що вводиться
випромінювачем у кавітаційну область [23].
Виникнуло нове направлення по створенню вібраційного
обладнання для обробки води, з ціллю придання воді нових властивостей та її
знезараження.
Відомі
наукові роботи, в яких розглядаються
наведені вище технологічні процеси та
машини, стосуються здебільшого вузькоспеціалізованого різновиду
обладнання. На даний час є
фундаментальні праці, які присвячені
теоретичним основам вібраційного руху сипкого або рідинного середовища,
розрахунку вібраційних приводів, але відсутні основи проектування та
практичного розрахунку вібраційних технологічних машин де рідина є об’єктом
обробки.
У зв’язку з цим дослідження процесу коливань рідини та
розробка нових конструкцій технологічного вібраційного енергозберігаючого обладнання і зумовлюють актуальність роботи.
Запропоновано спосіб та обладнання для
утворення пульсуючих струменів рідини [24-28], в якому використовується
зворотно – поступальний рух рідини
через насадок із гострими крайками на вході. При цьому на виході з насадка
гідропульсатора (ГП) отримується пульсуючий струмінь рідини, а при певних
режимах його роботи струмінь рідини з включеннями газових пухирців, що
виділяються з рідини внаслідок кавітаційних явищ. Для реалізації, описаних вище
технологій, використовуються гідропульсатори, конструкції яких зображено на
рис.5, та рис.6.
Пульсуючий газорідинний
потік утворюється в пристрої (рис.5), який працює так: при рухові мембрани 3
вниз в камері 1 створюється розрідження і рідина втягується в камеру
через насадок 2. При ході мембрани вверх
відбувається стискання рідини і вона під тиском виштовхується через насадок із
камери. При протіканні рідини через насадок утворюється кільцева ізольована
порожнина, яка руйнується при досягненні певного тиску рідини в пульсаційній
камері. При руйнації кільцевої ізольованої порожнини з рідини починає
виділятися у вигляді газових пухирців повітря, що розчинене в рідині.
Пульсуючий потік рідини у
ГП (рис.6) виникає при зворотно – поступальному руху штока 3, з’єднаного з
поршнем 4, в якому є отвори. Для гасіння струменів рідини, які виникають при
ході поршня вниз, застосовано гумовий відбійник 5. При певних режимах
коливань в момент руху поршня уверх
виникають кавітаційні пухирці в зоні
розрядження між кришкою 2 та поршнем 4 з одночасним створенням струменів рідини
у отворах, насичених газовими пухирцями.
|
|
|
|
Рис. 5 – Конструкція мембранного гідропульсатора: 1 – камера; 2
– насадок; 3 – мембрана; 4 – шток |
Рис. 6 – Конструкция поршневого
гідропульсатора: 1 – корпус; 2 – кришка; 3 – шток; 4 – поршень з отворами; 5
– гумовий відбійник струменів; 6 –
кран. |
На стадії,
коли здійснюються непрямі дії акустичних коливань, на хід процесу можуть
впливати практично тільки хімічно активні гази - О2 і Н2.
У кінцевому рахунку, вплив кавітації на водні розчини зводиться до єдиного
процесу - розщепленню молекул води в кавітаційних пухирцях. Незалежно від
природи розчинених речовин, звук діє на одну речовину - на воду, що приводить
до зміни її фізико-хімічних властивостей: збільшенню рН, електропровідності
води, збільшенню числа вільних іонів і активних радикалів, структуризації й
активації молекул. Дослідження сонолюминесценції, звукохімічних реакцій і
висунуті численні гіпотези, що пояснюють ці явища, на даний момент дозволяють
зробити тільки один висновок: природа первинної активації молекул усередині
кавітаційного пухирця є або тепловою, або електричною. [29-31]. Крім цього,
різко збільшується швидкість реакції коливальне збуджених молекул води з
радикалами Н з виділенням складових – ОН, Н2 і коливальної енергії. Ці процеси насичують-рідину
елементами ОН-, О-, О+, О2, Н2
і коливальною енергією. З іншого боку зростають електричні нестаціонарні сили
взаємодії між сусідніми диполями, які, посилюють їх коливання як цілісного
об'єкту і збільшують вірогідність руйнування рідкокристалічної структури
рідини.
Для
підвищення ефективності процесу
необхідно збільшити крім того, одноразовість вказаних впливів, що
обумовлює високий ступінь зворотності реструктуризації, що, у свою чергу,
призводить до часткового повернення води до попередньої структури, та як
наслідок, до низького ступеня її кінцевої реструктуризації. Багато методів очищення, насамперед
пов'язане з хімічними та біологічними методами очистки. Хімічні методи використовують
хлорування в якості фундаментальної реакції. Хлорування забезпечує
обеззаражування. Але хлориди,
розкладаючись в воді, створюють хімічні
радикали, які впливають на здоров'я людини. На даний час для
знезаражування стоків використається рідкий хлор, озон й ультрафіолет. Як
правило, для цього необхідні проміжні контактні резервуари великої місткості,
щоб забезпечити тривалість контакту не менше ніж 0,5 години. Знезаражуюча дія кавітації заснована на ефектах,
які виникають у турбулентних потоках рідини. Так при гідродинамічних коливаннях рідини виникають і зникають
кавітаційні пухирці, при цьому стимулюються фазові переходи, підвищуються
локальні температури й тиск. Крім того, у моменти утворення й зникнення
кавітаційних пухирців у газонаповненій порожнини створюються умови для появи електричних зарядів, електричних і
магнітних полів. У такий спосіб рідина, оброблювана кавітацією, піддається
термобаричній й електромагнітній дії.
Особливістю кавітаційного методу полягає в тому,
що високий ступінь знезаражування води від яєць і личинок паразитів досягається
за рахунок їхнього механічного розриву ударними хвилями. Для руйнування
бактерій і вірусів термобаричний вплив
підсилюється локальною
електромагнітною дією, коли наведені електричні потенціали
пробивають їхні мембрани й оболонки. Механічні та фізичні способи очистки
води вільні від цих недоліків,
тому механічні способи очистки води є
дуже перспективними. На даний час розроблено ряд нових вібраційних машин та обладнання на основі ГП. В них вода
піддається багаторазовому зворотно-поступальному проходженню (циклічній
гідрокавітації) через кавітаційний пристрій
ГП [26-28]. Розроблено
методологію загального синтезу
вібраційного обладнання [32].
Розглянемо
та проаналізуємо результати експериментальних досліджень
гідрокавітаційного процесу, отриманому
у ГП. Автор [29]
припускає, що пухирці одержують додаткову енергію при відриві від великого
деформованого пухирця (ВДП) або від вільної поверхні рідини. Можливо при цьому здійснюється
розщеплення і локальна електризація пухирців. У [29] показано, що в
низькочастотних акустичних полях при частотах від 7 Гц до 200 Гц виникають
окислювально–відновні реакції,
обумовлені утворенням радикальних продуктів розщеплення Н2О (реакції
I типу, що раніше виявлені й досліджені в ультразвукових полях).
Експериментально (за допомогою швидкісної
відеозйомки) досліджено, що в процесі коливального циклу у ГП при зниженні
тиску спостерігається злиття мілких пухирців до великого деформованого пухирця
(ВДП) рис.7 та рис.8 та його
руйнування до мілких пухирців при
збільшенні тиску у камері ГП рис.9.
|
|
|
|
|
Рис. 7– Злиття
мілких пухирців до ВДП |
Рис. 8 –
Зростання розмірів ВДП |
Рис. 9 –
Руйнування ВДП до мілких пухирців |
Розглянемо визначення енергії заряду ВДП, якщо n малих пухирців радіусом r, кожен
заряджений до потенціалу φ,
з’єднуються у ВДП.
При рішенні нехтуємо енергією взаємодії пухирців один з одним. Сумарна
енергія визначається сумою енергій окремих пухирців:
,
(1)
де С- ємкість пухирця.
;
=8,85·10-12
ф/м;
- діелектрична проникливість середовища; r- радіус пухирця;
- потенціал пухирця.
При зливанні пухирців в ВДП його заряд дорівнює
сумі зарядів усіх пухирців
, (2)
а енергія ВДП визначається :
(3)
де
- радіус великого
пухирця.
Тоді маємо:
. (4)
Взявши
відношення
, отримаємо висновок, що енергія заряду ВДП збільшується
в
раз. Графік (рис.10) демонструє кількісну зміну
енергії заряду ВДП від кількості мілких пухирців, що об’єдналися.

Рис. 10 –
Кількісна зміна енергії заряду ВДП від кількості мілких пухирців
В процесі руйнування
ВДП до мілких пухирців, відбувається іонізація газу у пухирцях, а надлишкова
енергія переходить у теплову. Отримані результати дозволяють з упевненістю
вказати на протікання при низьких частотах різноманітних
окислювально–відновних реакцій. Структура
та параметри низькочастотного акустичного поля впливає на швидкість
окислювально–відновних реакцій,
газофазних процесів у кавітаційному
пухирці та ланцюгових реакцій.
Таким чином дослідження [29]
показали, що існують два типи кавітаційних пухирців – мілких сферичних і
великих деформованих пухирців (ВДП), причому перші можуть створюватися в
процесі руйнування других. Рух та розщеплення першого типу пухирців
обумовлює виникнення хімічних реакцій, а другого – механічне руйнування та інші
фізико – хімічні ефекти.
Для підтвердження запропонованих
положень були проведені експериментальні дослідження по визначенню
властивостей, структури води її знезаражування в процесі обробки у ГП [35]. Деякі результати досліджень наведені нижче.
Було
проведено прямі термостатичні вимірювання нагрівання дистильованої води,
проведені з точністю до 0,1°С. З’ясовано, що дистильована вода, оброблена
гідрокавітацією на відміну від звичайної, не має строго певної температури
кипіння. Відхилення від прямої лінії починаються вище 900С (рис.11, крива 2).
Це свідчить про нерівноцінність водневих зв’язків між молекулами води
після гідрокавітаційної обробки.
|
|
|
|
Рис.11 – Нагрівання дистильованої води
(1) та дистильованої води після гідрокавітаційної обробки(2) |
Рис.12 – Залежність логарифму оптичної
щільності реакційної суміші СН3ОН
– КМnО4 від часу реакції: ¨ - контроль; ■ – гідрокавітація; ▲– гідрокавітація та
омагнічування |
В подальшому було
проведено дослідження кінетики хімічних реакцій в середовищі води після 30-ти
хвилинної обробки в кавітаційному пристрої.
Як модельну реакцію
було вибрано окиснення метанолу перманганатом калію в кислому середовищі. При
концентрації СН3ОН 0,5 М і КMnO4 4∙10-3 М така реакція
проходить із поміркованою швидкістю, яка дозволяє надійно слідкувати за її
перебігом. Завдяки забарвленню перманганат-іона контроль за ходом реакції
здійснювали фотометричним методом (фотоелектроколориметр КФК-2). Для цього в
мірну колбу на 50 мл вносили 1 мл метанолу, 2 мл 2 М сульфатної кислоти і
звичайною водою (контрольний дослід), або водою після кавітації доводили
реакційну суміш до мітки. Після внесення 0,2 мл перманганату калію та
інтенсивного перемішування розчин фотометрували.
Результати дослідів
показали (рис.12), що в середовищі
води після кавітації швидкість реакції значно зростає.
Наведемо основні етапи та особливості
проектування і розрахунку вібраційного обладнання на основі ГП для впливу на
властивості води та її знезаражування. Для
проектування установок
гідрокавітаційного впливу на властивості рідини необхідно мати годинну
продуктивність обладнання, хімічний склад рідини. З годинного об’єму
рідини, яка проходить крізь насадок, та попередньо прийнятої кутової швидкості
можна визначити орієнтовний діаметр пульсаційної камери
за формулою [24]:
(5)
де
– годинний об’єм рідини, яка проходить крізь насадок, м3/год;
– співвідношення ходу мембрани до діаметра пульсаційної камери,
=0,02...0,033;
– амплітуда коливань, мм;
– кутова швидкість;
вибирається у межах від 40 1/с до 350 1/с.
Діаметр
насадків, їх форма, кількість та розташування
вибирається в залежності від об’ємів рідини, яка оброблюється, та
продуктивності процесу. У дослідженнях встановлена
залежність між діаметрами насадка й камери d/D = 1/12. Проведені дослідження [24] показали, що
діаметр насадків для обладнання впливу
на склад води знаходиться в межах:
(6)
Форма внутрішньої поверхні осьосиметричного
насадка приймається з гострими крайками на вході та виході для забезпечення
кавітаційного процесу. Довжина насадка вибирається із залежності:
(7)
Особливістю
розрахунків обладнання для зміни властивостей води, з ціллю забезпечення найбільшої продуктивності, є необхідність
отримувати найбільшу довжину гострої кромки. Це можливо при умові збільшення
кількості насадків при збереження швидкості протікання крізь них рідини.
Така умова виникає з рівності їх сумарної
площі отворів dн до площі отвору насадка Dн, знайденого попередньо:
,
звідки діаметри насадків при певній їх кількості
можна визначити за формулою:
, (8)
де n
– кількість насадків меншого
діаметра.
Зміну довжини
гострої кромки насадка від іх кількості n
та діаметра dн, при
рівній сумарній площі, демонструє графік на рис. 14.
Далі проводиться розрахунок максимального
гідродинамічного тиску у насадку. Інтерфейс та алгоритм оригінальної
програми наведено на рис.15. Значення частоти коливань приводу вибираються в
залежності від числа обертів електродвигунів, які випускаються промислово і вводиться в програму. (Наприклад 760
об/хв). Амплітуда коливань приводу вводиться в програму в діапазоні від 0,4 мм
до 3 мм. Використання амплітуд коливань, більших ніж 3 мм призводить до
зростання інерційних та динамічних навантажень.
|
|
|
|
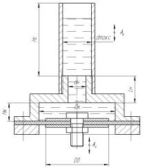
Рис. 13. Схема
ГП з робочою ємкістю: dmax.є
– максимальний діаметр ємкості; Dк – діаметр камери ГП; Аг – амплітуда коливань
мембрани ГП; Ае –
амплітуда коливань рідини у ємкості; dн – діаметр насадка; Нє – висота ємкості; Lн – довжина насадка; Нк – висота камери ГП; Dд – діаметр дисків |
Рис. 14. Зміна сумарної довжини гострої кромки: L – сумарна довжина гострої кромки; n х d – кількість отворів певного діаметру |
Після розрахунку
програма видає максимальні значення сили гідродинамічного тиску для усіх
введених значень амплітуд коливань
при введеній частоті коливань. Виходячи
з найбільшої продуктивності визначаємо максимальний тиск при заданій амплітуді
коливань. Ця інформація виводиться на дисплей (див.рис.15).
Проводимо перевірку
на зрив кільцевої порожнини та виникнення розвитої гідрокавітації за умовою:
(9)
Визначивши
продуктивність обладнання та розміри ГП, частоту коливань та амплітуду коливань
приводу, бажано аналітично обґрунтувати
розміри робочої ємкості, с точки зору, створення в неї також резонансних
коливань стовпа рідини, що приводить до
зменшення енерговитрат.
|
|
|
Рис.15. Інтерфейс та алгоритм
програми розрахунку максимального гідродинамічного тиску у насадку
Знаючи граничне значення хвилі, яка виникає у вертикальних коливаннях, є можливість вибрати розміри діаметра
ємкості.
Виходячи з умови рівності об’ємів
рідини, яка перетікає з камери ГП крізь
насадок до ємкості (див.рис.13), можна
записати рівняння з якого отримаємо амплітуду коливань рідини у ємкості
.![]()
, звідки
маємо
.
При діаметрі камери ГП Dк = 0,12м, та амплітуді
коливань Аг = 0,003
м, прийнявши мінімальну амплітуду
коливань рідини у ємкості Ае
= 0,0126м (при якій можливо збурення резонансних
коливань рідини), отримаємо максимальний діаметр ємкості:
.
(10)
При таких співвідношеннях параметрів (Аг,
Ае, D), резонансні хвилі в стовпі, який коливається, можливо
збуджувати при розмірах ємкості, які
менші за
.
Стоячі хвилі дають можливість в
резонансних точках коливатися невеликім пухирцям повітря, що також додатково
впливає на зміну властивостей води.
Визначаємо висоту ємкості за
залежністю
.
Діаметр дисків Dд рухомої
мембрани береться в межах від 5 мм до
10 мм внутрішнього діаметра
пульсаційної камери
.
Товщина гумової
мембрани з точки зору її довговічності вибирається із залежності:
мм.
Остаточне
налагодження режиму роботи обладнання здійснюється підбором ексцентриситету
кулачка, незначною зміною його розміру (відповідно амплітуди коливань) в
необхідну сторону.
Кавітаційний вплив на рідке середовище, за рахунок вище вказаних ефектів,
дозволяє досягнути суттєвої інтенсифікації хімічних перетворень у водних
потоках та зміну їх властивостей і знезаражування.
Таким чином, експериментальні дослідження показали доцільність
використання гідродинамічної кавітації
у вібраційному обладнанні [3,8-11].
Запропоновані
наукові підходи дозволили створити узагальнену методологію для розрахунку
раціональних конструктивних і технологічних параметрів вібраційних машин для
впливу на властивості води та її знезаражування.
Отримані результати можуть бути враховані при розробці технологій та конструкцій обладнання очистки стічних вод промислових, комунальних підприємств, тваринницьких комплексів та гальванотехніки.
Література
1.
Ганиев Р.Ф. Исследование движения мелкодисперсных
включений в колеблющемся сосуде с жидкостью, содержащей
сжимаемую сферу /Р.Ф.
Ганиев, В.В. Кулик, П.А. Малышев, А.С. // Прикл. Мех. – №7– 1979,
№7. – С.112-116.
2. Ганиев Р. Ф. Про явища локалізації і
поступального переміщення газових пухирців
у коливальній рідині / Р.Ф.
Ганиев, Г.Н. Пучка // ДАН УССР. –
№6. – 1978. – С.509-511.
3. Кавітаційна
обробка та її вплив на склад води / Р.І. Сілін, А.І. Гордєєв, В.В.
Третько, І.І. Сорока // Вісник ТУП. –
№3. – 2002. – С. 253-257.
4. Сілін Р.І. Вібраційне обладнання для зміни
властивостей води / Р.І.Сілін, А.І. Гордєєв // Тези допо. 7-го міжнар.
симп.укр. інж.- мех.. у Львові. – Львів: КІНПАТРІ ЛДТ. –2005. – С. 92.
5. Гордєєв
А.І Пристрий для кавітаційно-магнітної
обробки води / А.І. Гордєєв, Б.А.
Баран, А.К. Бережнюк, І.І. Сорока // Materiali III miedzynarodowej
naucowi-practicznej konferencji «WIADOMOSCI NAUKOWEJ MYSLI – 2007» 01-15
listoda 2007 roku. Tym 12 Technicsne nauki. – Przemysl: Nauka I studia. – 2007. – С 26-28.
6. Сілін Р.І. Вібраційне
обладнання для гідрокавітаційного впливу на склад та властивості води / Р.І.Сілін, А.І. Гордєєв // Cб.пр.YI
міжн.н-т. конференції «Повышение качества, надежности и долговечности
технических систем и технологических процессов». Хургада (Єгипет). –
Хмельницький: ХНУ.– 2007. –С.33–35.
7. Дослідження кавітаційно-магнітного
впливу на структуру води / Р.І.Сілін,
А.І. Гордєєв, Б.А. Баран, Є.А. Урбанюк
// Materialy IV mezinarodni vedecko - prakticka
konference «Tfektivni nastroje modernich–2008». Dil 17:Technicke vedy. – Praha:
Publishing House «Education and Science».
–2008. – С. 28–32.
8. Сілін Р.І.
Кавітаційно – магнітна обробка води та
вібраційне обладнання на основі гідропульсатора / Р.І.Сілін, А.І.
Гордєєв // Cб.пр.II міжн.н-т. конференції «Cовременные
достижения в науке и образовании». Нетания
(Израиль). – Хмельницький: ХНУ. – 2008. – С. 46– 49 .
9. Сілін Р.І. Пристрій для
кавітаційно-магнітної обробки води з електромагнітним приводом / Р.І.Сілін,
А.І. Гордєєв, Є.А. Урбанюк // Materialy IV mezinarodni vedecko - prakticka konference
«Nastoleni moderni vedi - 2008». Dil 9: Technicke vedy. – Praha: Publishing House «Education and Science». –2008.–С.12–15.
10. Сілін Р.І. Технологія та вібраційне
обладнання для біологічної активації води
/ Р.І.Сілін, А.І. Гордєєв // Cб.пр.III міжн.н-т. конференції
«Современные достижения в науке и образовании». Тель-Авив (Израиль). –
Хмельницький: ХНУ. – 2009. – С.114 – 117.
11. Сілін Р.І.
Науково – технічні основи розроблення вібромашин для впливу на властивості
води/ Р.І. Сілін, А.І. Гордєєв // Вібрації в техніці та технологіях. – 2009.
– № 4(56) – С. 141 – 148.
12. Класен В.П.
Омагничивание водных систем/ В.П. Класен. - М.: "Химия",1978, с.10-12.
13. Карякин А.В., Петров
А.В., Гермий Ю.Б., Зубрилин М.Е.,"Теоретическая
и экспериментальная химия", 1966, т.2, вып.4,с.494-496.
14. Беркал Дж., Фаулер Р. "Успехи физических наук", 1934, т. 14, №15, с.586-595.
15. Блох A.M. Структура воды и геологические процессы / A.M.
Блох. М.:"Недра", 1969.-216 с.
16. Самойлов О.Я. Структура
водных растворов и гидратация ионов/ О.Я
Самойлов. - М.: Изд-во АН СССР, 1957.-185 с.
17. Зацепина Г.Н. Свойства и
структура воды/ Г.Н. Зацепина. -М.: Изд-во МГУ,1974.-48 с.
18. Хорн Р. Морская химия. Пер. с англ. /Р. Хорн. - М.: "Мир", 1972.-399 с.
19. Poplel.A.
Proc. RoySoc, 1951, Ser.A,
Bd.205, № 1081, p. 163.
20. Зайлер Б. Тайна жизни /
Zeiten Schrift.//Почерк времени. – 2002. – № 2. – С. 13-16.
21. Структура воды: гигантские
гетерофазные кластеры воды /А.Н. Смирнов, В.Б. Лапшин, А.В. Балышев и др. //
Химия и технология воды. – 2005 – Т.27, №2. – С. 111–137.
22. Эррозия : Пер. с англ./Под ред. К.Прис.
–М.: Мир, 1982, -464 с.
23.Wislicenus
G.F. Fluid Mechanics of Turbomachinerj. Constable Co. Ltd., England, 1966.-148
p.
24. Сілін Р.І.
Властивості води та сучасні способи її очищення: монографія / Р.І. Сілін, Б.А.
Баран, А.І. Гордєєв. –
Хмельницький: ХНУ, 2009. – 254 с., іл.
25. Пат. на винахід 48400 України, МПК C02F1/46. Пристрій
для очистки стічної води / Р.І.Сілін, А.І.Гордєєв, В.О. Павлик (Україна); Технологічний
ун-тет Поділля. – u2001064234; Заяв. 19.06.2001; Опубл.15.08.2002,
Бюл. № 8. – 3с.
26. Пат.
на корисну модель 10347 України, МПК В01F5/00. Устаткування для обробки води /Р.І. Сілін, А.І. Гордєєв, В.В.
Третько, І.І. Сорока (Україна); Хмельницький нац. ун-тет. – u
200503620; Заяв. 18.04.2005; Опубл.15.11.2005, Бюл. № 11. – 3с.
27. Пат. на корисну модель 25775 України, МПК В01F
5/00. Кавітаційний пристрій для обробки води / Р.І. Сілін, А.І. Гордєєв, О.А.
Гордєєв, В.В. Третько, Є.А. Урбанюк (Україна);
Хмельницький нац. ун-тет. –
u200702555; Заяв. 12.03.2006; Опубл.27.08.2007, Бюл. №13. – 3с.
28. Пат. на корисну модель 25811 України, МПК В01F 5/00. Вібраційний
кавітатор для зміни властивостей води /Р.І. Сілін, А.І. Гордєєв, О.А.
Гордєєв, В.В. Третько, Є.А. Урбанюк (Україна); Хмельницький нац. ун-тет. – u200703370; Заяв. 28.03.2007;
Опубл.27.08.2007, Бюл. № 13. – 3с.