Д.т.н., проф. Пількевич І.А., к.т.н.,
доц. Лобанчикова Н.М., к.т.н. Молодецька К.В.
Житомирський військовий інститут ім.
С. П. Корольова
Державного університету телекомунікацій, Україна
МОДЕЛЬ СИСТЕМИ ПРИЙНЯТТЯ РІШЕНЬ З
ДОСТУПУ ДО СПЕЦІАЛІЗОВАНИХ ПРИМІЩЕНЬ
Постановка задачі. На сьогоднішній день
системи контролю та управління доступом займають важливе місце в повсякденному
житті. Найпростішими з них є звичайні двері з механічним замком і оптичним
вічком – досить проста та дуже надійна система контролю доступом. До цієї ж
категорії відносяться контрольно-пропускні пункти, розмежування доступом яких
здійснюється безпосередньо людиною. До більш складних систем можна віднести
кодові замки, омофони, в яких участь людини в розмежуванні доступом
зменшується. Найбільш складними є системи контролю обліку робочого часу та
системи, які основані на біометричних даних людини (сітківка ока, відбитки
пальців, голос і т. п.) [1].
Системи контролю доступу – це багатопланові електронні системи безпеки, що
здатні розмежувати доступ до об’єктів та мають великий обсяг додаткових
функцій, таких як: захист від несанкціонованого доступу; відео-спостереження за
діями користувача; реєстрація користувачів; управління різними пристроями
(освітлення, сигналізації), орієнтуючись на події, які відбуваються в системі [1].
Метою
роботи є розробка моделі прийняття рішень з доступу до спеціалізованих приміщень.
Об’єктом
досліджень є процес застосування системного підходу для проектування складних
автоматизованих систем.
Предметом
досліджень є моделі системи підтримки прийняття рішень з доступу до спеціалізованих
приміщень.
Наукова
новизна одержаних результатів полягає в тому, що вперше розроблені надійні, досить
прості в користуванні та обслуговуванні моделі системи доступу до спеціалізованого
приміщення, які дозволять забезпечити недоступність проникнення сторонніх осіб
і здійснити контроль за відвідуваністю особами, яким надано доступ до
спеціалізованого приміщення.
Математична та формалізована
модель системи підтримки прийняття рішень з доступу до спеціалізованих
приміщень. Опираючись на теоретичні знання з системного аналізу було побудовано
формалізовану модель на основі DFD-діаграми даних. Формалізована модель являє собою описову
інформаційну модель, яка записується на основі однієї формальної мови. В такій
моделі за допомогою формул, рівнянь, нерівностей і т. п. фіксуються
формальні відношення між початковими ті кінцевими значеннями властивостей
об’єктів, а також накладаються обмеження на допустимі значення цих властивостей
[2].
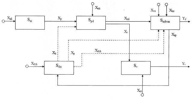
Формалізована модель системи підтримки прийняття рішень з доступу до
спеціалізованих приміщень наведена на рис. 1.

Рис.1. Формалізована
модель підтримки прийняття рішень з доступу до спеціалізованих приміщень
Модуль 1 (блоки
,
) призначені для введення даних. Їх завданням є:
– порівняння введеного коду доступу з істинним;
– перевірка наявності колу картки в існуючій базі даних;
– сумісне порівняння даних для подальшого вирішення прав доступу.
Модуль 2 (блоки
,
,
) призначені для вирішення в наданні чи відмові доступу до
приміщення. Їх завданням є:
1. Дозвіл доступу:
– реєстрація введених даних;
– пошук користувачів в базі даних „personalˮ;
– відео нагляд за користувачем в приміщенні;
– запис дати та часу для подальшого виведення звітності;
– запис часу перебування в приміщенні.
2. Відмова в доступі (передача сигналу охороні про відмову в доступі).
3. Завершення доступу.
4. Виведення звітності.
На основі формалізованої моделі була побудована математична модель
системного процесу, яка являє собою певне математичне представлення реальної
моделі (рис. 2).


Рис.
2. Модуль системи контролю доступу до спеціалізованого приміщення:
– сигнал запиту
доступу (номер карти);
– сигнал перевірки
даних картки;
– сигнал від сховища
даних з інформацією про користувачів;
– сигнал від
користувача (код доступу);
– сигнал надання
доступу;
– сигнал відмови в
доступі
Вхідними параметрами модуля системи доступу до
спеціалізованого приміщення є
– сигнал запиту
доступу, який являє собою номер карти користувача приміщення та
– сигнал від самого
користувача, що являє собою введену кодову комбінацію (пароль).
На виході модуля виробляється чи сигнал доступу
, чи сигнал відмови
. Проміжними (внутрішніми) сигналами є
– сигнал перевірки
даних картки та
– сигнал від сховища
даних з інформацією про користувачів, які порівнюються між собою, і при збігу
виробляється сигнал в доступі до приміщення.
Задамо всі сигнали двійковим кодом. Нехай
та
дорівнюють 1, тоді за
логікою роботи результатом буде 1 (тоді і лише тоді, коли обидва сигнали будуть
дорівнювати 1).

Математично
це можна описати як об’єднання двох сигналів
:
|
|
0 |
1 |
|
0 |
0 |
0 |
|
1 |
0 |
1 |
Формалізована модель системи підтримки прийняття рішень з доступу до
спеціалізованих приміщень представлена на рис. 3.
Вхідними
параметрами модуля системи доступу до спеціалізованого приміщення є
– сигнал надання
доступу,
– сигнал відеонагляду,
– сигнал кодового
замка та
– сигнал з
інформацією про дату та час, які користувач сам задати не може.
На виході
модуля виробляється сигнал доступу
, що містить інформацію про користувача, дату і час роботи в
спеціалізованому приміщенні.
Фактично модуль
2 є продовженням модуля 1. Він має той самий сигнал доступу:

Особливість
його полягає в тому, що він вибирає з бази даних інформацію про користувача по
коду його особистої картки та додає до нього дату та час роботи в
спеціалізованому приміщенні.


Рис.
3. Модуль системи доступу до спеціалізованого приміщення:
– сигнал надання
доступу;
– сигнал запиту відеонагляду;
– сигнал кодового
замка;
– сигнал з
відомостями про персонал;
– сигнал з
інформацією про дату та час;
– сигнал запиту
персоналу
по коду картки;
– сигнал дозволу доступу
Таким чином, в результаті наукових досліджень розроблено математичну та
формалізовану моделі системи підтримки прийняття рішень з доступу до
спеціалізованих приміщень.
Подальшими
дослідженнями в цьому напрямку є розробка алгоритмів функціонування системи та
структур збереження даних, а також програмного забезпечення моделі системи
прийняття рішень з доступу до спеціалізованих приміщень.
Література:
1. Виноградов Ю. А. Охранная техника / Ю. А. Виноградов.
– М. : Солон-Пресс, 2008. – 192 с.
2. Згуровский М. З. Системный анализ: проблемы,
методология, приложения / М. З. Згуровский, Н. Д. Панкратова. – К. : Наукова думка, 2005. – 745 с.