Секция: «Радиофизика»
Персичкин
А.А., к.ф-м.н. Шпилевой А.А.
Балтийский
федеральный университет имени Иммануила Канта, Россия
О возможности стохастического усиления радиочастотных сигналов
Одну из возможностей повышения
эффективности приема слабых радиочастотных сигналов предоставляет использование
в конструкции приемных трактов дополнительных цепей, содержащих бистабильные
пороговые элементы. Преимущество их применения заключается в реализации эффекта
стохастического резонанса. В качестве
порогового устройства, в частности может использоваться триггер Шмита в одном
из его схемотехнических решений. Энергетические параметры полезного сигнала и
шума на выходе триггера Шмитта выводятся на основании теоремы Кэмпбелла. Результирующее
отношение сигнал шум на выходе схемы:
, (1)
где D –
дисперсия, р - порог срабатывания триггера,
- средняя частота пересечения порога срабатывания, t0 - длительность
импульса на выходе, В - амплитуда гармонического сигнала. Данное выражение
качественно определяет наличие эффекта стохастического резонанса в триггере Шмита,
поскольку получено на основе классического подхода к исследованию эффекта,
учитывающего лишь влияние дисперсии. Другие управляющие параметры - порог
срабатывания и амплитуда полезного сигнала не рассматриваются. Ряд измерений, выполненных
нами для более детального анализа поведения системы на базе триггера Шмитта,
при воздействии на нее гармонического сигнала, смешанного с шумом, дают следующие
зависимости отношения сигнал/шум (SNR) от
величины порога срабатывания при постоянных значениях дисперсии и амплитуды
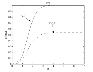
полезного сигнала (рис. 1). Зависимости отношения сигнал/шум на выходе триггера
Шмитта от амплитуды полезного сигнала при постоянных значениях дисперсии и
порога срабатывания приведены на рис. 1.

а б
Рис. 1 - Зависимость отношения сигнал/шум на выходе триггера Шмитта от величины порога срабатывания при постоянных значениях дисперсии и амплитуды полезного сигнала, полученные экспериментально (а) и теоретически (б)

Рис. 2. - Зависимость отношения сигнал/шум на выходе триггера Шмитта от амплитуды полезного сигнала при постоянных значениях дисперсии и порога срабатывания
Сравнивая
полученные зависимости с моделью СР, описываемую выражением (1), можно оценить
границы применимости данной модели: она достаточно точно описывает зависимость SNR от дисперсии. В этой связи, предлагается рассмотреть
другой подход к анализу отклика триггера Шмитта на воздействие шумового
сигнала, смешанного с гармонической составляющей. Основные оцениваемые величины:
спектральная плотность мощности первой гармоники периодического сигнала на
входе триггера Шмитта и спектральная плотность мощности шума на его выходе.
В случае, если регистрирующим устройством является аналогово-цифровой
преобразователь, то длительности импульсов на выходе триггера Шмитта будут характеризоваться
постоянной величиной
. В
соответствии с этим, выражение для спектральной плотности мощности на выходе примет
вид:
.
Для вычислении спектральной плотности мощности полезного сигнала
также воспользуемся, теоремой Кемпбелла с той разницей, что будет рассматриваться
не влияние гармонического процесса на порог срабатывания с последующим его
спектральным выделением, а влияние на порог срабатывания действующего значения
одного из полупериодов сигнала. Таким образом можно оценить амплитуду первой
гармоники полезного сигнала на выходе триггера Шмитта, как приращение среднего значения амплитуды случайной последовательности
импульсов. Окончательно для отношения SNR
получим отношение:

На
основании последнего выражения получаем зависимость, графики которой представлены
на рис. 3.
Графики
свидетельствуют о справедливости рассматриваемого подхода. Зависимость величины
отношения сигнал/шум от порога срабатывания триггера показывает, что: наибольшее отношение сигнал/шум на выходе триггера
Шмита при воздействии на него смеси
гармонического сигнала и шума достигается при величине порога срабатывания стремящейся
к нулю. Как видим, такой вывод противоречит классическому представлению о
стохастическом резонансе, согласно которому амплитуда полезного гармонического
сигнала заведомо меньше порога срабатывания.


а б

в
Рис. 3 - Теоретические
зависимости SNR на выходе триггера Шмитта при: а - р, B = const; б - D,
B = const; в - D,
р = const
Очевидно,
что путем изменения полосы пропускания системы dF можно добиться увеличения отношения сигнал/шум на
выходе триггера Шмитта (рис. 4). Данная модель стохастического резонанса
применима для большинства видов шумов т.к. предполагается предварительное
выделение полезного сигнала в узкой полосе частот, в которой свойства любого
исходного шума будут близки к «белому». На основании вышеизложенного можно сделать
сформулировать концептуальные требования о конструкции устройства, способного обеспечить
повышение величины SNR на выходе приемного тракта за счет использования
эффекта стохастического резонанса:
- на входе устройства
должен содержать фильтр с регулируемой полосой пропускания;
- устройство должно
содержать триггер Шмитта с минимально возможным порогом срабатывания.

Рис. 4 - Теоретические
зависимости величины отношения SNR на выходе и входе
триггера Шмитта от отношения сигнал/шум
на входе при разных значениях полосы пропускания.
Выполнение второго условия не представляет
труда (p→0), с учетом того
что
;
.
Таким образом:
.
(2)
Выражение (2) правильность предлагаемой
модели. Реализация данной методики построения приемного тракта с использованием
бистабильной пороговой системы, обеспечивает увеличить отношение SNR принимаемых
сигналов, что позволит повысить эффективность работы широкого класса измерительных
систем, в том числе устройств радиоспектроскопии, средств неразрушающего контроля
и т.п.