Студентка
магистратуры Далалеева М.И.,
к.т.н. Дмитриев А.В.
ФГБОУ ВПО «Казанский государственный аграрный
университет», Казань
МЕТОДИКА ОПРЕДЕЛЕНИЯ КОЭФФИЦИЕНТА ВОССТАНОВЛЕНИЯ ЗЕРНА ГРЕЧИХИ
Коэффициент восстановления зерна
является одним из значимых показателей, характеризующий его ударно-инерционное
взаимодействие с рабочими поверхностями различных сельскохозяйственных машин.
Особенно важно знать величину
этого коэффициента при исследовании ударного взаимодействия зерна гречихи с
рабочей поверхностью шелушителя, в результате чего с зерна снимается оболочка,
а эффективность этого процесса напрямую влияет на качество получаемого конечного
продукта – крупу. Однако надо отметить, что в случае с гречихой определить
коэффициент восстановления достаточно тяжело вследствие особой формы зерна – гречиха
имеет пирамидальную
форму.
Существует методика
определения коэффициента
восстановления с помощью фиксации движения зерна видеокамерой [1]. При этом
коэффициент восстановления зерна определяли по формуле:
kп =
,
где
- соответственно нормальная составляющая
скорости до и после столкновения, м/с.
Для определения величины и
направления скорости зерна по данной методике использовали кадры видеозаписи.
При определении коэффициента
восстановления зерна гречихи также может быть использована лабораторная
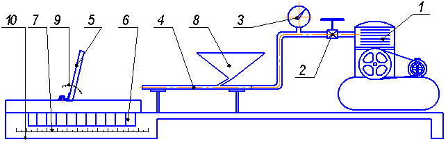
установка, общий вид которой представлен на рисунке 1.

1 – компрессор, 2 – кран для регулирования
подачи воздуха (давления),
3 – манометр давления, 4 – разгонная трубка, 5 – наклонная поверхность, 6 –
емкость для зерна, 7 – линейка, 8 – бункер, 9 – транспортир, 10 – рама.
Рисунок 1 – Общий
вид лабораторной установки
Лабораторная установка
представляет собой установленный на раме компрессор 1, который подает воздух с
определенным давлением в разгонную трубу 4. Давление воздушного потока,
измеряется манометром 3, а регулируется краном 2. Перемещаясь по разгонной
трубе воздушный поток, захватывает зерно из бункера 8 и выбрасывает на
наклонную поверхность 5. Отражаясь от этой поверхности под определенным углом,
который зависит от коэффициента восстановления, зерно попадает в одну из ячеек емкости 6.
Коэффициент восстановления зерна
определяем по формуле:
Кв =
, (1)
где α – угол образованный скоростью
центра
масс зерна с нормалью к наклонной поверхности, град.;
β
– угол образованный скорости
центра
масс зерна с нормалью к наклонной поверхности после удара, град.;
Угол α зависит от угла
наклона поверхности 5 и определяется по формуле:
Ð α = 90 –
, (2)
Угол
определяем с помощью транспортира, закрепленного на раме. Угол
определяем визуально по максимальному заполнению какой либо ячейки
емкости для зерна (рисунок 2).

Рисунок 2 – К определению
коэффициента восстановления
Полученные результаты определения коэффициента восстановления можно
использовать при обоснования технологических и конструктивных параметров машин
для обработки или переработки зерновых культур.
Литература
1.
Халиуллин, Д.Т.
Определение коэффициента восстановления семян подсолнечника / Д.Т. Халиуллин,
Э.Г. Нуруллин, И.В. Маланичев // Механизация и электрификация сельского
хозяйства. – 2010. - №12.- С. 23-24.