Технические науки / 3. Отраслевое машиностроение
К.т.н. Скрипник А. В., д.т.н. Клименко В. В.,
к.т.н. Свяцький В. В., магістрант Віхтоденко А. А.
Кіровоградський національний технічний університет
Виготовлення безпористих деталей з
використанням
газогідратних технологій
Одним із
основних технологічних процесів виробництва безпористих деталей є гаряче
газостатичне пресування (ГГП), згідно якому попередньо підготовлений порошковий
матеріал нагрівають в деформовній тонкостінній термопластичній оболонці і всебічно
обтискують газом, який попередньо стиснений компресором в замкнутому об’ємі
газостату до стану суцільного конгломерату, і після витримки на протязі
технологічно обґрунтованого часу частину газу повертають в балони, залишки газу
випускають із робочої камери, робочу камеру відкривають, виймають оболонку та
вилучають з неї готову деталь або напівфабрикат [1].
Недоліками традиційного методу ГГП є:
1) для виконання технологічних операцій,
як правило, використовується дорогий інертний газ, що має високу чистоту (вміст
домішок у відсотках приблизно 10–6) та велику стисливість;
2) високі капітальні та експлуатаційні
витрати, які обумовлені необхідністю використовувати складне компресорне
обладнання для попереднього стискування газу до високого тиску.
Разом з тим
відомо безкомпресорне стискування газу шляхом застосування газогідратної
технології [2, 3].
Таке стискування газу до високого тиску здійснюється
шляхом переводу газу низького тиску в газогідрати при контакті з водою в
замкнутому об’ємі при визначеній температурі, підігріванням і плавленням
газогідратів з виділенням газу високого тиску та води в тому ж замкнутому
об’ємі при температурі плавлення, що вища за температуру, при якій вони
утворювались [2, 3].
При
виготовленні безпористих деталей ГГП з безкомпресорним стискуванням газу шляхом
його переводу через газогідратний стан необхідною умовою є здатність газу
утворювати газогідрати. Утворювати газогідрати при певних термодинамічних
умовах здатні не тільки інертні гази, а і переважна більшість газів, що мають широке
практичне застосування в різних технологічних процесах, і є відносно дешевими,
наприклад вуглекислий газ (двооксид вуглецю СО2) [2].
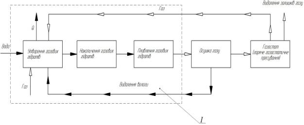
Пропонований нами
спосіб виготовлення безпористих деталей шляхом гарячого газостатичного
пресування здійснюється таким чином (рис. 1): попередньо підготовлений і
зважений об’єм порошкового матеріалу розміщують в деформовній тонкостінній
термопластичній оболонці, яку закорковують в газостаті. Приводячи в контакт
газ, наприклад двооксид вуглецю, і воду (у співвідношенні на 1 м3 Н2О
приймають 176,1 м3 СО2) під тиском р від 2 МПа до 4 МПа і температурі Т від 275 К до 281 К, утворюють газогідрати із відведенням
теплоти гідратоутворення Q.
Утворені газові гідрати
накопичують до наперед визначеної кількості в замкненому об’ємі, після чого
проводять їхній підігрів та плавлення в цьому об’ємі при температурі T від 323 К до 363 К з
вивільненням води та газоподібного двооксиду вуглецю при підвищенні його тиску р до робочого: від 40 МПа до 80 МПа.

Рис.
1. Процеси утворення, накопичення і плавлення газових гідратів (відбуваються в
одному пристрої I)
Утворений газоподібний СО2
фільтрують і осушують, а потім направляють на здійснення ГГП до газостату.
В процесі нагрівання СО2
в газостаті до температури T від
1473 К до 1673 К його тиск р
підвищується приблизно до 420 МПа, завдяки чому відбувається процес
газостатичного обтиснення оболонки з порошковим вмістом на протязі технологічно
обґрунтованого часу. Після завершення газостатичного пресування знижують тиск у
газостаті шляхом направлення більшої частини СО2 на повторне
утворювання гідратів (біля 95 % від об’єму газу, що використаний на
утворення гідратів). Залишки газу з газостату видаляють в окремий резервуар
(або в атмосферу), після чого виймають оболонку і вилучають з неї готову деталь
або напівфабрикат. Перед проведенням нового циклу виготовлення безпористих
деталей втрати газу та води компенсують із зовнішніх джерел.
Таким чином,
при здійсненні запропонованого способу ГГП суттєво зменшується собівартість
готової деталі або напівфабрикату, так як відпадає необхідність у використанні коштовних
інертних газів з високою чистотою, зменшуються капітальні витрати на устаткування
ГГП внаслідок використання більш простого технологічного обладнання в
порівнянні з компресорним.
Література
1. В. К. Нарва,
В. С. Панов. Функциональные порошковые материалы. Том 2. – М.:
РХТУ им. Д. И. Менделеева, 2010. – 148 с.
2.
Макогон Ю. Ф. Гидраты природных газов. – М.: Недра, 1974. – 310 с.
3. А.с.
237770 СССР, МПК F 21f. Способ подъема давления природного газа
[Текст] / Макогон Ю.Ф. (CCCР). – 1085219/23-26; заявлено 23.06.66;
опубл. 20.02.69, Бюл. 9. – С. 2.