Технические науки/6.
Электротехника и радиоэлектроника
Аслан-заде А.Г.
Россия
Неканонические режимы работы
12-пульсного ТСГ постоянного тока
Обретение функционально новой схемы трехфазного
статического генератора (ТСГ)
постоянного тока, обеспечивающего постоянный уровень амплитуд
гармонического спектра относительно выпрямленного напряжения и потребляемого
тока во всем диапазоне регулирования,
выявило возможность существования неканонических режимов его работы при периодичности
выпрямления m = 12 с 6-фазной неравнолучевой вторичной обмоткой трансформатора вместо
3-фазной «звезды» с нулевым выводом. Это выражается в том, что нарушается
каноническое соотношение первичного фазного тока относительно повышающегося
вторичного выпрямленного тока: уменьшается его действующее значение, в том
числе сопровождающееся несимметрией пульсаций ступеней, уменьшением амплитуды
1-й гармоники и коэффициента мощности. При этом расчетная мощность
трансформатора, несмотря на его усложнение, может понижаться. Эти режимы
рассмотрены с учетом гармонического анализа, рекуперации энергии межфазным
распределителем тока (МРТ) и расчетной константы многопульсного выпрямления.
Практическое
значение закона первичных токов многофазных выпрямителей [1], для случая, когда
сумма первичных фазных токов равна нулю, и впоследствии установленных
закономерностей [2] для случаев, когда эта сумма не равна нулю, заключается в
удобстве использования в расчетах новых схем априори известных величин. Однако
существование более чем одного
правила приводит к подтверждающемуся выводу [3] о возможности отступления от
них, по крайней мере, в виде исключения.
Представленный
в [4] трехфазный статический генератор (ТСГ) 12-пульсного выпрямленного
напряжения, обеспечивающий без фильтра, на естественно управляемых 6-и вентилях
и 2-х диодах постоянство уровня пульсаций во всем диапазоне регулирования,
имеет ряд схемных модификаций разомкнутого типа. В наиболее простой из них
вторичная обмотка трансформатора соединена в 3-фазную звезду с выведенным нулем
[5], а в наиболее парадоксальной – в 6-фазную неравнолучевую звезду (рис.1) или
более сложную схему [6]. Встречно включенные вторичные обмотки 6-фазной звезды
или части каждой вторичной фазной обмотки более сложного варианта могут иметь
два различных соотношения чисел витков
, выбор которых взаимозависим от величин соотношений чисел
витков обмоток уравнительных реакторов (Ур)
, (0 < S > 1).
В первом
случае S = 0, 732 и рассмотрено в [4] , а
во втором S = 0, 3162 и
показано
в [6] и на рис.2, где стрелками обозначены направления токов через зачерненные
вентили 5, 2, 8 и 9, 14, 16 за один такт выпрямления. Согласно решению
косоугольных треугольников (рис.2), S = 0, 732 согласуется с данными: β3 = 150, β1
= 450, β2
= 10, 890, Ur1 = 1, 2247∙ Uф , Ur2 = 1, 6772∙ Uф, а S = 0, 3162 – с данными: β3
= 17, 0930, β1 = 18, 020,
β2
= 150, Ur1 = 1, 2721∙ Uф , Ur2 = 1, 4448∙ Uф. Здесь Uф = 0a1 = a1b – фазное напряжение сети и вторичной
обмотки W1 приведенного трансформатора Тр1,
т.е. W1 = W.
В первом случае
12-пульсное выпрямленное напряжение, формируемое на выходе вторичного моста
несимметричное, а на выходе первичного моста – симметричное. Во втором случае
картина взаимообратная. Это их отличает от простого случая (S=0,732, W2= 0) с одной
вторичной обмоткой трансформатора и симметричным 12-пульсным выпрямлением на
выходе каждого моста [5]. Если S = 0, то и W2 = 0. Поэтому зависимость между соотношениями обмоток

Ур и вторичными обмотками
трансформатора Тр1 отсутствует, а равенство w2 = w1 не позволяет получить угол между
векторами смежных выпрямляемых напряжений, приемлемый для использования в
составе 12N-пульсного ТСГ. Вместе с тем, если W2 = 0, то S может принимать
произвольное значение, но только при S = 0, 732 этот угол равен 30
эл.град., т.е. углу пульсации 12-пульсного ТСГ.
В простом
случае (S = 0, 732, W2 = 0), не имеющим рассогласований с
законом первичных токов [1], единственным источником генерации ТСГ тока нулевой
последовательности является регулирование магнитного потока трансформатора при неравенстве нулю
суммы первичных фазных токов.
Из рассматриваемых
случаев в первом (
,
) и втором (
,
) дополнительным источником генерации тока нулевой
последовательности является обмотка W2 трансформатора Тр1.

В первом случае (рис.3) это приводит
к увеличению Ud2 от 1, 7121∙Uф до 2, 3389∙Uф на выходе вторичного моста и
несимметрии его формы относительно неизменного по величине и форме Ud1 = 1, 7121∙Uф на выходе первичного моста (при равных нагрузках
обоих мостов). Во втором случае
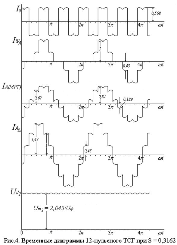
(рис.4) – к увеличению Ud2 от 1,7121∙Uф до 2,0198∙Uф на выходе вторичного моста, но с
принудительным нарушением симметрии при увеличении Ud1 от 1, 7121∙Uф до 1, 7774∙Uф на выходе первичного моста,
связанном с симметрированием формы Ud2. В обоих случаях дополнительная генерация купируется обмоткой W3 и в цепи, соединяющей эту обмотку с нулевым входным выводом, результат

трансформация тока нулевой
последовательности от обмотки W2 равен нулю. Именно поэтому расчетная мощность первичной обмотки W
трансформатора Тр1 не зависит от подключения обмотки W2 вместо нулевого провода. Она зависит
от угла несимметрии β = β3 – β2
на выходе первичного моста и величины его выпрямляемого напряжения Ur1 (рис.2).

Среднее
значение несимметричного 12-пульсного выпрямленного напряжения в первом случае
(рис.3), при β = 4, 11 эл.град., на выходе

вторичного моста Ud2 = 1, 3945∙Ur2 = 2, 3389∙Uф, а во втором случае (рис.4), при β = 2, 093 эл.град, на выходе
первичного моста Ud1 = 1, 3972∙Ur1 =1, 7774∙Uф, Um1 = √2∙Ur1, Um2 = √2∙Ur2. В простом случае, при β = 0 эл.град., Ud1 = Ud2 = 1,398∙Ur .
Так как
формула (1) составлена относительно оси, показанной пунктирной линией на рис.3,
то коэффициент Bn ряда Фурье равен нулю (четная
функция) и для составления формулы коэффициента An ряда Фурье достаточно в каждое ее подынтегральное выражение
ввести множитель
, а в числитель – коэффициент 2. Тогда, коэффициент пульсаций
Кп1,2 выпрямленного
напряжения Ud1,2 во всем диапазоне регулирования:
![]()
Практическое
значение имеет Кп2, т.е.
уровень пульсаций на выходе вторичного моста, величина которого во втором
случае равна канонической (1,398%) для m = 12, а в
первом случае – 8,366%, т.е. больше, чем каноническая (5,714%) при m = 6 и естественном угле отпирания вентилей на 2,
652%.
В первом
случае действующее значение тока II первичной обмотки W при симметрии 2-го вида, которой характеризуется ТСГ,
определяется [2] по формуле:

где:
, кт = Ur1 /U1, N = m/6 = 2, UI – фазное напряжение обмотки W, CN = Cm
≈ 1 – постоянная m-пульсного (m ≥ 4) выпрямления [4], Id1 – среднее значение выпрямленного тока на выходе первичного моста. Однако
коэффициент 0,502, численно соответствующий закономерности для первичного
фазного тока при условии неравенства нулю суммы фазных токов, определен
относительно меньшего симметричного тока Id1 первичного, а не большего
асимметричного тока Id2 вторичного моста. Таким образом,
фактически правильная величина не определяется общепринятым правилом.
Во втором
случае амплитуда первичного фазного тока в 1, 2721/1, 2247 ≈ 1, 04 раз
(отношение первичных выпрямляемых напряжений) больше, чем в первом случае, а
угол несимметрии тока β = 2,093 эл.град. Независимо от величины угла
β между выпрямляемыми напряжениями Ur1 и Ur2, ток II определяется частными коэффициентами трансформации амплитуд
его ступеней (рис.2):
и
. В первом случае
, во втором
0,4317. В соответствии со вторым случаем II = 0, 4943 кт CN Id1, что не согласуется с формулой (3)
и, тем самым, нарушает каноническое правило. Противоречие связано также и с
отсутствием идентичности между формами 12-пульсных напряжений на выходе
первичного и вторичного мостов. Для его решения следует принять в обоих случаях
фактическое значение II определяемое относительно Ud1, а не Ud2 .
Действующее
значение тока нулевой последовательности I0, замыкающегося через обмотки W3 и W0, определяется частным коэффициентом
трансформации
, а через обмотки W1 и W2 –
, где в первом случае
,
, а во втором случае
,
.
Действующее
значение тока обмотки W1 определяется, также независимо от величины угла β, частными
коэффициентами трансформации амплитуд его ступеней (рис.2):
и
. В первом случае
, а
, во втором
, а
. Общий коэффициент трансформации в обоих случаях, с учетом
функции обмотки W3, равен кт = W1 /W. Искажение (рис.4) первичного тока в
сторону 6-пульсного (несимметричного 12-пульсного), вследствие сдвига по фазе
(β = 2, 093 эл.град.) между пульсациями тока, практически не сказывается
на его действующем значении, т.к. 6 < m < 12, а при m ≥
4 константа многопульсного выпрямления Cm
≈ 1.
Результаты
вычислений показывают, что в первом случае коэффициент превышения Кт
расчетной мощности трансформатора Тр1 равен 0,5∙(1,0772 + 0,37
+ 1,241) = 1,3441, где 1,241 и 1,0772 – Кт его обмоток соответственно W1 и W, а 0,37 – Кт его обмотки W3.
Суммарное значение Кт равно 1,3441 + 0,2618 = 1,6059, где
0,2618 – Кт трансформатора Тр2.
Во втором
случае Кт трансформатора Тр1 равен 0,5∙(1,0614 +
0,3197 + 1,0633) = 1,2222, где 1,0633и 1,0614 – Кт его обмоток соответственно W1 и W, а 0,37 – Кт его обмотки W3. Суммарное значение Кт
равно 1,2222 + 0,2348 = 1,457, где 0,2348 – Кт трансформатора Тр2.
Коэффициенты
во втором случае, вопреки ожиданию, меньше, чем в простом случае (без обмотки W2), т.е. когда Кт
трансформатора Тр1 равен 0,5∙(1,0772 + 0,37 + 1,0772) =
1,2622, где 1,0772 – Кт каждой из его обмоток W1 и W, 0,37 – Кт
его обмотки W3, а суммарное значение Кт
равно 1,2622 + 0,2618 = 1,524, где 0,2618 – Кт трансформатора Тр2.
Объясняется это тем, что Ur2 > Ur1 (наличием обмотки W2) и увеличением Ur1, а также отступлением (рис.4) от закона первичных токов (изменением
соотношения амплитуд ступеней первичного фазного тока). Парадокс в том, что
уменьшение коэффициента Кт
достигается не за счет лучшего использования обмоток трансформатора по
напряжению и току, а за счет купирующего действия обмотки W3, несмотря на включение
дополнительной обмотки W2 с плохим использованием. Ничтожно малая разность (0,067) между Кт
простого (1,524) и Кт второго (1,457) случая с 12-ю неравномерно
нагруженными выпрямляющими диодами и существенно более мягкой внешней
характеристикой, относительный коэффициент которой A = 12/2πab в первом, втором и простом случае
равен соответственно 1,3282; 1,5036 и 0,91, – свидетельство в пользу простого
случая. Здесь a = Ud2/Uф соответственно равно 2,3389; 2,0198;
1,712, b =
Id /Iw соответственно равно 0,6148;
0,62886; 0,6148.
При
отсутствии МРТ (трансформатор Тр2), сеть должна содержать нулевой
вывод от нейтрали вторичной обмотки трансформатора, первичная обмотка которого
соединена в треугольник. Только тогда в линейном токе, например, фазы A сети
(рис. 3 и 4),
определяемом разностью фазных токов
и
ТСГ, не будет гармоник
тока I0.
Подключение МРТ (мощность Тр2
≈ 20% от мощности Тр1)
купирует воздействие на сеть тока I0, обеспечивая рекуперацию энергии за
счет уменьшения в √3 раз амплитуды линейного тока
, совпадающего по фазе
с током
. В обоих случаях
. Данный способ рекуперации заключается в циркуляции части
энергии между МРТ и ТСГ, уменьшающей, тем самым, отбираемую из сети мощность на
42,3%. Высокие энергетические показатели ТСГ с МРТ – существенный противовес,
по крайней мере в простом случае, повышению KT за счет Тр2.
Общепринятый метод
расчета действующего значения 1-й гармоники I1A первичного тока [7] идеализирован
методологически, так как при этом сопоставляется прямоугольно-ступенчатая форма
первичного тока с вспомогательной синусоидой, проводимой через средние точки ее
ступеней. Фактически осуществляется ступенчатое интегрирование вспомогательной
синусоиды (с учетом амплитуд ступеней тока) относительно оси разложения в ряд
Фурье, проходящей через точку ее пересечения с осью абсцисс. Тогда, например,
для первичного тока
коэффициент An
(результат вывода формулы для An приведен для первой гармоники)
четной функции ряда Фурье при β = 0 эл.град., в первом (рис.3) и простом
случае, можно представить, с учетом использования вспомогательной синусоиды, в
виде двух сумм интегралов:
где: Im
– амплитуда фазного тока обмотки WA трансформатора Тр1, k = 2i – 1, i = 1, 2, 3. Результаты вычислений по
общепринятому методу имеют при m = 12 завышенные значения.
Объясняется это неравенством действующих значений сопоставляемых токов при их
равной длительности. Неточность метода проявляется при симметричной
6-ступенчатой полуволне тока ТСГ (при m = 12,
вместо 0,9775), а в случае ее меньшей длительности λ,
например, λ = 120 эл.град. полуволны тока IWA
без МРТ (рис.3 и 4) он вообще неприемлем. Это следует из того, что результат
деления λ полуволны вспомогательной синусоиды на m/2 интервалов дискретности превышает число ступеней тока.
Форма тока IWA с отношением амплитуды промежуточной
ступени к крайней √3 + 1 (
) при S = 0, 732 свидетельствует о наличии в
его составе 3-й гармоники и поэтому разложение в ряд Фурье, в этом случае,
имеет только методологическое значение. Но в первичном токе ряда выпрямителей с
МРТ, например, по схеме вторичной стороны (S = 0,732 на рис.1) нет 3-й гармоники,
а λ = 150 эл.град. Отсюда и необходимость в математически точном
разложении первичного тока в ряд Фурье.
Однако
разложение первичного тока в ряд Фурье без вспомогательной синусоиды, на этапе
приведения к общему знаменателю вида n2 – 1, приводит при n = 1 к неопределенности
или к запрету на
деление
. Обход этого препятствия возможен применением свойства [8]
определенного интеграла
на этапе разложения,
предваряющего приведение к общему знаменателю n2 –1. Тогда, для первичного тока
с осью разложения от средней точки его
полуволны, коэффициент An (результат вывода формулы для An приведен для первой гармоники)
четной функции ряда Фурье можно представить без использования вспомогательной
синусоиды в виде одной суммы интегралов:


Аналогично
для первичного тока IA(МРТ), также без использования вспомогательной синусоиды, можно
представить An в виде одной суммы интегралов:


При β =
2,093 эл.град. числители формул (5) и (6) практически равны, и поэтому
отношение коэффициентов An можно принять равным √3.
Коэффициент искажения ν (отношение действующего значения первой гармоники
первичного тока I1A к его полному значению IA∆), равный коэффициенту мощности χ [9] при коэффициенте
сдвига cosφ = 1, в первом случае ν = I1A /IA∆ = 0,79814/0, 8165 = 0,9775, а во
втором случае ν = I1A /IA∆ = 0,797/0,8165 = 0,9761. Уменьшение I1A при постоянстве IA∆ свидетельствует о генерации 5-й и 7-й гармоник,
компенсирующих уменьшение его первой гармоники в действующем значении
искажаемого тока. Справедливость ν = 0,9775 и для тока IA(МРТ) в первом случае связана с идентичностью формы и соотношения
амплитуд ступеней токов IA∆ и IA(МРТ): ν = I1A /IA (МРТ) = 0, 4608/0, 4714 = 0, 9775. Отличие
только в масштабах. Во втором случае ν для тока IA(МРТ) меньше, чем для тока IA∆, т.е.: ν = I1A/IA(МРТ) = 0, 4602/0, 4714 = 0, 9762. Как
видно, при искажении (рис.4) первичного тока в сторону 6-пульсного
(несимметричного 12-пульсного), происходящем вследствие сдвига по фазе (30 ±
2·β) эл.град. между пульсациями ступеней тока, уменьшается
действующее значение первой гармоники линейного тока I1A, замыкающегося через МРТ, но при
постоянстве его полного действующего значения IA(МРТ). Это также свидетельствует о
генерации 5-й и 7-й гармоник в искажаемом токе. Данное сопоставление
справедливо при приведении к одной и той же величине первичного фазного
напряжения с использованием коэффициентов трансформации 1,2247 и 1,2721 между
напряжениями Ur1 и Uф, т.е. в формулах (4), (5), (6) для вычисления действующего значения
первой гармоники необходимо разделить An
на 1,2247∙√2 или 1,2721∙√2. Рассмотренное искажение не соответствует теоретически канонической
форме первичного тока при симметричном 12-пульсном выпрямлении на вторичной
стороне ТСГ.
Неканонические
режимы работы 12-пульсных ТСГ с 6-фазной неравнолучевой вторичной обмоткой
трансформатора вместо 3-фазной «звезды» с нулевым выводом [10] – одно из двух
свидетельств нарушения [3] и закона [1]
и закономерностей [2] первичных токов многофазных выпрямителей.
Выводы:
1.
Рассмотренные режимы работы 12-пульсных ТСГ постоянного тока свидетельствуют о
частной возможности отступления от всех канонических закономерностей первичного
тока многопульсных выпрямителей.
2. Двойное
предназначение МРТ вносит его в число не только необходимых, но и энергетически
высокоэффективных элементов преобразователей с неуравновешенной магнитной
системой трансформатора.
3. Рассмотренное
математически точное разложение первичного тока в ряд Фурье, в отличие от
общепринятого метода с использованием вспомогательной синусоиды, применимо при любой его длительности и с
точностью, не зависящей от числа ступеней.
Литература
1. Чернышев М.А. Закон первичных токов многофазных мутаторов. «Электричество».
1940. № 6.
2. Абдулаев А.А., Аслан-заде А.Г. Анализ
многопульсного выпрямления. «Электричество». 1977. № 8.
3. Аслан-заде А.Г.
О возможности нарушения закона первичных токов многофазных выпрямителей.
http://goo.gl/ThzucD Materials of the XII
international scientific and practical conference. “Modern scientific
potential- 2016”. Volume 19 Technical
sciences Physics. Sheffield
science and education ltd 2016. C 42 – 44. (www.rusnauka.com Конференции 2016 года.
Современный научный потенциал-2016. Технические науки).
4.
Аслан-заде А.Г. Улучшение гармонического
состава токов и напряжений тиристорного выпрямителя посредством использования
токов нулевой последовательности при управлении. «Электричество». – 2013.
– №11.
5. Аслан-заде А.Г. Патент № 2340073 (RU) БИ, 2008, №33 и БИ, 2009, №10.
6. Аслан-заде А.Г. Патент № 2469457 (RU) БИ, № 34, 2012.
7. Шляпошников Б.М. Игнитронные
выпрямители для тяговых подстанций железных дорог. М.: Трансжелдориздат. –
1947. – 736 с.
8. Рывкин
А.А. , Рывкин А.З., Хренов Л.С. Справочник по математике. М.:
Высш.шк.,1987. – 480 с.
9. Каганов И.П. Электронные
и ионные преобразователи. Ч. 3. М. – Л. 1956.
10. Аслан-заде
А.Г. Основные этапы
построения трехфазного статического генератора постоянного тока. https://goo.gl/5Fmi1G News of Science and Education. № 8, 2017. Volume 2. Sheffield science and education ltd 2017.
C 8 – 21. (www.rusnauka.com Конференции 2017 года. Перспективы мировой науки – 2017. Технические науки).