Гришина
А.Н., Королев Е.В.
ФГБОУ ВО
"Национальный исследовательский Московский государственный строительный
университет"
Влияние рецептурных факторов на геометрические характеристики наноразмерных
гидросиликатов цинка*
*При
поддержке гранта Президента РФ МК-8575.2016.8
В настоящее время существенное внимание
уделяется повышению уровня и качества жизни
населения, в том числе обеспечению безопасности проживания [1]. Указанное подразумевает, в том числе, сокращение
численности колоний микроорганизмов в воздухе жилых, общественных и
промышленных зданий. Указанное может быть достигнуто использованием в составе строительных
материалов наноразмерных модификаторов, содержащих ионы металлов, обладающих
биоцидным действием. При этом содержание в строительном материале биоцидного
модификатора может составлять микроколичества [2]. К таким модификаторам
относят наномодификатор на основе гидросиликатов цинка. Синтез указанного
модификатора осуществляется введением растворов солей цинка в коллоидную
систему, содержащую мономеры кремниевой кислоты. Количество кремниевой кислоты
оценивается величиной α, примеры расчета которой представлены в работе [3].
Варьирование концентрации кремниевой кислоты, количества и вида вводимой соли
цинка определяет размер получаемых наночастиц гидросиликатов цинка. При этом
следует учитывать, что согласно [4] эффективный размер наночастиц составляет 8-9
нм и менее. Таким образом, целесообразно установить влияние рецептуры синтеза
на размер формируемых наночастиц гидросиликатов цинка.
Синтез нанотазмерных частиц
гидросиликатов цинка проводился по технологии, описанной в [3] В качестве солей цинка использовались ацетат и
сульфат цинка.
Известно [5], что на скорость
полимеризации мономеров силикатной природы оказывает существенное влияние концентрация
и вид анионов, присутствующих в коллоидном растворе. Поэтому исследовалось
влияние сульфат-ионов и ацетат-ионов на размер синтезируемых наночастиц
гидросиликатов цинка (рис. 1). Концентрация вводимых солей составляла
0,1 %, при этом ν(Si)/ν(Zn) = 2,9…7,0. Количество вещества аморфного кремнезема
в используемых растворах составляла С(SiO2) = 0,009…0,019 моль/л.
Анализ рис. 1 показывает, что размер
синтезируемых наночастиц гидросиликатов цинка при увеличении концентрации кремниевой
кислоты в исследуемом диапазоне концентраций не оказывает влияния на размер
частиц, при этом при использовании сульфата цинка формируются частицы со
средним диаметром 22 нм, а при использовании ацетата цинка – 26 нм. При этом
следует отметить, что в указанных концентрациях при увеличении рН коллоидного
раствора не наблюдается изменение размера синтезируемых наночастиц (рис. 2).

Рис .1. Размер синтезируемых гидросиликатов цинка, синтезированных
с использованием □ – сульфата цинка; ◊ – ацетата цинка

Рис 2. Величина рН коллоидных растворов гидросиликатов
цинка, синтезированных с использованием □ – сульфата цинка и ∆ –
ацетата цинка
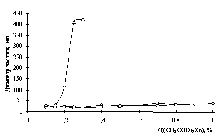
Однако увеличение концентрации вводимых
солей может приводить и к существенному увеличению размера получаемых
наночастиц (рис. 3). Как видно из рис. 3 при C((CH3COO)2Zn) =
0,1 % размеры наночастиц действительно имеют близкий размер. Однако при
увеличении концентрации ацетата цинка размер формируемых наночастиц существенно
изменяется при α = 1,5, а при α = 1,0 и при α = 0,5 – изменяются
не существенно. При α = 1,5 размер частиц приближается к 0,5 мкм.
Седиментационная устойчивость таких
коллоидных систем крайне низкая.
Для установления причин агрегирования
частиц в период синтеза при α = 1,5 исследована величина рН
коллоидных растворах (рис. 4). Установлено, что при увеличении концентрации
ацетата цинка величина рН существенно не изменяется при α = 1,0 и
выравнивается при α = 1,5 и α = 0,5 до рН = 6,4 и рН = 5,5,
соответственно. Учитывая, что по указанному диапазону величины рН скорость
полимеризации отличается не существенно и авторам удавалось получать устойчивые
коллоидные растворы при более высоких значениях рН (до начала деполимеризации
кремниевой кислоты), при используемых величинах концентрации ацетата цинка,
поэтому причиной полимеризации является относительно высокая концентрация
кремниевой кислоты.

Рис. 3. Размер формируемых гидросиликатов цинка при
различных концентрациях ацетата цинка:
◊ – при α = 0,5; □ – при α =
1,0; ∆ – при α = 1,5

Рис. 4. Величина рН коллоидного раствора
гидросиликатов цинка при различных концентрациях ацетата цинка:
◊ – при α = 0,5; □ – при α =
1,0; ∆ – при α = 1,5
Таким образом, установлены основные
особенности формирования наночастиц гидросиликатов цинка: увеличение
концентрации кремниевой кислоты (α = 1,5) оказывает существенное влияние
на размер синтезируемых наночастиц при незначительном увеличении концентрации
ацетата цинка. Однако при низких значениях концентрации ацетата цинка и
увеличении концентрации кремниевой кислоты размер частиц варьирует
несущественно. Величина рН при таких концентрациях кремниевой кислоты не
оказывает существенного влияния на начальный размер частиц.
Литература
1. Кайль Я.Я., Епинина В.С. Повышение качества жизни
населения субъектов рф как приоритет совершенствования государственного
менеджмента // Управление экономическими системами: электронный научный журнал.
2013. №9 (57). С. 65.
2. Строганов В. Ф., Сагадеев Е.В. Введение в
биоповреждение строительных материалов. Казань, КазГАСУ, 2014. – 200 с.
3. Гришина А.Н., Королев Е.В., Сатюков А.Б. Синтез и
исследование устойчивости золей гидросиликатов бария // Строительные материалы.
2013. № 9.
С. 91–93.
4. Королев Е.В. Проблемы и перспективы нанотехнологии
в строительстве // Известия Казанского государственного
архитектурно-строительного университета. 2011. № 2 (16).
С. 200–208.
5. Шабанова Н.А., Саркисов П.Д. Основы золь-гель
технологии нанодисперсного кремнезема. М.: Академкнига,
2004. – 208 с.