ТЕХНИЧЕСКИЕ НАУКИ / Отраслевое машиностроение
к.т.н. Харисов Л.Р, к.т.н.
Мухаметзянова Г.Ф., Яковлева Д.М.
Набережночелнинский институт Казанского (Приволжского)
федерального университета, Россия
Методика оценки износа материалов
для штампов
твердо-жидкой штамповки.
В современном машиностроении при выборе инструментальных материалов для
ковочных штампов, последовательно совмещающего литье в кристаллизатор и других
конструкций, работающих в условиях циклического температурно-силового
воздействия и контакта с частично закристаллизовавшимися металлами,
руководствуются показателями сопротивления сталей термомеханической усталости и
их физико-химической устойчивости при взаимодействии с металлическими
расплавами.
Известен способ исследования термомеханической усталости материалов,
который заключается в том, что образец закрепляют в захватах нагружающего
устройства, нагружают внешней нагрузкой, помещают в ванну со средой и нагревают
исследуемую зону образца за счет непосредственного контакта ее с высокотемпературным
нагревателем.
Этот способ не позволяет получать достаточно достоверную информацию об
особенностях протекания процессов гидроабразивного износа в штампах и других
аналогичных конструкциях, подвергающихся специфическому воздействию штампуемого
сплава, находящегося в частично закристаллизовавшемся двухфазном состоянии.
В предложенной методике определения термо-механической усталости и
износа инструментальных материалов, находящихся в контакте с твердо-жидкими
двухфазными расплавами, литейный сплав приготавливается в специальном
кристаллизаторе, который затем дозировано подается под усилием прессования в
зону исследуемого участка образца.
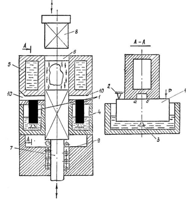
Принципиальная схема испытаний по предлагаемому методу представлена на
рис. 1.

Рис. 1. Схема способа испытаний материалов на
термомеханическую усталость и износ: 1 – образцы, 2,3 – захваты, 4 – ванна с
охладителем,
5 – кристаллизатор, 6 – камера прессования, 7 – поршень, 8 –
пуансон,
9 – упор, 10 – литниковые каналы.
Образцы 1 прямоугольного сечения закрепляют в захватах
2 и 3, нагружают внешней механической нагрузкой Р, помещают в ванну 4 с охлаждающей средой и нагревают исследуемую
зону «а, б» образцов за счет контактирования с подвижным твердо-жидким сплавом.
Твердо-жидкий сплав получают в водоохлаждаемом
кристаллизаторе 5, внутренняя полость которого одновременно является камерой
прессования.
В исходном состоянии в камеру прессования 6 кристаллизатора 5 введен
снизу поршень 7, который образует днище кристаллизатора 5. Затем в камеру
прессования кристаллизатора заливается расплав, и после частичного его
затвердевания он прессуется с помощью прессующего пуансона 8. При этом поршень
7 опускается вниз до упора 9 и открывает доступ прессуемого сплава в щелевидные
прямоугольные каналы 10, в нижние поверхности которых введены исследуемыми
зонами «а, б» образцы 1. В процессе прессования частично закристаллизовавшаяся
отливка разрушается. При этом твердая и жидкая фазы отливки в щелевых каналах
10 взаимодействуют с исследуемыми участками «а, б» образцов. После
кристаллизации под высоким давлением жидкой фазы литейного сплава в исследуемой
зоне образцов осуществляется операция их разгружения от внешнего усилия Р и
удаляется пресс-остаток. Затем производится исследование поверхности образцов в
зоне непосредственного контактирования с подвижным твердо-жидким сплавом на
возникновение трещин и износа.
Таким образом, аналоговые и квазианалоговые
способы испытаний позволяют получить интегральную и дифференциальную
зависимость критериев разрушения от параметров нагружения
и структуры материала.
Литература
1. Способ исследования
термомеханической усталости материалов [Текст]: а.с. 252690 СССР МКИ3
G 01 N 3/18 / Б.Ф.Трахтенберг, Г.А.Котельников, М.С.Колесников, В.М.Бобров,
В.А.Калашников (СССР). – №1249903/25-28;
заявл. 24.06.68; опубл. 22.09.69, Бюл. 29. – 2 с.: ил.
2. Иванова B.C. Усталостное разрушение
металлов – М., Металлоиздат, 1962. – 276 с.
3. Трахтенберг Б.Ф. и др. Повышение
работоспособности инструмента по результатам квазианалоговых испытаний //
Механика. – Куйбышев, 1972. – С. 25-33.