Технические науки / 4 Транспорт
Харенко
И.А., д.т.н. Кукис В.С., д.т.н. Романов В.А.
Южно-Уральский государственный университет
Возможные пути
обеспечения сжатым воздухом
дизелей с
пневматическим распыливанием топлива
В настоящее
время в качестве поршневых ДВС используются двигатели с принудительным
воспламенением топлива (бензиновые или газовые двигатели) и с воспламенением
топлива от сжатия (бескомпрессорные дизели). В последних подача топлива в
цилиндры осуществляется путем его распыливания под давлением, обеспечиваемым
механическим путем (либо в топливном насосе высокого давления, либо в
насос-форсунке). Появившиеся исторически первыми двигатели с воспламенением
топлива от сжатия и пневматическим распыливанием топлива (компрессорные дизели)
в первой половине прошлого века были сняты с производства. Причина заключалась
в том, что для производства сжатого воздуха был необходим компрессор,
приводимый в действие от коленчатого вал и потреблявший значительную долю
мощности, вырабатываемой двигателем.
Между тем специфические особенности дизелей с пневматическим распыливанием топлива, приведенные в обобщенном виде на рис. 1, и изложеные6 авторами настоящей статьи теоретические и экспериментальные исследования в работах [1–6], свидетельствуют о целесообразности возвращения к компрессорным дизелям, так как в настоящее время получение сжатого воздуха для пневматического распыливания топлива можно обеспечить, не отбирая мощность с коленчатого вала.
Для обсуждения возможных путей реализации сказанного, прежде всего, рассмотрим процесс преобразования термохимической энергии топлива в поршневых ДВС.

Рис. 1. Специфические
особенности дизеля
с пневматическим распыливанием топлива
Выделившаяся при сгорании теплота преобразуется во
внутреннюю энергию рабочего тела, которая в последующем частично
трансформируется в механическую работу, а частично «теряется» либо с
поверхности двигателя, либо с уходящими из него отработавшими газами (рис. 2).

Рис. 2.
Принципиальная схема распределения термохимической
энергии
топлива в поршневом двигателе внутреннего сгорания
Соответствующий приведенной схеме энергетический
баланс (усредненный по литературным данным [7, 8, 9 и др.]) представлен в таблице.
Энергетический
баланс поршневых ДВС
|
Тип двигателя |
Составляющие баланса (проценты от теплоты сгорания использованного топлива) |
||||
|
Эффективная
работа |
Работа, затрачиваемая на механические «потери» |
«Потери» с отработавшими газами |
«Потери» с поверхности двигателя и его систем |
«Потери», обусловленные
неполнотой сгорания топлива |
|
|
С искровым зажиганием |
21–28 |
10-15 |
30–35 |
15–37 |
0–15 |
|
Дизели: без наддува с наддувом |
29–42 35–45 |
9-17 10-15 |
25–45 25–45 |
17–40 12–30 |
0–15 0-5 |
Как видно, значительную часть энергетических «потерь» в
двигателях составляют «потери» с отработавшими газами.
Выбрасываемые из двигателей в атмосферу отработавшие
газы обладают механическим, термическим и
химическим потенциалами [10].
Наличие
разницы температуры отработавших газов и окружающей среды создает
принципиальную возможность получения от отработавших газов энергии в форме
потока теплоты (Qог). Максимальное количество работы за единицу
времени (т. е. мощности), которая может быть получена из этого потока теплоты,
определяется её эксергией (термической эксергией)
[10, 11].
Использование разницы давлений рог
и рос принципиально позволяет получить ещё некоторое количество
работы, которая представляет собой механическую
составляющую эксергии отработавших газов (Ехр).
Кроме термической и механической, эксергия
отработавших газов содержит ещё и химическую
составляющую (Ехх ог). Последняя представляет собой сумму концентрационной
и реакционной эксергии [10].
Первая (Еххк ог) определяется,
как максимальная работа, которая может быть получена в процессе выравнивания
концентрации компонентов, составляющих отработавшие газы при полном сгорании
топлива в цилиндре дизеля, с их концентрацией в окружающей среде. Реакционная
эксергия связана с возможностью протекания в термодинамической системе
химических реакций. Отработавшие газы, выходящие из цилиндра двигателя,
содержат компоненты, представляющие такую возможность. Основными из них
являются: оксид углерода, углеводороды, оксиды азота, сернистый ангидрит,
бенз(а)пирен, углеводород и др. Учитывая все рассмотренные составляющие,
энергию отработавших газов, выходящую из цилиндра двигателя, можно представить
в виде суммы (рис. 3):
, (1)
где Аог – анергия
потока теплоты.

Рис.
3. Структура энергии потока отработавших газов,
выходящих из
поршневого ДВС
На рис. 3
эта энергия показана уходящей из поршневого ДВС соответствующей суммой полос.
Количественные соотношения между элементами потока энергии получены расчетом
для одного из исследованных В.С. Кукисом режимов работы опытного четырехтактного
одноцилиндрового дизеля размерностью
15/16 с газотурбинным наддувом [12].
Заметим, что при рассмотрении отработавших газов, выбрасываемых в атмосферу поршневыми ДВС, приходится иметь дело с
потоком вещества, т. е. открытой термодинамической системой. Поскольку движение
потока сопровождается передачей теплоты от отработавших газов в окружающую среду, а процесс выброса газов нельзя считать протекающим
достаточно медленно, то, строго говоря, этот процесс является неравновесным.
Однако, сделав предположение о квазиравновесности (это предположение в
отношении обсуждаемых процессов относят ко второму порядку приближения [13]),
можно воспользоваться уравнениями термодинамики для равновесных состояний и
получить основные характеристики процессов, не отягченные неравновесностью.
Рассмотрим
установившийся поток отработавших газов с термическими параметрами Тос
и рос. Параметры, характеризующие равновесие с окружающей средой,
обозначим соответственно Тос и рос. Очевидно, что для
исследуемого в настоящей работе случая Тос > Тос и рог > рос. Наличие градиента потенциалов обусловливает
возможность термического и механического (деформационного) взаимодействия отработавших
газов с окружающей средой, т. е. принципиальную возможность получения работы. Эта работа может быть получена двумя путями (рис. 4) [10].

Первый вариант использует температурный
перепад ∆Т = Тог – Тос при
рог = idem в устройстве 1, преобразующем энергию теплового потока
в работу. Второй вариант представляет собой изотермическую расширительную машину
2, функционирующую при Тос = idem и использующую перепад давлений
∆р = рог – рос, И первом и втором случаях работа
передается в устройство 3, которое в интересующем нас аспекте должно
вырабатывать сжатый воздух, необходимый для организации пневматического
распыливания топлива в поршневом ДВС.
Энергия теплового потока
определятся по уравнению
, (2)
где mог – масса
ОГ; ср ог – изобарная средняя массовая теплоемкость отработавших
газов; Ног, Нос – соответственно энтальпия отработавших
газов и окружающей среды.
Эксергия рассматриваемого потока энергии
(термическая эксергия отработавших газов) будет равна
, (3)
где
– среднетермодинамическая
температура процесса передачи теплоты; ∆S – изменение энтропии отработавших
газов;
– коэффициент
работоспособности теплоты отработавших газов (эксергетическая функция) [10].
Термическая эксергия равна той
максимальной работе Lт, которую можно получить из энергии теплового потока Qог.
Очевидно, что из всех
составляющих энергии потока отработавших газов технически доступными в
настоящее время средствами можно утилизировать энергию теплового потока (Qог) и
механическую составляющую (Ехр ог).
На рис. 5–7 показаны
принципиальные схемы поршневых ДВС, в которых та или другая составляющая
энергии потока отработавших газов используется для получения сжатого воздуха,
которым можно обеспечить пневматическое распыливание топлива не «отбирая» для
этого мощность с коленчатого вала двигателя.
На рис. 5 приведена
принципиальная схема поршневого ДВС с распыливанием топлива сжатым воздухом,
получаемым в результате утилизации энергии теплоты отработавших газов с помощью термоциркуляционного насоса (принцип действия
которого изложен в работе [14].

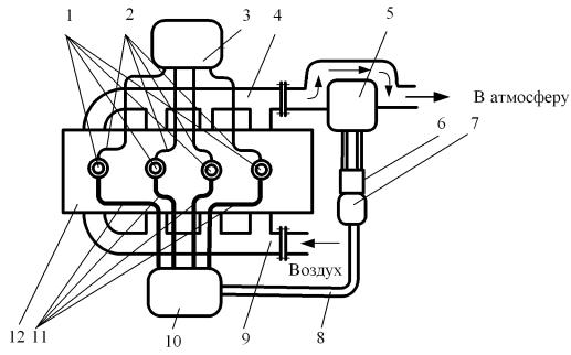
Рис. 5. Принципиальная схема поршневого ДВС с распыливанием топлива
сжатым
воздухом, получаемым в результате утилизации теплоты
отработавших
газов с помощью термоциркуляционного насоса:
1 –
пневматические форсунки, оборудованные электромагнитной системой управления; 2 –
топливопроводы; 3 – топливный бак; 4 – выпускной коллектор;
5 – термоциркуляционный насос; 6 – гидромотор; 7 – компрессор высокого
давления; 8 – воздушный трубопровод; 9 – впускной коллектор; 10 – ресивер; 11 –
воздухопроводы; 12 – поршневой двигатель внутреннего сгорания
Двигатель работает
следующим образом. Отработавшие газы нагревают термоциркуляционный насос, который
обеспечивает прокачку рабочей жидкости через
гидромотор, приводящий в действие компрессор высокого давления, нагнетающий
сжатый воздух в ресивер, откуда сжатый воздух по воздухопроводам подается к
пневматическим форсункам, оборудованным электромагнитной системой управления, к
которым по топливопроводам поступает топливо из топливного бака. Электромагнитная
система управления форсунками обеспечивает распыливание топлива в цилиндры
двигателя в необходимые моменты времени.
Авторами статьи
предложена несколько иная принципиальная схема, которая аналогична предыдущей,
только вместо термоциркуляционного насоса здесь для утилизации теплоты отработавших
газов применен термкомпрессор на базе двигателя Стирлинга (рис.6), совмещенного
с компрессором [15].

Рис. 6. Принципиальная схема поршневого ДВС с распыливанием
топлива
сжатым воздухом, получаемым в результате утилизации теплоты
отработавших
газов с помощью двигателя Стирлинга,
совмещенного
с компрессором:
1 – пневматические
форсунки, оборудованные электромагнитной системой управления; 2 – топливопроводы; 3 – топливный бак; 4 – выпускной коллектор;
5 – двигатель
Стирлинга, совмещенный с компрессором (термокомпрессор);
6 – воздушный
трубопровод;7 – впускной коллектор; 8 – ресивер; 9 – воздухопроводы; 10 –
поршневой двигатель внутреннего сгорания
Двигатель
работает следующим образом. Отработавшие газы нагревают головку двигателя Стирлинга,
который обеспечивает работу совмещенного с ним компрессора высокого давления, нагнетающего сжатый воздух в ресивер,
откуда сжатый воздух по воздухопроводам подается к пневматическим форсункам,
оборудованным электромагнитной системой управления, к которым по
топливопроводам поступает топливо из топливного бака. Электромагнитная система
управления форсунками обеспечивает распыливание топлива в цилиндры двигателя в
необходимые моменты времени.
Утилизация механической составляющей
эксергии отработавших газов (Ехр ог) с целью получения сжатого
воздуха может быть реализована в комбинированном двигателе с помощью
высокочастотного электрического генератора (рис. 7) [16].

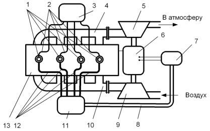
Рис. 7. Принципиальная схема
комбинированного двигателя
с газотурбинным наддувом и с распыливанием топлива сжатым воздухом,
получаемым в результате утилизации механической составляющей эксергии отработавших
газов с помощью высокочастотного
электрического генератора:
1 – пневматические
форсунки, оборудованные электромагнитной системой управления; 2 – топливопроводы; 3 – топливный бак; 4 – выпускной коллектор;
5 – газовая турбина; 6 – высокочастотный
электрический генератор; 7 – электродвигатель с компрессором высокого
давления; 8 – воздушный трубопровод; 9 – компрессор низкого давления; 10 –
впускной коллектор; 11 – ресивер; 12 – воздухопроводы; 13 – поршневой двигатель
внутреннего сгорания
В этом случае отработавшие газы поршневого
ДВС по выпускному коллектору поступают в газовую турбину, вал которой вращает
ротор высокочастотного электрогенератора, производящего электроэнергию,
используемую для привода в действие компрессора высокого давления.
Часть энергии, передаваемая от вала
газовой турбины ротору высокочастотного электрогенератора, передается через
него на вал компрессора низкого давления, с помощью которого производится
наддув поршневого ДВС.
Компрессор
высокого давления по воздушному трубопроводу нагнетает сжатый воздух в ресивер,
откуда сжатый воздух по воздухопроводам подается к пневматическим форсункам,
оборудованным электромагнитной системой управления, к которым по топливопроводам
поступает топливо из топливного бака.
Приведенные примеры инженерных решений вопроса получения сжатого воздуха для пневматического распыливания топлива без отбора мощности с коленчатого вала свидетельствуют о возможности возвращения к компрессорным дизелям с целью повышения мощностных, экономических, экологических показателей и пусковых качеств поршневых ДВС.
Литература
1. Кукис
В.С. Компрессорный дизель - прошлое
или будущее двигателестроения? / В.С. Кукис, И.А. Харенко // Научные проблемы
транспорта Сибири и Дальнего Востока. Научный журнал. - Вып. 2. - Новосибирск:
НГАВТ, 2010.- С. 186-188.
2. Кукис
В.С. О целесообразности и
возможности реализации пневматического распыливания топлива в дизелях / В.С.
Кукис, И.А. Харенко // Вестник АВН № 3 (32), 2010. - С. 287-290.
3. Харенко,
И.А. Совершенствование рабочего
процесса дизелей путем пневматического впрыскивания топлива / И.А. Харенко //
Известия Международной академии аграрного образования. - Вып. 11.- 2011. - С.
68-74.
4. Кукис
В.С. Повышение эффективности дизелей
за счет пневматического распыливания топлива
/ В.С. Кукис, И.А. Харенко // Труды Международного Форума по проблемам науки,
техники и образования (Москва 7-10 декабря 2010). - М.: Академия наук о земле,
2010 - С. 110-111.
5. Кукис
В.С. Пневматическое распыливание
топлива как способ снижения токсичных выбросов ДВС / В.С. Кукис, И.А. Харенко,
В.А. Романов // 5-е Луканинские чтения. «Решение энергоэкологических проблем в
автотранспортном комплексе». Юбилейная науч.-техн. конф. М.: МАДИ, 2011 - С.
32-34.
6. Пат. на полезную
модель РФ 116901. Двигатель внутреннего сгорания / В.С. Кукис, И.А. Харенко,
В.А. Романов. Опубл. 10.06.12. Бюл. № 16.
7. Двигатели
внутреннего сгорания. 1 кн. Теория рабочих процессов: учеб. для вузов / под
ред. В.Н. Луканина. - М.: Высш. шк., 2005. - 479 с.
8. Двигатели внутреннего сгорания: Теория
поршневых и комбинированных двигателей / под общ. ред. А.С. Орлина. - 4-е изд.
- М.: Машиностроение, 1983. - 372 с.
9. Некрасов, В.
Г. Экологически чистый и экономичный автомобильный двигатель / В.Г. Некрасов. -
Алматы, 2005. - 327 с.
10. Бродянский, В.М. Эксергетический метод
и его приложения / В.М. Бродянский, В. Фратшер, К. Михалек. - М.: Энергоатомиздат,
1988. - 288 с.
11. Бродянский, В.М. Эксергетический метод
термодинамического анализа / В.М. Бродянский. - М.: Энергия, 1973. - 296 с.
12. Кукис, В.С. Системно-термодинамические
основы применения двигателей Стирлинга для повышения эффективности силовых и
теплоиспользующих установок мобильной техники: дис. … д-ра техн. наук: 05.04.02
/
Кукис Владимир Самойлович. - Челябинск, 1990. - 461 с.
13. Горшков, А.М.
Процессы в открытых термодинамических системах / А.М. Горшков, З.Н. Нестратова,
А.Г. Подольский // Машиностроение. - 1987. -
№ 9. - С. 45-51.
14. Осадчий, Г.Б. Насос для малой
энергетики / Г.Б Осадчий // Тракторы и сельскохозяйственные машины. - 1999. -
№11. - С. 22-23.
15. Пат. на полезную модель РФ 89177.
Дизель с пневматическим распыливанием топлива / В.С. Кукис, В.А. Романов, Р.Г.
Баймуратов. Опубл. 27.11.2009. Бюл. № 33.
16. Заявка на полезную модель РФ №
2012100565. Комбинированный двигатель с газотурбинным наддувом и пневматическим
распыливанием топлива // В.С. Кукис, И.А. Харенко, В.А. Романов. Решение о
выдаче Патента от 24.09. 2012.