Шилибек К.К., Сыргабаев
М.Н., Абильдаев А.Т.
Таразский государственный
университет имен М.Х. Дулати, Казахстан
ИССЛЕДОВАНИЕ РАБОЧЕГО
ПРОЦЕССА БУЛЬДОЗЕРНОГО ОБОРУДОВАНИЯ С САМОИЗМЕНЯЕМЫМ УГЛОМ РЕЗАНИЯ ДЛЯ
ПРОВЕДЕНИЯ ПЛАНИРОВОЧНЫХ РАБОТ
Развитие мелиорации как средства повышения
урожайности сельскохозяйственных культур неразрывно связано с развитием
земледелия, ростом производительных сил, повышением эффективности машин для
обработки мелиорируемых земель.
С учетом всех этих обстоятельств можно
твердо утвердить, что большое место в мелиорации занимает научно-технический
прогресс по созданию развитых мелиоративных систем и машин для планировки
орошаемых земель.
Планировка
орошаемых земель имеет большое значение, так как она позволяет:
значительно
улучшить качество полива сельскохозяйственных культур и промывок засоленных
почв.
повысить
производительность труда на поливе
нормализовать
использование орошаемой площади, оросительной воды и естественных осадков.
повысить
качество сельскохозяйственных работ (вспашка, посев, уход, уборка) и
эффективность использования сельскохозяйственных машин.
повысить эффективность внесенных удобрений
снизить
затраты на строительство оросительной сети.
Все это
в конечном итоге повышает в 1,5-2 раза урожай сельскохозяйственных культур,
снижает себестоимость их продукции.
Особенно
большое значение планировка имеет на мелиоративно неблагополучных землях, на
участках с сильно выраженным микрорельефом.
В нашей
стране большая часть планировочных работ выполняется с присутствием
бульдозеров. Со времен серийных производств этих машин постоянно проводятся
работы по совершенствованию конструкций, целью которых является повышение
производительности, надежности и долговечности бульдозеров. При этом выбор и
определение основных параметров рабочего оборудования имеет огромное значение.
Несмотря на многочисленность земляных работ, а также на различность
физико-механических свойств разрабатываемой среды, разновидность конструкций
рабочих органов (отвалов) не много, за исключением специальных оборудований
(шахтный, тоннельный и т.д.) Основные типы конструкций, которые эксплуатируются
в наших мелиоративных системах имеют название: неповоротный, поворотный,
универсальный. Из них в большей степени применяются, как правило, бульдозеры с
неповоротным рабочим оборудованием, другие два вида отвала используются ввиду
большого веса конструкций весьма редко. Решение задачи по дальнейшему
увеличению производительности бульдозеров с неповоротным отвалом обеспечивает
закономерные снижения себестоимости продукции, удельных показателей как
металлоемкость, расход топлива на единицу продукции. Предлагается множество
способов увеличения производительности бульдозеров и уменьшение энергоемкости
работы. Среди них достижение цели путем
изменения величины одного из основных параметров – отвала. Поэтому конструкторы
стремились, исходя из множеств результатов различных исследований, создать
рабочий орган с оптимальными параметрами. К ним можно отнести радиус кривизны,
высоту и ширину отвала, угол резания, заднийугол ит.д. Весьма перспективным является исследования влияния угла
резания на производительность и энергоемкость процесса по комплексному
механизацию планировочных работ.
На
кафедре «Транспортная техника и
технологии» ТарГУ им. М.Х.Дулати проводится научно-исследовательская работа по
повышению эффективности бульдозеров с неповоротным отвалом. Перед проведением
экспериментальных работ были теоретический обоснованы преимущества новой
техники, а также были сделаны обзорные, аналитические, поисковые работы в
области эффективного применения бульдозеров.
Был
создан модель бульдозера ДЗ-42 в масштабе 1:10 с самоизменяемым углом
резания и самоустановлением глубины резания. Для достижения этой цели было
принято такое конструктивное решение, где отвал и рама между собой соединены
упругим звеном (пружинами). Конструкция
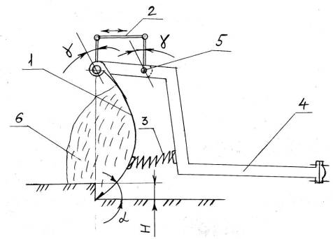
предлагаемого рабочего оборудования показана на рис.1

1 –
отвал; 2 – тяга; 3 – упругий элемент; 4 – брус; 5 – сопротивление
переменное; 6 – призма волочения.
Рисунок
1 –Схема отвала с самоизменяемым углом резания
В ранних статьях упоминались о вероятных положительных эффектах [1]
нового оборудования, были теоретический обоснованы характер изменения некоторых
дискретных параметров [2]
Для экспериментального подверждения
выдвинутых идеи были проведены серии опытов с моделью бульдозера ДЗ-42. Для
этого была выбрана матрица планирования экспериментов второго порядка.(таб1)
В
качестве варируемых параметров выбраны: начальная глубина копания (Х1), твердость грунта (Х2), сила предварительного сжатия
упругих элементов (Х3), скорость копания (Х4)
Увеличение производительности бульдозеров при
углах резания 700-800 по сравнению с 550 были
доказаны россиискими учеными [3] В нашем случае проводились подобные
эксперименты с отвалом с самоизменяемым углом резания отвала. Целью
эксперимента была установление закономерности изменении силы копания, обьема
призмы волочения в зависимости от выбранных варируемых параметров. Результаты
эксперимента приведены на таб.1 и получены соответствующие графики и уравнении регрессии
Таблица 1 Матрица планирования
эксперимента
в кодированном виде и результаты её реализации
|
№ опыта |
Факторы |
Функции отклика |
||||||
|
Толщина первоначальной
стружки, һ, мм |
Твердость грунта,С |
Сила предварительного
сжатия пружины, Fсж , кг |
Скорость движения
рабочего оборудования V, м/с |
Горизонтальная
состовляющая силы копания, Р01, кг |
Вертикальная
состовляющая силы копания, Р02, кг |
Масса призмы волочении, m, кг |
Угол резания, α,градус |
|
|
Х1 |
Х2 |
Х3 |
Х4 |
- |
- |
- |
|
|
|
1 |
8 |
2 |
1 |
0,09 |
1,9 |
0 |
1,12 |
700 |
|
2 |
16 |
2 |
1 |
0,09 |
2,0 |
0 |
1,12 |
700 |
|
3 |
8 |
4 |
1 |
0,09 |
2,2 |
-0,37 |
1,25 |
800 |
|
4 |
16 |
4 |
1 |
0,09 |
2,3 |
-0,43 |
1,26 |
810 |
|
5 |
8 |
2 |
2 |
0,09 |
2,25 |
0,18 |
1,1 |
650 |
|
6 |
16 |
2 |
2 |
0,09 |
2,1 |
0,16 |
1,1 |
650 |
|
7 |
8 |
4 |
2 |
0,09 |
2,15 |
-0,17 |
1,2 |
750 |
|
8 |
16 |
4 |
2 |
0,09 |
2,2 |
-0,17 |
1,2 |
750 |
|
9 |
8 |
2 |
1 |
0,15 |
2,3 |
-0,07 |
1,15 |
720 |
|
10 |
16 |
2 |
1 |
0,15 |
2,1 |
-0,06 |
1,15 |
720 |
|
11 |
8 |
4 |
1 |
0,15 |
2,7 |
-0,46 |
1,26 |
800 |
|
12 |
16 |
4 |
1 |
0,15 |
2,8 |
-0,47 |
1,27 |
800 |
|
13 |
8 |
2 |
2 |
0,15 |
2,0 |
0,02 |
1,1 |
690 |
|
14 |
16 |
2 |
2 |
0,15 |
2,1 |
0,02 |
1,1 |
690 |
|
15 |
8 |
4 |
2 |
0,15 |
2,5 |
-0,2 |
1,2 |
750 |
|
16 |
16 |
4 |
2 |
0,15 |
2,7 |
-0,21 |
1,2 |
750 |
|
17 |
4 |
3 |
1,5 |
0,12 |
2,4 |
-0,07 |
1,16 |
720 |
|
18 |
20 |
3 |
1,5 |
0,12 |
2,95 |
-0,5 |
1,16 |
800 |
|
19 |
12 |
1 |
1,5 |
0,12 |
1,5 |
0,18 |
1,0 |
820 |
|
20 |
12 |
5 |
1,5 |
0,12 |
2,9 |
-0,61 |
1,3 |
800 |
|
21 |
12 |
3 |
0,5 |
0,12 |
2,5 |
-0,42 |
1,27 |
650 |
|
22 |
12 |
3 |
2,5 |
0,12 |
2,5 |
0,2 |
1,1 |
710 |
|
23 |
12 |
3 |
1,5 |
0,06 |
2,2 |
-0,02 |
1,13 |
730 |
|
24 |
12 |
3 |
1,5 |
0,18 |
2,0 |
-0,1 |
1,17 |
720 |
|
25 |
12 |
3 |
1,5 |
0,12 |
2,45 |
-0,07 |
1,15 |
720 |
|
26 |
12 |
3 |
1,5 |
0,12 |
2,4 |
-0,07 |
1,14 |
720 |
|
27 |
12 |
3 |
1,5 |
0,12 |
2,45 |
-0,07 |
1,16 |
720 |
|
28 |
12 |
3 |
1,5 |
0,12 |
2,5 |
-0,07 |
1,15 |
720 |
|
29 |
12 |
3 |
1,5 |
0,12 |
2,55 |
-0,076 |
1,14 |
720 |
|
30 |
12 |
3 |
1,5 |
0,12 |
2,5 |
-0,07 |
1,15 |
720 |
|
31 |
12 |
3 |
1,5 |
0,12 |
2,4 |
-0,072 |
1,16 |
720 |
В результате анализа
экспериментальных данных получены следующие графики:


Как
показывает график зависимостей, с увеличением прочности и толщины снимаемой
стружки сила
сопротивления растет
Уравнения
регрессии полученные экспериментальным путьем:
Рг=8+0,4Х1 -1,5Х2-2,4Х3-3,1Х4+0,12Х12
-0,5Х33-0,2Х1Х2+10,5Х3Х4
mпр= 7,1-0,5Х1+0,6Х2+0,1Х3-0,3Х2Х3
Выводы:С
увеличением твердости грунта и упругости пружины до 1,5 кг обьем призмы
волочения растет, при дальнейшем увеличений упругости звена до 2,5 кг обьем
призмы уменьшается с увеличением твердости грунта. Анализируя график, можно
предположить, что для бульдозеров класса 3т с самоизменяемым отвалом
оптимальным условием являються: Fcж=1,5кг, С=2 при һ=12 мм