Технические науки.Транспорт
М.С.Царикаева
Совершенствование предохранительных
устройств
для
автомобильных дорог
Применяемые на автомобильных дорогах
предохранительные устройства способствуют повышению безопасности дорожного
движения. Группа исследователей с участием автора разработала комплекс таких
устройств, включающий более десяти эффективных технических решений, защищенных
в 2013 году патентами на полезные модели Российской Федерации. В статье
приводится часть из этих конструкций [1-4].
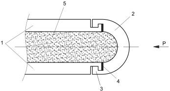
На рисунке 1 представлено
предохранительное устройство для автомобильных дорог [1]. Устройство состоит из разделительных полос 1, полукольца
2, гибких тросов 3, V-образных выступов разделительных полос 4, порис-

Рис.1.
Предохранительное устройство для автомобильных дорог:
1- разделительные полосы; 2- полукольцо; 3 –
гибкие тросы; 4 – V-образные выступы разделительных полос; 5-
пористый материал; 6- эластичный материал.
того
5 и эластичного 6 материалов. Разделительные полосы и полукольцо изготовлены из
бетона и скреплены друг с другом с помощью гибких тросов 3, а в их стыках
уложен эластичный материал 6, смягчающий при ударе силой Р и предотвращающий
высыпание пористого материала или песка 5 из пространства, образованного ими. В
случае наезда транспортного средства на разделительный барьер с торцевой
стороны полукольцо, свободно уложенное на дорожное полотно, и эластичный
материал, изготовленный, например, из резины, позволяют поглотить силу удара за
счет взаимного перемещения относительно друг друга. Это будет способствовать
предотвращению устройства от разрушения и меньшему повреждению транспортного
средства.
Предлагаемое устройство по сравнению с
известными аналогами проще в конструктивном исполнении (содержит меньшее
количество деталей) и требует меньше
материально-трудовых затрат на изготовление.
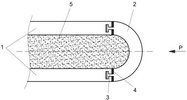
На рисунке 2 изображен чертеж
ограждения автомобильных дорог[2].Устройство состоит из разделительных полос 1, полукольца 2,
гибких тросов 3, П-образных выступов 4,
пористого 5 и эластичного 6 материалов.

Рис.2.
Ограждение автомобильных дорог:
1-разделительные
полосы; 2-полукольцо; 3-гибкие тросы; 4-выступы разделительных полос;
5-пористый материал; 6-эластичный материал.
Разделительные полосы и полукольцо также
изготовлены из бетона, при этом в стыках разделительных полос и полукольца выполнены соответственно П-образные выступы и П-образные углубления.
При монтаже на выступы разделительных полос одевается полукольцо, эластичный
материал уложен в стыках разделительных полос и полукольца, при этом разделительные
полосы и полукольцо связанны друг с
другом при помощи эластичных тросов.
Ограждение автомобильных дорог,
представленное на рисунке 3 [3], состоит из разделительных полос 1,
полукольца 2, L-образных выступов 3, эластичного
4 и пористого 5 материалов.
Разделительные полосы и полукольцо изготовлены из бетона, соединены между собой
с помощью L-образного выступа и L-образного
углубления.

Рис.3. Ограждение автомобильных дорог:
1-разделительные
полосы; 2-полукольцо; 3-выступ полукольца; 4-эластичный материал; 5-пористый
материал.
При
монтаже полукольцо своими выступами опускается в пазы. По сравнению с предыдущими устройствами данная
конструкция проще: в ней отсутствуют гибкие тросы.
Разделительный барьер для автомобильных
дорог [4], представленный на рисунке 4, отличается также
простотой конструкции. Он состоит из
разделительных полос 1, полукольца 2, Т-образных выступов 3, эластичного 4 и
пористого 5 материалов. Разделительные полосы и полукольцо изготовлены

Рис.4.Ограждение автомобильных дорог:
-1-разделительные
полосы; 2-полукольцо; 3- Т-образные выступы; 4-эластичный материал; 5-пористый
материал.
из
бетона, соединены между собой с помощью Т-образного выступа и Т-образного углубления.
При монтаже полукольцо своими выступами опускается в пазы, выполненные в виде
ласточкина хвоста.
Все разработанные авторами и приведенные
в статье технические решения не только надежны в эксплуатации, обеспечивают
безопасные условия на автомобильных дорогах, но и не требуют больших
материально-трудовых затрат и постоянного ухода. Устройства также не наносят
вреда окружающей природной среде.
Источники:
1.Патент
на полезную модель РФ № 134544,
МПК E01 F 15/00.Предохранительное устройство для автомобильных
дорог/Царикаева М.С., Царикаев В.К., Сабеев К.Г. и др.-Опубл. 20.11.2013, Бюл. № 32.
2.Патент
на полезную модель РФ № 134545,
МПК E01 F 15/00.Ограждение автомобильных дорог/Царикаева М.С., Царикаев
В.К.,Сабеев К.Г. и др.-Опубл. 20.11.2013,
Бюл. № 32.
3.Патент
на полезную модель РФ № 135658,
МПК E01 F 15/00.Ограждение автомобильных дорог/Царикаева М.С., Царикаев
В.К., Сабеев К.Г. и др.-Опубл. 20.12.2013,
Бюл. № 35.
4.Патент
на полезную модель РФ № 133843, МПК E01 F 15/00.Ограждение автомобильных дорог/Царикаева М.С., Царикаев
В.К., Кортиев Л.И. и др.-Опубл. 27.10.2013,
Бюл. № 30.