Шовкун
О.П.
Тернопільський національний технічний
університет імені І. Пулюя, Україна
Пневматичний привід резонансної вібраційної машини з
фазовою автоматичною підстройкою частоти збуджуючої сили.
В залежностi вiд
будови коливальної системи, вiбрацiйнi машини бувають резонансними або
нерезонансними.
Для резонансних машин характерним є мала
потужнiсть приводу та високi економiчнi характеристики, що зумовило їх значну
перевагу над нерезонансними.
До їх недоліків слiд вiднести жорсткi вимоги
стосовно приводiв, а саме - стабiльностi частоти збуджуючої сили. Крiм того,
сама коливальна система резонансних вiбромашин має властивiсть змiнювати свої
параметри пiд час роботи.
Наприклад, вібраційні бункерні
живильники, транспортуючі деталі, що
були в них завантажені зменшують свою масу під час роботи, що змінює резонансну
частоту і потребує втручання оператора
в процес керування вiбромашиною.
Виходом є застосування вiбрацiйних приводiв з
автоматичною підстройкою частоти збуджуючих коливань в залежностi вiд частоти
резонансу коливальної системи вiбромашини.
Вiдомi приводи з автоматичною пiдстройкою
частоти збуджуючих коливань, що застосовують позитивний зворотнiй зв’язок мiж
приводом i робочим органом вiбрацiйної машини [1,2]. Такi приводи пiдтримують
резонансний режим роботи незалежно вiд змiни власної частоти коливань вiбромашини,
але їм характернi суттєвi недолiки:
- нестабiльна робота у випадку значного коефiцiєнту
затухань коливальної системи;
- малий частотний діапазон;
- ускладнений
запуск, який, практично, здiйснюється шляхом механiчної дiї на робочий орган вiбромашини.
Для усунення вказаних недолiкив був розроблений
пневматичний вiбрацiйний привід з фазовою автопiдстройкою частоти збуджуючих
коливань, призначений для вiбромашин резонансної дiї [3].
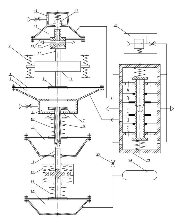
Функцiональна
схема приводу представлена на рис.1.
Привiд
складається з коливальної маси 1 встановленої на пружнiй системi
2 з можливiстю здiйснення коливань,
пневматичного збуджувача коливань, що мiстить робочу
мембранну камеру 3 в якiй розмiщена
мембрана 4 з жорстким центром 5 шток якого з'єднаний з коливальною масою 1, та
клапанну камеру 6, яка має клапан 7, що дає можливiсть з'єднувати камеру 3 з
атмосферою.

Рис. 1
Клапан 7 за допомогою пiдпружиненого штока 8
з'єднаний з мембраною управляючої камери 9 яка сполучена з робочою камерою 3
цилiндричним каналом 10 який виконано всерединi штока 8. Цей канал
вiдкривається в управляючу камеру сiдловиною, яка спряжена з конiчною поверхнею
штифта 11, встановленого в управляючiй камерi 9 спiвосно з каналом 10. Канал 10
з сiдловиною, та конiчна поверхня штифта 11 утворюють регульований перепускний
дросель.
Штифт 11 з'єднаний з
поршнем демпфера 12 та жорстким центром мембранної камери 13 i пiдпружинений
пружиною стиску 14. Коливальна маса 1 з'єднана з штоком 15 пневматичного давача
амплiтуди 16, що складається з корпуса, роздiленого перегородкою з сiдловиною,
закритою пiдпружиненим клапаном 17, який вiдокремлює пiдмембранну порожнину 18
вiд магiстралi стиснутого повiтря, мембрани 19, жорсткий центр якої з'єднаний з
штоком, в якому виконано осьовий отвiр 20, сполучений з атмосферою, при чому,
один торець штока має контакт з коливальною масою 1, а iнший - розташований в
пiдмембраннiй порожнинi 18 давача амплiтуди 16, на вiдстанi вiд клапана 17,
меншiй нiж половина амплiтуди коливання коливальної маси 1 вiбромашини.
Пiдмембранна порожнина 18 давача амплiтуди 16 та робоча камера 3 з'єднанi з
фазовим компаратором 21 який реалiзований на чотирьохмембранному пневматичному
елементi « виключне АБО» що має п'ять порожнин: A,B,C,D та E, обмеженi
мембранами якi мають спiльний рухомий мембранний блок. Порожнини A та E
пiд'єднанi до джерела стиснутого повiтря 22 постiйного тиску обмеженої
продуктивностi, а при змiщеннi мембранного блока вiдносно центра рiвноваги -
мають можливiсть сполучення з атмосферою через порожнину C. Камери В та D
пiд'єднанi вiдповiдно до робочої камери 3 та пiдмембранної камери 18 давача
амплiтуди 16 i мають такi мембраннi центри, що подача в кожну з них стиснутого
повiтря призводить до змiщення мембранного блока вiдносно положення рiвноваги.
Порожнини A та E з'єднанi з мембранною
камерою 13 магiстраллю, в яку вмонтованi дросель 23 та ресивер 24. Пневматичний
логiчний елемент фазового компаратора 21 функцiонує за таким алгоритмом:
__________________
|
тиск в камерi B |
0 |
1 |
0 |
1 |
|
тиск в камерi D |
0 |
0 |
1 |
1 |
|
тиск в камерах A та E |
1 |
0 |
0 |
1 |
Пневматичний привiд резонансної вiбрацiйної машини працює
таким чином. В початковий момент часу давач амплiтуди 16 пiд'єднаний до
магiстралi стиснутого повiтря, його клапан 17 закритий, камера 18 з'єднана з
атмосферою; в камерi 3 тиск повiтря - атмосферний; рухомий мембранний блок
фазового компаратора 21 знаходиться в положеннi рiвноваги; тиск в його камерах
A та E, а також в ресиверi 24 та в мембраннiй камерi 13 дорiвнює тиску на
виходi джерела постiйного тиску обмеженої продуктивностi 22; пружина 14 -
стиснута; конiчний штифт 11 знаходиться в крайньому верхньому (згiдно рисунка)
положеннi, що вiдповiдає максимальному пневматичному опору перепускного
дроселя. При подачi стиснутого повiтря в клапанну камеру 6, тиск в робочiй
камерi 3 зростає, її мембрана деформується i змiщує коливальну масу 1 вiдносно
положення рiвноваги. Стиснуте повiтря через канал 10 та перепускний дросель, що
утворений конiчною сiдловиною канала 10 та конiчною поверхнею штифта 11,
попадає в управляючу камеру 9, створює тиск на її мембрану i вiдкриває клапан
7, що призводить до спаду тиску в робочiй камерi 3 та управляючiй камерi 9.
Тиск в камерi 9 падає повiльнiше, тому, що повiтря з неї виходить через
дросель. Коли сила тиску на мембрану управляючої камери зрiвняється з силою
стисненої пружини, якою пiдпружинений клапан 7; останнiй - закривається i цикл повторюється.
Частота автоколивань залежить
вiд величини пневмоопору перепускного дроселя i вибрана такою, щоб при його
максимальному значеннi знаходилась нижче резонансної частоти вiбромашини. В тi
моменти часу, коли тиск в робочiй камерi 3 великий, рiвень тиску в порожнинi D
фазового компаратора 21 дорiвнюе рiвню логiчної одиницi, що викликає змiщення
його мембранного блока вiдносно положення рiвноваги та сполучення порожнин E та
A з атмосферою. Це викликає зменшення тиску в ресиверi 24 i в мембраннiй камерi
13. При зменшеннi тиску в камерi 13 штифт 11 змiщується, зазор мiж його
конiчною повернею i сiдловиною штока 8 збiльшується, пневмоопiр перепускного
дроселя зменшується, частота автоколивань вiбропривода зростає i наближається
до частоти власних коливань механiчної коливальної системи вiбромашини.
При наближеннi частоти автоколивань до частоти резонансу, амлiтуда
коливань робочого органу вiбромашини набуває певного значення, що призводить до
перiодичного вiдкриття клапана 17 давача аплiтуди 16, що в свою чергу викликає
перiодичну змiну тиску в порожнинi B фазового компаратора 21 вiд рiвня
логiчного нуля до рiвня логiчной одиницi.
Величина тиску повiтря на виходi компаратора
( порожнини A та E ) залежить вiд зсуву фаз iмпульсiв що подаються на його сигнальнi входи (порожнини B та D), тобто вiд зсуву фази мiж коливанням тиску повiтря в робочiй камерi 3 i рухом коливальної маси 1 вiбромашини, i може приймати значення вiд майже атмосферного тиску, до тиску повiтря на виходi джерела 22. Таким
чином, тиск в мембраннiй
камерi 13, i як наслiдок, положення штифта 11 та частота роботи
привода, змiнюється до тих пiр, поки зсув фаз коливань робочої маси 1
та змiни тиску в робочiй камерi 3 не досягне певного стабiльного значення, що можливе тiльки при резонансному режимi роботи вiбромашини.
Дросель 23 та ресивер 24 утворюють фiльтр, який зменшує пульсацiї тиску в мембраннiй камерi 13, а наявнiсть демпфера
12 збiльшує постiйну часу регулювання, що покращує перехiднi характеристики системи.
Литература:
1. А.С. СССР № 776961 М.кл. B 65 G 27/24
2. А.С. СССР № 749450 М.кл. B 06 B 1/18
3. Патент України № 31217 МПК: B 65 G 27/10