технические науки/ 2. транспорт.
Прокопенко В.С.,
студент 5-го курса Шубин В.В.,
Белгородский государственный технологический
университет им. В.Г. Шухова, Россия
Модернизация трамбующего бруса
асфальтоукладчика
Асфальтоукладчики предназначены для сооружения
основании и покрытии из битумоминеральных и асфальтобетонных смесей при
строительстве и ремонте магистральных и городских автомобильных дорог,
тротуаров, площадей и аэродромов.
Рабочее
оборудование асфальтоукладчика включает в себя отражательный и торцовые щиты,
трамбующий брус и выглаживающую плиту.
Трамбующий
брус предназначен для предварительного уплотнения покрытия и его профилирования
с помощью нижней кромки. Стандартная конструкция трамбующего бруса (рис.1)
имеет недостаточно высокую производительность и не обеспечивает хорошее
качество покрытия из-за приложения преимущественно вертикальных нагрузок.

Рис.
1 – Трамбующий брус
1-трамбующий
брус; 2-привод.
Задачей
изобретения РФ 2078869 является повышение эффективности уплотнения и качества
укладываемого покрытия за счёт модернизированного трамбующего бруса (рис.2),
выполненного в виде двухсекционной плиты, задняя секция которой выполнена в
виде части цилиндра по его длине, при этом плита связана шарнирно с рамой
асфальтоукладчика и с генератором колебаний.

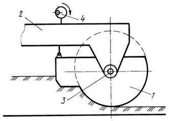
Рис.
2 – Модернизированный
трамбующий брус
1-двухсекционная
плита; 2-рама асфальтоукладчика; 3-шарнир;
4-генератор
колебаний.
Генератор
колебаний сообщает передней секции рабочего органа вертикальное перемещение. В
результате передняя секция уплотняет слой асфальбетонной смеси в режиме
вибротрамбования, аналогично традиционному трамбующему брусу. В то же время
вертикальное перемещение передней секции создает крутящий момент задней секции,
под действием которого плотность смеси достигает требуемых значений, а
сформированная под воздействием знакопеременной осцилляции структура
обеспечивает высокую прочность и сдвигоустойчивость покрытия при коэффициенте уплотнения
0,94...0,96.
Для
подтверждения вышеперечисленных преимуществ было проведено ряд исследований, результаты
которых показали, что предлагаемый трамбующий брус обеспечивает повышение
степени уплотнения слоя смеси, что позволяет снизить энергозатраты при
последующей укатке покрытия (рис.3).

Рис.
3 – Результаты
исследований
Таким
образом, данный трамбующий брус обеспечивает повышенную производительность
асфальтоукладчика и качество покрытия, а также экономию энергозатрат и времени.
Литература:
1.
Н. Я. Хархута и др.
Дорожные машины. Теория, конструкция и расчёт. Учебник для вузов. Изд 2-е, доп.
и переработ. Л., «Машиностроение» (Ленингр. Отд-ние),
1976.
2.
Васильев A.A. Дорожные машины: Учебник для автомобильно-
дорожных техникумов. 3-е изд., перераб. и доп. - М.: Машиностроение, 1987. -416
е., ил.
3. Пат. 2078869 Российская Федерация E01C19/48 . Уплотняющий рабочий орган асфальтоукладчика / Шестопалов А.А., Деникин
Э.И., Иванченко С.Н., Сидорков В.В.; Заявитель и патентообладатель Шестопалов
А.А., Деникин Э.И., Иванченко С.Н., Сидорков В.В. - № 9595111660, заявл. 1995.07.06; Опуб. 20.04.2002.
4. Агарков А.М., Шарапов Р.Р., Прокопенко В.С.
Анализ гидравлического сопротивления концентратора // Вестник Белгородского
государственного технологического университета им. В.Г. Шухова. 2016. № 3. С.
87-90.
5. Мелихов С.В., Прокопенко В.С. Анализ методики
определения эффективности разделения //В сборнике: Инновационные материалы,
технологии и оборудование для строительства современных транспортных сооружений
Белгородский государственный технологический университет им. В.Г. Шухова. 2013.
С. 143-147.
6. Sharapov R.R.,
Prokopenko V.S. MODELING OF THE SEPARATION PROCESS IN DYNAMIC SEPARATORS //
World Applied Sciences Journal. 2013. Т. 25. №
3. С. 536-542.
7. Агарков А.М., Шарапов Р.Р., Прокопенко В.С.
Анализ гидравлического сопротивления концентратора // Вестник Белгородского
государственного технологического университета им. В.Г. Шухова. 2016. № 3. С.
87-90.