БИОЛОгические науки 9.Биохимия и
биофизика
Аспирант
А.Е. Стефанкин
Кемеровский
технологический институт пищевой промышленности «университет», г. Кемерово,
Российская Федерация
Сушка
крови
Высушивание крови и кровепродуктов обеспечивает их длительное сохранение
в условиях нерегулируемой температуры и существенно облегчает их
транспортирование.
Наибольшее распространение получила распылительная сушка крови. Этот
процесс складывается из трех последовательно протекающих этапов: распыление
жидкости тонким слоем, сушка его в токе нагретого воздуха и отделение частиц
высушенного материала от воздуха. Высокая дисперсность материала, достигаемая
распылением (средний диаметр частиц 50—100 мкм), резко увеличивает площадь
контакта материала с теплоносителем. Высокая скорость сушки распылением
позволяет организовать непрерывный процесс, полностью механизировать и
автоматизировать работу сушильных установок.
При распылительной сушке материал не нагревается до температуры
нагревающей среды вплоть до обезвоживания, поэтому химически свободная влага
удаляется ранее, чем успевает нагреться до температуры, при которой белки
денатурируют. Одновременно резко снижается температура воздуха вблизи
обезвоженной частицы, благодаря чему белки, витамины и другие термолабильные
вещества сохраняют почти в полной мере нативные свойства при относительно
высокой температуре сушки (130—180 °С). Готовый продукт характеризуется
высоким содержанием растворимых белков (более 85 %) при относительно высоком
выходе.
К недостаткам распылительной сушки при сравнительно невысокой
температуре теплоносителя (150 "С и ниже) следует отнести довольно высокий
расход пара (2,5—3,0 кг на 1 кг испаренной влаги) вследствие малого
влагонасыщения отработавшего воздуха (конечная относительная влажность около 20
%) и низкого коэффициента использования объема сушильной камеры.
С целью повышения экономичности распылительной сушки раствор
предварительно концентрируют (упаривают и т. д.) и повторно используют теплоту
обработавшего воздуха.
Распыление осуществляют с помощью форсунок или центробежных дисков.
Форсунки могут быть пневматическими и гидравлическими. Пневматические
распылительные устройства действуют по принципу инжектора, распыление жидкости
в них достигается при выходе струи сжатого воздуха под давлением 105 Па. Кровь и ее компоненты поступают в форсунки
самотеком. При небольшой производительности форсунки требуют сравнительно
больших энергозатрат и сложны в обслуживании. Обрабатываемый материал распыляется
в сушильной камере, смешивается с нагретым воздухом и обезвоживается. Основная
масса высушенного продукта в виде пыли опускается на дно камеры и оттуда
непрерывно отводится разгрузочным устройством. Отработавший воздух с уносимой
им частью высушенного продукта удаляется из камеры через пылеуловительное
устройство и выбрасывается в атмосферу [2].
Сушка крови и кровепродуктов осуществляется на поверхности гранул
высушиваемого продукта, приведенных в псевдоожиженное состояние потоком
воздуха. В результате многократного нанесения на поверхность гранул жидкого
продукта и сушки гранулы увеличиваются до требуемого размера, охлаждаются в
зоне охлаждения и по пневмотранспорту непрерывно отводятся в бункер-накопитель,
а оттуда — на размол и упаковку. Воздух очищают от пыли в рулонном фильтре и
нагревают в паровых калориферах. Отработавший воздух очищают в циклонах и
отводят в атмосферу, а уловленный высушенный продукт по системе
пневмотранспорта направляют в бункер-накопитель и на упаковку.
Сублимация может сильно повлиять на
стоимость готового продукта, поэтому необходим аналитический обзор способов
сублимации и ее аппаратурного оформления.
В настоящее время для осуществления
сублимации используют вакуум-сублимационные сушилки, создающие разряжение по
давлению в сушильной камере ниже значения давления тройной точки воды (610,8
Па) [1]. Аппаратурное оформление таких устройств имеет некоторое разнообразие.
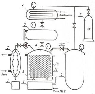
«Привлекательным» устройством для сушки
высокобелковых веществ, в том числе крови может выступать вакуум – сублимационная сушилка для вспененных продуктов,
представленная на рис. 1 [3].
Сушилка состоит из корпуса 8 с патрубком
10 для отвода воздуха и неконденсирующихся газов, десублиматора 11, устройства
9, состоящего из двух коаксиальных патрубков для подвода продукта и инертного
газа. Конструкция и форма поверхности десублиматора 11 при это выбрана на
основе анализа образования слоя сублимата на сферической поверхности
традиционныхдесублиматоров при действии точечного источника. Внутри корпуса 8
расположен параллельно образующей и с возможностью вращения относительно
вертикальной оси сушилки носитель 6 в виде коаксиальных труб, при этом внешняя
труба изготовлена из пористого материала, на которой размещена решетка, в узлах
которой закреплены ворсинки. Эти ворсинки являются каркасом для пены и в тоже
время облегчают проникновение инертного газа внутрь пены. Это происходит
потому, что ворсинки служат проводником теплоты для сублимации молекул пены,
соприкасающихся с ними, после чего образуется кольцевой канал вокруг ворсинки,
через который газообразные молекулы воды перемещаются в следующий пузырек пены.
При этом ворсинки имеют различную длину, что позволяет обеспечить подвод
энергии ко всем слоям пены. Труба приводится во вращение от привода, состоящего
из волнового мотор. Внизу труба соединена с патрубками подвода продукта и газа
посредством армированного упругого трубопровода 4. Пеногенератором является сам
носитель 7 и распределители 6, размещенные по длине трубы. Носитель может быть
изготовлен из металлокерамики, что позволяет ему, с одной стороны, обеспечить
прочность конструкции, а с другой, беспрепятственно пропускать через свои поры
инертный газ, который вспенивает и затем сушит продукт.

Рисунок 1. Установка сублимационной сушки
растительного сырья с использованием сжиженного инертного газа
Данная технология сублимации включает
пропитку сырья сжиженным газом при давлении выше атмосферного. Мгновенный сброс
давления, сопровождающийся вскипанием сжиженного газа и охлаждением материала
до температуры ниже температуры тройной точки воды. Затем снижают общего
давление до величины ниже тройной точки с последующей сушкой материала при
непрерывном удалении образующейся влаги. В качестве сжиженного газа используют
жидкий аргон, пропитку сырья и удаление влаги осуществляют в электромагнитном
поле с частотой 18÷55 Гц, при этом удаление пара производят при
температуре (-80)÷(-100) 0С.
Применение
сублимации в технологии получения пенообразователя для кислородного коктейля
является неотъемлемой и важной технологической операцией. Наличие весьма
разнообразного аппаратурного оформления технологии сублимации требует
тщательного анализа имеющихся вариантов сушки и устройств для их осуществления.
Подбор необходимых параметров сушки позволит получить качественный готовый
продукт, способный долго храниться и обладающий хорошими технологическими
показателями.
Литература
1. Файвышевский, М.Л. Нетрадиционные технологии переработки и использования
пищевой крови убойных животных // Все о мясе.-2006-№1.-С.14-17.
2. Изгарышев, А.В.
Новые технологии противоанимических продуктов из крови убойных животных / А.В. Изгарышев //
Мясная индустрия. – 2011. − №2. – С. 18-20.
3. Судаков Н.С.
Переработка и использование крови убойных животных.
– М.: Агропромиздат, 2006. – 80
с.