Сельское хозяйство/2.Механизация сельского хозяйства
К.т.н. Чуянов Д.Ш., д.т.н.,
проф. Маматов Ф. М.
Каршинский инженерно-экономический институт, Узбекистан
Почвозащитный энерго-ресурсосберегающий
комбинированный агрегат для подготовки почвы к посеву бахчевых культур
Основной
задачей сельского хозяйства Узбекистана является полное удовлетворение
населения нашей страны всеми видами продуктов питания и, в частности, бахчевыми культурами. Несмотря
на увеличивающиеся урожаи бахчевых, потребности населения еще полностью не
удовлетворяются. Так как Узбекистан является основным поставщиком бахчевых в
Российскую Федерацию и другие ближние зарубежные страны. Основными факторами,
сдерживающими дальнейшее развитие бахчеводства, являются большая трудоемкость и
крайне малая механизация процессов возделывания бахчевых культур по сравнению с
другими отраслями сельскохозяйственного производства. При этом основной проблемой является качественная подготовка почвы и посев бахчевых культур в оптимальные
агротехнические сроки, особенно при посеве бахчевых под зерновые.
Важнейшим
звеном в системе мероприятий по обеспечению высокой культуры земледелия и
получению высоких урожаев бахчевых культур является обработка почвы. Успехи в
возделывании бахчевых культур во многом зависят от сроков и качества обработки
почвы, а последняя, в свою очередь, - от способов ее проведения и совершенства
конструкции машин.
Подготовка
почвы для возделываемых бахчевых культур проводится главным образом ступенчато,
т.е. однооперационными машинами за несколько проходов, что агрономически ничем не оправдано. Многократные
проезды техники по обрабатываемому полю приводят к увеличению нежелательного
уплотнения почвы колесами тракторов и машин, что влечет за собой снижение
урожайности бахчевых культур. Такая
обработка не является почвозащитной и не соответствует современным требованиям.
Необходимо внедрять новые, более прогрессивные технологии и средства
механизации для обработки почвы.
Существующая традиционная технология и
технических средств не позволяет подготовить почву к посеву бахчевых культур в
оптимальные агротехнические сроки, в результате чего получается низкий урожай.
Поэтому для решения этой проблемы предлагается совершенно новая
технология для обработки почвы и посева бахчевых культур. Предлагаемая технология
[1] предусматривает совмещение следующих
технологических операций: отвальную обработку зоны посева и формирования
поливных борозд, безотвальное - поверхностное
(мелкое) рыхление почвы поля с правой и левой стороны зоны отвальной
обработки оборачиваемых пластов, полосное подпахотное рыхление по линии высева
семян, локальное внесение удобрений, подготовку почвы к посеву по линии посева
и нарезание поливной борозды. Для осуществления данной технологии был
разработан комбинированный агрегат [2].
На основе проведенных обширных теоретических и
экспериментальных исследований был разработан и изготовлен комбинированный агрегат
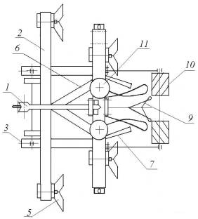
(рис.1), осуществляющий новую технологию. Агрегат содержит лево- и
правооборачивающие винтовые корпуса 6 с винтовыми заплужниками 7, установленные по оси симметрии, боковые рыхлители 5, закрепленные на стойке корпусов
почвоуглубители 8, туковысевающий аппарат 11 с удобрителями, бороздоделатель 9
и рыхлительно-выравнивающий каток 10.
Каток 10 прикреплен к раме упруго-шарнирный.
Комбинированный
агрегат работает следующим образом. Вначале право- и левообарачивающим корпусами 6
и заплужниками 7 (рисунок 1) предварительно формируются поливная борозда
путем оборота пластов друг от друга, а правую и левую сторону поля мелко
поверхностно разрыхляют рыхлителями 5. Рыхлители выполнены в виде плоскорезов.
Глубина рыхления должна быть достаточна для полного уничтожения сорных
растительностей. Ширина отвальной обработки почвы 1.0 – 1.1 м. Такая ширина
позволяет подготовить почву междурядья для посева семян бахчевых с междурядьем
70 – 90 см. Одновременно с оборотом
пластов осуществляют полосное подпахотное рыхление почвоуглубителями 8 и
локальное внесение удобрений. Затем рыхлительно-опорным катком 10 разрыхляя и
уплотняя почву междурядья подготавливаются к посеву. При необходимости
окончательно формируется поливная борозда
бороздоделателем 9. Расстояние
между поливными бороздами смежного прохода агрегата составляет 3.4 – 3.6 м. На
комбинированном агрегате были установлены право – и левооборачивающие винтовые
корпуса 6 с шириной захвата 52,5 см.

а)
б)
Рис.1. Конструктивная схема комбинированного агрегата для подготовки
почвы к посеву бахчевых: а – вид сбоку; б – вид сверху; 1 – навесное устройство; 2 – рама; 3 – опорное
колесо; 4 – дисковый нож; 5 – рыхлитель; 6 – корпус; , 7 –
заплужник; 8 – почвоуглубитель; 9 – бороздоделатель; 10 – выравнивающий
каток; 11 – туковысевающий аппарат
Совмещение
отвальной и безотвальной обработки почвы, а также полосное подпахотное рыхление почвы способствует значительному
снижению энергозатрат и сбережению почвенных влаг, препятствует
возникновению водной и ветровой эрозии. Локальное внесение удобрения одновременно с полосным подпахотным
рыхлением повышает эффективность использования минеральных удобрений и
урожайность. Все это способствует
сокращению количества проходов
трактора, снижению общей энергоёмкости подготовки почвы к посеву и повышению
производительности труда.
Испытание экспериментального
образца комбинированного агрегата были проведены в Кашкадарьинской области
Узбекистана на полях из-под озимой пшеницы. При испытаниях комбинированный
агрегат осуществлял надежный технологический процесс подготовки почвы к посеву
бахчевых. Он удовлетворяет агротехническим требованиям по основным показателям
качества: глубина обработки зоны посева 31,4 см, глубина поливных борозд 22,4
см, степень крошения почвы 81,4%.
Проведенные испытания и технико-эконимические расчеты экспериментального образца комбинированного
агрегата показали, что применение агрегата позволяет сократить затраты труда на 39,2 %, расход топлива на 46,2 % и
эксплуатационные затраты на 45,3 % по сравнению с существующими машинами.
Литература:
1. Маматов Ф.М., Чуянов Д.Ш. и др. Cпособ обработки почвы и
посева //
Патент РУз № IAP 04004. – Ташкент, Официальный
бюллетень. – 2009. – №9.
2. Маматов Ф. М., Чуянов Д.Ш. и др.
Комбинированное
орудие для обработки почвы и посева //
Патент РУз №
IAP 03618. – Ташкент,
Официальный бюллетень. – 2008.
- №4.