Мельник В.М.
Національний технічний університет України «КПІ»
ДВОРІВНЕВИЙ ПОРШЕНЬ ДЛЯ
ТЕПЛОМАСООБМІНУ
Конструкція належить до біотехнології,
а саме до апаратів для культивування клітин, і може бути використаний у фармацевтичній
і мікробіологічній промисловостях, а також для потреб клінічних досліджень в
медицині при культивуванні клітин або тканин.
Відома установка для
культивування мікроорганізмів, яка містить з’єднані між собою в нижній частині
еластичним трубопроводом дві камери, що обладнані пристроями для стерильного
зливу і доливу, пристрої для аерації і стерилізації повітря, а також
реверсивний привод для зворотно-поступального руху камер у вертикальній площині
[1].
Відомий також апарат для
культивування клітин, який містить циліндричний корпус з технологічними
патрубками, розміщений уздовж осі корпуса пустотілий приводний вал з рухомою
втулкою для забезпечення зворотно-поступального руху уздовж вала, до якої
приєднаний перемішуючий елемент у формі чотирьохланцюгового шарнірного
механізму з лопатками на кінцях, аератор і реверсивний привод [2].
У корпус, через патрубок,
заливається поживне середовище і подається посівний матеріал. В аератор надходить
газ для аерації культурального середовища. Включається привод з мішалкою, який
працює в імпульсному режимі, і приводить в обертальний рух вал і, разом з ним, втулки і лопатки. На лопатки
діють відцентрові сили і сили тяжіння, внаслідок чого лопатки повертаються на
шарнірах до горизонтального положення, створюючи радіально-осьові циркуляційні
потоки культурального середовища і породжену ними високу інтенсивність
тепломасообміну.
Недолік цього технічного рішення
полягає у низькій продуктивності технологічного процесу, обумовлений тим, що
зменшення обертів вала знижує інтенсивність перемішування і, відповідно, знижує
якість тепломасообміну. Крім того, не забезпечується потрібне збагачення киснем
культуральної рідини по всьому робочому об’єму, що уповільнює розвиток клітин,
а, отже, знижує продуктивність. Навпаки, при збільшенні обертів валу,
перемішуючий елемент руйнує слабкі оболонки клітин і також знижує
продуктивність технологічного процесу.
На недостатньо високу
продуктивність апарату чинить свій вплив наявність зон низької енерегетичної
активності периферійних і придонних шарів культуральної рідини.
Відомий апарат, до того ж, має надмірно
складну конструкцію, що є іншою його вадою.
В основу пропонуємої конструкції
поставлена задача росту продуктивності технологічного процесу шляхом підвищення інтенсивності перемішування культуральної
рідини за допомогою модифікації форми і характера руху перемішуючого елемента і
відтворення, завдяки цьому, енергетичної активності культуральної рідини по
всьому робочому об’єму апарата без надмірного ризику пошкодження клітин. Одночасно,
спрощується конструкція апарату.
Поставлена задача вирішується
тим, що усуває недоліки відомого рішення і пропонує нове ефективне рішення з
новим технічним результатом.
Пропонуєма конструкція для
культивування клітин з дворівневим поршневим перемішувачем містить циліндричний
корпус з технологічними патрубками, розміщений уздовж осі корпуса пустотілий
приводний вал з рухомою втулкою для забезпечення зворотно-поступального руху
уздовж вала, до якої приєднаний перемішуючий елемент у вигляді дворівневого
поршня у складі двох соосних однакового радіуса дисків, з’єднаних між собою
через рівні кути за допомогою радіально розташованих, заданого типорозміру,
прямокутних пластин, які поділяють міждисковий проміжок на сукупність однакових
центральних секторів, верхній суцільний диск дворівневого поршня приєднаний до
рухомої втулки і убезпечений від обертання паралельною до осі пустотілого
приводного валу напрямною, нижній диск має центральний отвір для вільного
перетікання культуральної рідини з нижніх шарів апарату до секторів
міждискового проміжку.
Аналіз причинно-наслідкових
зв’язків дає підстави дійти висновку, що наведені ознаки апарату для
культивування клітин з поршневим перемішувачем належать до суттєвих, бо
забезпечують досягнення нового технічного результату, вигідно відрізняючи його
від відомих аналогів.
Технічний результат від
використання заявленого апарату для культивування клітин з дворівневим поршневим
перемішувачем забезпечується обладнанням апарату перемішуючим елементом у
вигляді дворівневого поршня у складі двох соосних однакового радіуса дисків,
з’єднаних між собою через рівні кути за допомогою радіально розташованих,
заданого типорозміру, прямокутних пластин, які поділяють міждисковий проміжок
на сукупність однакових центральних горизонтальних секторів, верхній суцільний
диск дворівневого поршня приєднаний до рухомої втулки і убезпечений від
обертання паралельною до осі пустотілого приводного валу напрямною, нижній диск
має центральний отвір для вільного перетікання культуральної рідини з нижніх
шарів апарату до секторів міждискового проміжку.
Рухаючися донизу, поверхня
нижнього диску поршня надає поступального руху робочій рідині у бік днища
апарату і видавлює придонні шари через боковий зазор “
” угору, в бік кришки апарату, в той же час, через центральний
отвір нижнього диска придонні шари робочої рідини линуть угору, надходять у
міждисковий проміжок, а з нього, вже в горизонтальній площині центральних
секторів, рухаються до бічної поверхні корпуса апарату, турбулізуючи
периферійні , застійні, шари культуральної рідини фіг. 1, фіг. 2).
Таким чином, зустрічні потоки культуральної
рідини у придонних шарах і у стінок апарату формують зони активної енергетики,
що слугує якісній і глобальній турбулізації по всьому об’єму апарату, швидкій
ліквідації застійних зон, збагаченню киснем мікроорганізмів і, як наслідок,
швидкому їх росту. Рух поршня угору створює аналогічну енергетику
технологічного процесу.
Сукупність наведених ознак апарату
для культивування клітин з дворівневим поршневим перемішувачем забезпечує
досягнення нового технічного результату.
Робота пропонуємого апарату для
культивування клітин з дворівневим поршневим перемішувачем здійснюється
наступним чином.
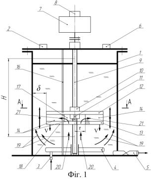
У заздалегідь простерилізований
апарат, до корпуса 1 уводять через патрубок 2 живильну рідину і посівний
матеріал (інокулят), після чого, через патрубок 3 подають до аератора 4 газ для
аерації культуральної рідини і вмикають командно-реверсуючий пристрій 8, за
сигналом якого приходить в дію мотор-редуктор 7 і пустотілий приводний вал 9,
який в межах заданого командно-реверсуючим пристроєм 8 ходу “Н” надає
зворотно-поступального переміщення рухомій втулці 10 і, приєднаному до неї і
убезпеченого від обертання напрямною 16, перемішуючому елементу 11 у вигляді
дворівневого поршня у складі двох соосних, однакового радіуса “R”, дисків 12 і 13,
з’єднаних між собою через рівні кути за допомогою радіально розташованих,
заданого типорозміру, прямокутних пластин 14, які поділяють міждисковий
проміжок на сукупність однакових центральних горизонтальних секторів 15,
верхній суцільний диск 12 дворівневого поршня приєднаний до рухомої втулки 10 і
убезпечений від обертання паралельною до осі пустотілого приводного валу 9
напрямною 16, нижній диск 13 має центральний отвір радіуса “r” для вільного перетікання культуральної рідини з нижніх
шарів апарату до секторів 15 міждискового проміжку 17.
При поступальному рухові перемішуючого
елемента 11 донизу із швидкістю
, поверхня 18
нижнього диску 13 надає поступального руху у бік днища апарату частині культуральної
рідини, внаслідок чого вона видавлює придонні шари 19 через проміжок “
” угору, а інша частина 20 культуральної рідини, що
знаходиться під центральним отвором радіуса “r”, лине угору і надходить
у центральні горизонтальні сектори 15 міждискового проміжку 17, звідкіля по
горизонтальній поверхні диску рухається потоками 21 в бік корпусу 1,
турбулізуючи периферійні застійні шари культуральної рідини і перемішуючися з
висхідними потоками 19.
Таким чином, зустрічні потоки 19
і 21 будуть суттєво турбулізувати культуральну рідину периферійної зони,
підвищуючи її енергетичну активність. В свою чергу, потоки, які линуть із
швидкістю V до днища апарату під дією
поршня, також створять турбулентний стан культуральної рідини і піднімуть її
енерегетичну активність.
Все зазначене буде слугувати
якісному тепломасообміну, збагаченню киснем клітин і, відповідно, слугуватиме
їх росту, що підвищить продуктивність технологічного процесу.
Відсутність обертального руху
перемішуючого елемента сприятиме зменшенню надмірного ризику пошкодження
клітин, а проста форма перемішуючого елемента суттєво спрощує конструкцію в
цілому.
Таким чином, використання апарату
для культивування клітин з дворівневим поршневим перемішувачем за допомогою нових
властивостей збільшить якість та інтенсивність тепломасообміну і аерації
культуральної рідини, що буде слугувати швидкому розвитку клітин і росту
продуктивності технологічного процесу.
Джерела інформації:
1.
А.с. 1131899 А СССР, С12М1/00.
Установка для культивирования микроорганизмов [Текст]/ А.Н. Данилина, А.В.
Данилов, И.В. Александрова, А.А. Складнев, В.С. Ромазанов, И.А. Туков (СССР). -
№ 3226238/30-15; заявл. 25.12.80; опубл. 30.12.84, Бюл. №48. – 1 с.: ил.
2.
А.с. 1633814 А1 СССР, С12М3/00. Апарат для
культивирования клітин [Текст]/ А.И. Гуславский, В.Н. Качалов, Л.И. Ковальчук, И.И.
Дамиров (СССР). - № 4633148/13; заявл. 05.01.89; опубл. 27.08.95, Бюл. №24. – 1 с.: ил.

