Engineering
/ 9. Aviation and Astronautics
MN Mukhtarova, AK Danlybayeva, AK Sariyeva, AI Kenzhebekova
Al-Farabi
Kazakh National University, Almaty, Kazakhstan
Instruments used for the visual
determination of the parameters for color change
Abstract: The
paper presents the block diagrams of devices that provide quality control
helicopter engine oil, fuel level measurement level, the thrust of aircraft
engines, the temperature of the heated bodies, the level of the two media
Keywords:
color sensors, helicopters, light-emitting diodes, aircraft, temperature,
thrust aircraft engines, fuel gauge, level gauges, optical pyrometer, optical
fiber, the quality of oil, bearings, hardening products from iron.
The last 25 - 35
years are increasing the quantity of publications and inventions in the methods of
manufacture color sensor - semiconductor devices, the maximum sensitivity which
is visible to the human eye. These color sensors can be used in such cases where the operator must
visually by a color change to determine or measure certain parameters. For
instance, quality of the oil in the tank on helicopters, which contains the
main bearings of the screw is determined every 50 or 100 flight hours. Herewith technician takes the oil into the tube
from tank in which are located bearings,
through which the helicopter's screw
rotates , and compares it with a butter color reference oil stored in
the cockpit of the helicopter. The fact is that the misalignment of the
helicopter propeller and shaft of engine, occurs the oil clouding, which is a
signal to the fact that the helicopter must be put on the overhaul. In
principle, this is a very important parameter. For continuous determination of
the oil quality in helicopter engines, has been proposed, "A method for controlling
the quality of oil helicopter engines and device for its realization" [7],
in which the definition of the oil transparency occurs by using color sensor,
which are placed outside the engine, but receiving information about the oil
color through fiber, which are inside
the tank motor, which, in which are bearings. In this case one fiber is
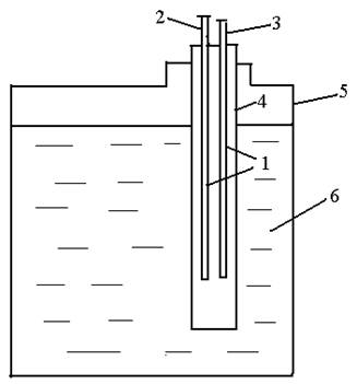
connected to the LED, and the other - with color sensor. Picture 1 shows an exemplary scheme of the device
for monitoring the quality of the oil helicopter engines. In principle, the fiber can be glued to the
wall of the oil tank - it will not be, practically, hold its scope.

Figure 1. An exemplary scheme of the device for
monitoring the quality of the oil helicopter engines.
1 – fiber; 2 – fiber coming from the LEDs; 3 – fiber connected to color
sensor; 4 – flat probe with reinforced fiber; 5 – oil tank with oil 6
Note that color
sensors [1] in the visible spectrum are more sensitive than the human eye. The use of optical fibers allows to
reduce the fire risk on board the helicopter. Similarly, the same device can be
used for continuous monitoring of the transparency oils in aircraft engines of aircraft, in which it
is important to oversee wear of the bearings
. It should be noted that last is
doing by a technician as well as on helicopters, visually through a certain
number of flying hours On airplanes
installs electric sensor that is triggered when into a small space between
its contacts appears dust from worn
bearings: it is usually a signal to put
the aircraft for overhaul. It should be noted that, apparently
monitoring the quality of the oil in the helicopter engines more important,
because its opacity connected with change of alignment in the alignment of the
main propeller, of the proper operation of which depends flight safety.
For aircraft in
the fuel gauge commonly used capacitive sensors, which determine the level of
fuel in the tanks. However, it is known that such fuel gauges have drawbacks,
chief among which are addiction of the temperature of their testimony, because
the dielectric constant of the medium depends on the fuel vapor between the
facings of the capacitive sensor, from which respectively depend on the indexes
of devices, as well as the grade of kerosene. In addition, a significant
disadvantage is the large size of the facings of the capacitive sensor, which
occupy a lot of space in the fuel tanks. In the proposed device for controlling the level
of fuel in aircrafts use color sensors, which connected to optical fibers of
different lengths, which allows to determine the fuel level. Figure 2 shows an
exemplary diagram of the installation of optical fibers in a device for
measuring the level of fuel in aircraft.

Figure 2. An exemplary diagram of the installation of
optical fibers in a device for measuring the level of fuel in the aircrafts:
1 – the optical fibers; 2 – the optical fiber that comes from LEDs; 3 – the
optical fiber connected with color sensor
Herewith these
color sensors connected to difference
amplifiers (Figure 3), the second inputs of which are connected to the output
of the standard color sensor, the optical fiber which is at the bottom of the
tank, and the outputs of difference amplifiers via comparators or Schmitt's
triggers connected to a display unit or to a computer.

Figure 3. Scheme of difference amplifier:
Uвх1 – signal from color sensor; Uвх2 – signal from
standard color sensor
Critics may say
that the system is obtained optical and so it will be polluted. But in the case
of aviation fuel gauge where the medium is a jet fuel, such a system would be
operational.
For aircraft,
there is another problem associated with the measurement of aircraft engine
thrust, which values are usually determined by measuring the temperature of
exhaust gases using thermocouples [2, p. 7-28]. This method has the
disadvantage of relatively low precision instrumental error is caused by thermocouples. The disadvantage of this
method can also be considered that the thermocouple should be in contact with
the medium whose temperature is measured. When it comes to high temperatures,
typically use optical pyrometers [3, p. 86-92]. However, the latter have the
disadvantages, in particular an optical pyrometer readings disappearing
filament depends on the quality of
eyesight, a particular operator. Therefore, the high sensitivity of
color sensors can be used for measurement of aircraft engine thrust and ,in
principle, for the temperature of any heated body [4] in a contactless manner,
as long as it has changed the color of the body. You can also use color
sensors in installations for hardening
products of iron [5].
An important
parameter in the production of yellow phosphorus is determining his level under
a layer of water. The fact that, as is known, white or yellow phosphorus must
always be under a layer of water, as the
in contact with air it ignites
spontaneously. At the same time by the phosphorus level in the tank usually
determine the amount of phosphorus - this is very important, because the
company needs to know how much phosphorus it sells. In actual production, this
parameter is usually determined with a ruler at the tip of which is attached a
small scoop, by which is captured a
small amount of phosphorus, which ignites in the air and on the basis of it the
operator concludes that it reached the level of the phosphorus by using the
ruler. It should be noted that for the combustion of phosphorus is released
harmful gases, among which is considered detrimental phosphine. It is clear
that all this is very inconvenient. For this case, it was proposed "Device
for measuring the level of the two media" [6], wherein two color sensors
being disposed at a small distance from each other in a tube of transparent
material and separated by two light-proof partitions, between which there is a
light source. In
this case, the signals from these color sensors
fed to the inputs of a differential amplifier which provides at its
output a signal equal to zero, if color sensor in one environment and a
stronger signal, if the lower color sensor enters the medium with another
color, and the signal of this sensor will be different from the upper signal of
color sensor.
As a result,
modern color sensors having spectral sensitivity of the human eye, can be used
when creating new instrumentation.
REFERENCES:
1.
Beck V.G and oth. A new type
of semiconductor of color sensor// Vestnik KazNU. Physics. -1994.
2.
E.A Gritsenko, the chief
designer. Engines family of NK-8. Effect of washing-gas path of the engine to
operate at its parameters // Technical Report TS-1004-84. -1984. - P. 7-28.
3.
Kulakov M.V Technological
measurements and devices for chemical industry / M.: Publishing house
"Engineering", 1983. - P. 86-92.
4.
RK Patent № 15047,
15.09.2009. Tuyakbaev AA Aldamzharov KB, Tuyakbaev SA, DA Tuyakbaev Temperature
measurement method RK // Patent № 15047, 15.09.2009. Bull. Number 9.
5.
The patent number 30678,
12/15/2015.Tuyakbaev AA Askarova, SA Bolegenova SA Installation for hardening
products from iron // Patent № 30678, 12.15.2015. Bull. number 12
6.
RK Patent № 4770, 16.06.1997. Tuyakbaev AA Tuyakbaev
SA, Tapalov TT, Baekenov MA, Sadikov AA, AN Kosilbekov Apparatus for measuring
the interface level between two media of Kazakhstan // Patent № 4770,
16.06.1997. Bull. Number 2
7.
Prepatents RK № 15341,
17.01.2005. Tuyakbaev AA Aldamzharov KB, Artemyev VL Tuyakbaev SA A method of
controlling the quality of oil helicopter engines and device for its
implementation // RK prepatents number 15341, 17.01.2005. Bull. №1.