К.т.н.
Коц І.В, к.т.н. Попович М.М., Коваль Д.О.
Вінницький
національний технічний університет, Україна
ІМПУЛЬСНИЙ ДОЩУВАЛЬНИЙ АПАРАТ
Розглянуто роботу дощувального апарату з гідроприводом для
автоматичного управління виконавчим органом імпульсного механізму. Наведено
диференційні рівняння, що описують динаміку переміщення рухомої інерційної маси
в імпульсному дощувальному апараті при холостому та робочому ході.
Одним з напрямків прискорення
науково-технічного прогресу в зрошуванні являється впровадження у виробництво
високопродуктивних енерго- та ресурсозберігаючих дощувальних машин з високими
техніко-економічними показниками. Створення таких машин потребує розробки принципово
нових дощувальних апаратів, що дозволяють раціонально використовувати водоземельні
ресурси, механізувати та автоматизувати водорозподілення. Повною мірою цьому відповідають
імпульсні дощувальні апарати. З їхньою допомогою виконуються поливи малими
нормами з невеликою інтенсивністю дощу, що дозволяє використовувати імпульсні
дощувальні системи для зрошування схилів з ґрунтами низької водопроникності та виключають
ерозію. З’являється можливість регулювання мікроклімату приземного шару повітря
при незначній енергоємності та металоємності [1, 2, 3].
Перспективний напрямок удосконалювання
імпульсних дощувальних апаратів – використання гідроприводу для автоматичного управління
виконавчим органом імпульсного механізму викиду заданого об’єму води. Імпульсні
дощувальні апарати з гідропривідним пристроєм агрегатуються з гідрофікованим самохідним
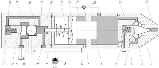
шасі. Конструктивно такий апарат складається з накопичувального резервуару води
6, ствола з запірним пристроєм 1, імпульсного механізму викиду води 7 і
гідропривідного блока автоматичного управління імпульсним викидом 18 (рис.1).
Подача води в накопичувальний резервуар 6 здійснюється через зворотний клапан 22
з низьконапірної провідної зрошувальної мережі. Додатковий напір для
забезпечення розрахункового радіусу поливу створюється імпульсним механізмом
викиду води 7. Пристрій блока автоматичного управління імпульсним викидом 18
може бути виконано у вигляді трьохступінчастого клапану, що містить підпружинений
плунжер 12 та кульку 11, які встановлені з утворенням трьох порожнин. Запірний
пристрій 1 містить випускний імпульсний клапан 3, робоча порожнина 2 якого з’єднана
з накопичувальним резервуаром води 6.

Рис.1.
Імпульсний дощувальний апарат
Імпульсний дощувальний апарат працює
наступним чином. У вихідному положенні накопичувальний резервуар 6 наповнений
водою, запірний пристрій 1 закритий. При включенні гідронасосу 8 починається
холостий хід імпульсного механізму викиду води. Робоча рідина по напірним магістралям 10 під тиском
надходить в штокову порожнину 21, потім в підклапанну порожнину 17 і по каналу
14 в надклапанну порожнину 13 гідрокеруючого пристрою. Так як на першій ступені
площа поверхні кульки 11, що герметизується, притиснутого зі сторони
підклапанної порожнини, менше плунжера 12 зі сторони надклапанної порожнини 13,
то кулька під дією різниці тисків буде притиснута до ущільнюючої фаски. При цьому
рідина в штоковій порожнині 21 діє на поршень 20, переміщує його зі штоком
імпульсного механізму викиду води 7 в ліве положення та стискає силову пружину
19. В результаті шток механізму викиду води 7 займе крайнє ліве положення та
вивільнить об’єм води в накопичувальний резервуар 6, який заповниться черговою
порцією води. Переміщення поршня 20 передається жорстко скріпленому з ним упору
9, кінець його віджимає кульку 11 від ущільнюючої фаски, і починається робочий
хід імпульсного механізму викиду води. Площа кульки, на яку діє тиск робочої
рідини зі сторони підклапанної порожнини 17, збільшується та утворює другу
ступінь, рівну всій площі поперечного перерізу кульки. Віджавши підпружинний
плунжер 12, кулька переміститься вліво, підклапанна порожнина 17 з’єднається із
зливною розточкою 15, і робоча рідина піде на злив 5. Тиск в напірних
магістралях блоку автоматичного управління впаде до зливного, в під клапанній
порожнині 17 плунжер 12 перемістить кульку 11 вправо та притисне її до
ущільнюючої фаски. Злив робочої рідини через центральну порожнину 16 та зливну
розточку 15 припиниться. Одночасно поршень 20 зі штоком імпульсного механізму
викиду води 7 під дією силової пружини 19 зміститься вправо, а робоча рідина зі
штокової порожнини 21 піде на злив. В результаті переміщення штока в накопичувальному
резервуарі 6, що заповнений водою, створиться тиск, на який налаштований
імпульсний клапан 3 замикаючого пристрою 1. Під дією зростаючого тиску зі
сторони робочої порожнини 2, що зв’язана з каналами 4 та 24 з накопичувальним
резервуаром 6, випускний імпульсний клапан 3 відривається від сідла та
віджимається в крайнє ліве положення. При цьому накопичувальний резервуар 6
з’єднується з соплом 23, через яке виникає імпульсний викид води на зрошувальну
поверхню. По мірі зниження тиску води в накопичувальному резервуарі 6 випускний
імпульсний клапан 3 закривається. Далі весь цикл роботи дощувального апарату повторюється
в автоматичному режимі.
Шляхом налаштування тисків
спрацювання триступеневого клапану гідроуправляючого пристрою блоку
автоматичного управління 18 та випускного імпульсного клапана 3 замикаючого
пристрій 1, а також регулювання подачі гідронасосу 8 та діаметру сопла можна
змінити дальність та об’єм викиду, розміри капель, інтенсивність дощу та частоту
імпульсів.
Для складання диференційних
рівнянь, що описують динаміку переміщення рухомої інерційної маси, нами було
розглянуто дві основні фази роботи імпульсного дощувального апарату – холостий
та робочий хід. При складанні диференційних рівнянь прийняті наступні умови та
припущення: витрата води у провідній зрошувальній мережі та подача гідронасосу
8 постійні, тиск робочої рідини в зливній магістралі гідроприводного
автоматичного блоку управління 18 та води на виході з сопла 23 постійні, гідроприводний
автоматичний блок управління 18 та запірний пристрій 1 спрацьовують релейно,
коефіцієнти стиску робочої рідини та води постійні.
Фаза холостого ходу імпульсного
механізму викиду води 7 описується рівняннями:
(1)
(2)
(3)
а фаза робочого ходу – рівняннями
(4)
(5)
(6)
де
– поточний час;
- приведена інерційна
маса (
,
,
- відповідно маса
рухомих елементів імпульсного механізму викиду води 7, зосередженого об’єму
води в накопичу вальному резервуарі 6 та робочої рідини);
,
– витрата води в
провідній зрошувальній мережі і робочої рідини в гідропривідному автоматичному
блоці управління 18;
,
,
– відповідно робочі
площі зі сторони дії робочої рідини на поршень 20, упор 9 і шток 7;
,
– тиск робочої рідини
в гідропривідному автоматичному блоці управління 18 та води в накопичувальному
резервуарі 6;
– коефіцієнт в’язкого
опору робочої рідини;
,
– робочий об’єм гідропривідного
автоматичного блоку управління 18 і накопичу вального резервуару 6;
– коефіцієнт
жорсткості силової пружини 19;
,
– значення
попередньої та максимальної в кінці холостого ходу деформації силової пружини
19;
– сила сухого тертя
рухомої інерційної маси по направляючим поверхням;
,
– коефіцієнти
стискальності робочої рідини та води;
– коефіцієнт витоків
робочої рідини;
,
,
– відповідно поточні
переміщення, швидкість та прискорення рухомої приведеної інерційної маси;
,
– тиск робочої рідини
в зливній магістралі гідропривідного автоматичного блоку управління та води на
виході з сопла 23;
– величина перекриття
зливної розточки максимальним діаметром
кульки 11;
– площа відкриття
випускного імпульсного клапана 3;
,
– коефіцієнти витрати
робочої рідини та води.
Рішення диференційних рівнянь (1)
– (6) проводилось чисельним методом. Результати математичного моделювання
свідчать про те, що при витраті апарата 3...5 л/с та дальності польоту струменя
70...90 м забезпечується інтенсивність дощу 0,03...0,04 мм/хв., а час викиду
складає 3...4 с.
Використання запропонованої
конструкції дощувального апарату з гідроприводом для автоматичного управління
виконавчим органом імпульсного механізму дозволяє:
-
зменшити
габарити та металоємкість імпульсного дощувального апарату;
-
підвищити
продуктивність;
-
зменшити
енергоємність дощувального апарату;
-
збільшити
продуктивність праці.
Література
1.
Носенко В.Ф. Техника импульсного дождевания. –
М.: Колос, 1973.
2.
Пономарчук
А.Ф., Ратушняк Г.С., Иванов М.Е., Коц И.В. Гидроуправляющее устройство импульсного
дождевального аппарата. – Сб.: Гидропривод и гидропневмоавтоматика, вып. 21. – Киев:
Техніка, 1985.
3.
Ратушняк
Г.С., Коц И.В. Конструирование и расчет технологических параметров импульсных дождевальных
аппаратов. – В сб.: Вопросы мелиорации и сельского строительства на Дальнем
Востоке. – Уссурийск, изд. Приморского СХИ, 1984.