Технічні науки / 3. галузеве машинобудування
Гордєєв А. І., Каразей В.Д., Остроушко О.Ю.
Хмельницький національний університет
ВІБРАЦІЙНЕ ОБЛАДНАННЯ
ДЛЯ КАВІТАЦІЙНОГО ЗНЕЗАРАЖУВАННЯ ВОДИ З НАСАДКОМ ЗМІННОГО ПРОХІДНОГО СІЧЕННЯ
Унікальні можливості вібраційного поля
дозволяють успішно здійснювати не тільки оздоблювально-зачистні та зміцнювальні
операції, сепарацію, перемішування, вібротранспортування, гомогенізацію,
фільтрування, сушіння, насичення середовища певними речовинами,
руйнування поверхонь, а і створення умов для кавітаційного знезаражування
води. Це обумовлює ефективність застосування вібраційних
технологічних машин в багатьох галузях промислового виробництва.
Запропоноване обладнання відноситься до кавітаційного
знезаражування води, а саме до малогабаритних мобільних пристроїв, що
використовуються в побутовій техніці. Відомі змішувачі та реактори, які виконані у вигляді проточної камери із
патрубками підводу і відводу рідини, які мають статичні кавітатори у вигляді
січеного конуса та допоміжних кавітаційних елементів у вигляді перфорованих
дисків [1,2]. Недоліком такого
обладнання у необхідності застосування потужних гідронасосних станцій із
значним витоком води, що не дає можливості обробляти невеликі об’єми рідини.
Відоме устаткування для обробки води [3], що містить циліндричний проточний корпус із
патрубками подачі та відводу води, вібропривод з’єднаний штоком з гумовою
мембраною, що створює камеру пульсації
рідини. Процес знезаражування води в даному устаткуванні проходить за
рахунок циклічного проходження рідини крізь насадок з гострими крайками.
Завдяки виникненню знакозмінних тисків у насадку та камері пульсації з’являються кавітаційні пухирці,
які при сплескуванні розбивають оболонки бактерій.
До вад устаткування варто віднести те, що при досягненні кавітаційного режиму в момент
втягування рідини у камеру пульсації, виникає значний об’єм кавітаційних
газопарових пухирців які збільшуються у розмірах, що спричиняє зменшення об’єму
рідини, яка втягується у камеру пульсації і відповідно зменшенню об’єму води,
який підлягає кавітаційному впливу при проходженні крізь насадок (при стисненні
рідини) за один цикл коливання мембрани.
Для підвищення
продуктивності процесу, бажано збільшувати частоту коливань мембрани, але це
призводить до збільшення розмірів газопарових пухирців у камері пульсації при
втягуванні рідини, що знову веде до зменшення об’єму рідини який втягується у
камеру пульсації.
Задачу підвищення продуктивності
знезаражування запропоновано вирішувати шляхом зміни конструкції (введенням
додаткового елемента – насадка змінного прохідного січення), що дозволить
втягування у камеру пульсації більшого об’єму води із кавітаційними пухирцями
менших розмірів та здійснити підвищення частоти коливань мембрани і відповідно
продуктивності процесу знезаражування.
Вібраційне обладнання для кавітаційного знезаражування води з насадком змінного
прохідного січення містить неметалічну ємкість з кришкою та відбивачем
струменя, яка встановлена на камеру
пульсації та з’єднана з нею насадком, а рухома мембрана з дисками з’єднана з
віброприводом, згідно запропонованого рішення у
насадку розміщено конічний диск
з отвором та пружину, при цьому конструктивні параметри і режими роботи
вібропривода вибирають з умови:

де f – частота коливань поршня, Гц;
dо/D – співвідношення діаметра
отвору у конічному диску до діаметра мембрани з дисками, (dо/D =1/12…1/14);
Р – тиск у рідини, Р = 0,12…0,15 МПа;
A – амплітуда коливань мембрани, A = (2…3)·10-3 м;
– питома вага рідини,
=1000H/м3.
Співвідношення діаметра насадка Dн до
діаметра отвору у конічному диску dо
приймають відповідно залежності:
![]()
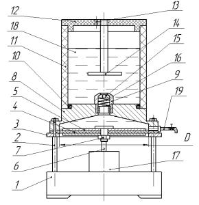
Конструкція вібраційного пристрою для кавітаційного знезаражування води показана на рис.1.
|
|
|
Рис.1 – Конструкція вібраційного обладнання:
1 – основа; 2 – стійки;
3 – пластина; 4 – гумова мембрана; 5 – диски; 6 – шток; 7 – гайка; 8 – корпус; 9 – насадок; 10 – ущільнення; 11
– неметалічна ємкість; 12 – кришка; 13 отвір виходу
повітря; 14 – відбивач струменя; 15 – конічний диск з
отвором;16 –
пружина; 17 – вібраційний привод; 18 – вода; 19 – кран
Працює обладнання
наступним чином: вода 18 заливається у ємкість 11, проходить крізь насадок 9 та отвір конічного диска (dо) у камеру пульсації. Ємкість 11 закривається кришкою 12 з
відбивачем струменю 14. При зворотно-поступальному руху вібропривода 17,
коливання через шток 6 передаються мембрані 4 з дисками 5. Крізь насадок 9 та
отвір у конічному диску 15 починає багатократно циркулювати вода 18 створюючи
затоплений струмінь рідини, який багатократно вдаряється у відбивач струменя
14. При русі мембрани 4 з дисками 5 униз, рідина втягується у камеру пульсації
крізь насадок 9 з отвором Dн та конічний диск 15 з отвором dо, обтікаючи по краях диску 15. У цей момент, під дією
перепаду тисків, конічний диск 15
зміщується униз, стискаючи пружину 16 та створюється збільшення прохідного
січення насадка 9. Завдяки цьому вода 18 втягується у камеру пульсації з меншою
швидкістю та меншими розмірами кавітаційних пухирців. Це забезпечує у камері
пульсації знаходження більшого об’єму води 18 із газопаровими пухирцями. При русі мембрани 4 з дисками 5 уверх, в камері пульсації
створюється гідроударний тиск, конічний диск 15 завдяки пружині 16 перекриває
отвір Dн і вода 18 у вигляді затопленого струменя починає витікати
з отвору dо із збільшеною
швидкістю, що дозоляє отримувати інтенсивний кавітаційний процес у отворі dо, який впливає на знезаражування води 18. Застосування
насадка 9, змінного прохідного січення, дозволяє підвищити частоту коливань
мембрани 4 з дисками 5 на два Герца, що дає змогу отримати більшу продуктивність
процесу знезаражування води.
Досліди [4,5] по
знезаражуванню води, проведені за допомогою вібраційного пристрою,
виготовленого відповідно до корисної моделі,
протягом 30 хвилин згідно
з ГОСТ 18963–73 (Методы
санитарно-бактериологического анализа), показали зниження
росту кількості колоній хвороботворних бактерій від 63 шт. до 3 шт.
Таким чином, запропоноване
обладнання дозволяє проводити знезаражування води в домашніх умовах без
застосування хімічних реагентів та підвищити продуктивність процесу завдяки
збільшенню частоти коливань і застосуванню насадка змінного прохідного січення.
Література:
1. Патент України №28318, МПК7 С02Р 1/00, 1/30,
опубл.16.10.2000, Бюл.№5-11. – 4 с.
2. Деклараційний патент України на корисну модель. № 4338 U Кірія Г.Ш., Шляпіна О.Г. Пристрій для біологічної активації води. Від 17.01.2005, опубл. в Бюл. №1. 2005. – 4 с.
3. Патент на корисну
модель 10347 України, МПК В01F5/00. Устаткування
для обробки води / Р.І. Сілін,
А.І. Гордєєв, В.В. Третько, І.І. Сорока (Україна); заявник і патентовласник Хмельницький
нац. ун-т. – u 200503620; Заяв.
18.04.2005; Опубл.15.11.2005, Бюл. №
11. – 3 с.
4 Сілін
Р.І. Вібраційне обладнання
для зміни властивостей води / Р.І.
Сілін, А.І. Гордєєв. // Машинознавство. – 2005. – №4. – С. 32– 36.
5
Сілін Р.І. Вібраційне обладнання для гідрокавітаційного впливу на склад та
властивості води / Р.І. Сілін, А.І. Гордєєв // Cб. тр.YI міжн. н-т.
конф. «Повышение качества, надежности
и долговечности технических систем и технологических процессов» 2-9 грудня
2007. г. Хургада, Єгипет. С.33-35.