Ержанова
А.Т., Дуненова А.Ә.
Қорқыт Ата атындағы
Қызылорда мемлекеттік университеті
Ұзақжүрісті
ұңғымалы сорап қондырғыларының иілгіш тарту
органының құрылымдық орындауының талдауы
Ұңғымадан сұйықтықты өндіруді
жоғарылату, сорапты пайдаланудың тиімділігі мен сенімділігін
ұңғымалы сораптың плунжер жүрісін ұзарту
есебінен арттыру мүмкін болады. Сол себептен қазіргі уақытта
плунжер жүрісінің ұзындығымен
ұзақжүрісті ұңғымалы сорапты қондырғыларды
(ҰСҚ) шығару мен жетілдіруге үлкен назар аударылады.
Қазіргі уақытта
қолданылатын ҰСҚ сорап плунжерінің жүріс
ұзындығы 4,5 м дейін. Шет елдік ШҰСҚ жүріс саны
7,6 м дейін болып шығарылады. ШҰСҚ төртбөлікті шарнирлі
тербелмелі станогының кинематикалық сызбасының талдауларынан
көретініміз, балансирлі жетектің жүріс ұзындығын
арттыру оның габариттерінің, массасының және редуктор
иініндегі айналу моментінің
күрт артуына алып келеді.
Балансирлі жетекті тереңсорапты
қондырғылар сораптың төмен коэффициенті толуының
әсерінен төмен қ.ә.қ-ге ие. Басқа да
мұнайлы аймақтардан коэффициентінен көретініміз,
олардың мәні 0,4...0,5 аспайды. Нәтижесінде балансирлі тереңдікті
сорапты қолдану кезінде энергия шығыны ұңғыма
пайдаланудың басқа механикаландырылған пайдалану
әдісінен жоғары болады.
Иілгіш тарту органды ҰСҚ
шығарудың мақсаты шет елдерде ұқсас
қондырғының шығарылуы мен табысты пайдалануы болып
келеді ("Western", "Bethlehem
Stell", "Axelson"
және "Oilwell" (США),
"Canadian Foremost" (Канада),
"Маре" (Франция) фирмалары
мен т.б.) [1].Ұзақжүрісті қондырғыны пайдалану
барысында бір қалыпты режимде жүзеге асыратын шарттар белгіленді,
атап айтқанда табиғи
шектеулер үдемелі деңгейдің төменгі жағдайына
сорап әдісінің сұйықтығы бір мезетте жұлынбайтын
қозғалысында плунжер жоғарылауы сақталады.
Стационарлық ұзақжүрісті режимінің
қағидалы талдауы симметриялы жұмысшы циклінде маңызды
тәуелділіктің қатарын тағайындап қояды[2].
Штанга колоннасын канат есебінде
пайдалану жөнінде теориялық
зерттеулер мүмкіндігі канатқа салмақ
салғандағы оның кермектігін және ұзаруын зерттеуге арналған.
Бұндай қондырғылар кешені штанга
сабының металлсыйымдылығын төмендетеді, жер беті
қондырғыларына салмақты азайтады, штанганың
үзілуі мен қайырылымына сәйкес
ұңғыманың жерасты жөндеуінің саны мен
шектеуін азайтады. Тарту органының көрінісі, конструкциясы,
жұмысқа қабілеттілігі, қозғалысты атамалы
жетектен ұңғыманың сорабының плунжеріне
жұмыс істеуінде ҰСҚ-ның
бүтіндікте қамтамасыз етеді.
Болат канат
көмегімен сорап плунжерінің орын ауысуы барысында
құрылымды және серіппелі канаттың созылуы, тозу,
коррозия, қосалқы деформация және бөлек сымдардың
үзілуі сияқты канаттың және СКҚ тез тозуына алып
келетін мәселелер туындауы мүмкін. Мұнай кәсіпшілігінде
қолданылатын кәдімгі канаттар ҰСҚ жетегінде
механикалық тозуға және коррозияға қарсы
қолданыла алмайды[2]. Айдалатын
сұйықтыққа және СКҚ канаттың
үйкеліс күшін азайту, динамикалық жүктемелерді азайту
мен сорап толтыру коэффициентін арттыру канатты құрылымдық
артықшыларының есебінен болады, олар штангалы колонна рөлін
ғана емес, амортизатор мен демпфер рөлін де атқарады. Канатты
тарту органының кемшілігі, оның созу жүктемесінің
әсерінен созылуы, көлемі болат штангаларына
қарағанда 15% артық
болады. Канаттың осы құрылымдық ерекшеліктері
ШҰСҚ қондырғысының жағдайы мен жұмыс
қабілеттілігін бағалау әдісін дұрыс қолдануға
мүмкіндік бермейді. Канатты штанганың массасының
төмендеуі жүктеменің төмендеуі нәтижесінде
плунжердің төмен жүрісінде қиындықтар
туғызады. Сондықтан, иілгіш тарту органы тартылған
жағдайда болу үшін, ауырлатқыштар керек.
Бұл
жағдайда ең тиімді шешім болып, тарту органы ретінде
резеңкетросты канат (РТК) немесе лента (РТЛ) қолдану керек, олар
жоғары беріктікті трос жүйесін көрсетеді, кіші диаметрлі
жоғарғы беріктік шегімен жасалынған сымдар, олардың
айналып кетуінен алдын алып және
коррозияға төзімді ететін резеңке қабықпен
қапталған.
Ұсынылатын
иілгіш резеңкетросты тарту органды ДНУ сұлбалары 1.1 және 1.2
суретте көрсетілген. Бұл жерде ДНУ құрылымының
барабанға оралатын иілгіш жалпақ резеңке тросты тарту
органының екі нұсқасы қарастырылады. Бірінші
нұсқада ДНУ тарту органы толықтай жалпақ
резеңкетросты канаттан тұрады. Ал екінші нұсқада ДНУ
тарту органы аралас: барбанға оралатын бөлігі РТК немесе РТЛ ден тұрады,
ал ұңғымада жұмыс істейтін қарапайым металл
штангаларының колоннасынан немесе дөңгелек болат канаттан
тұрады.
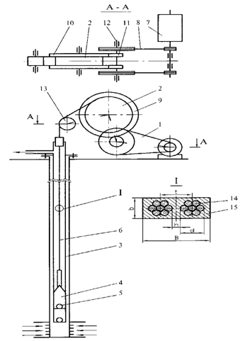
ДНУ ұсынылатын құрылымы (1.1 сурет) [4], жерді күштік жетектен 1, барабаннан 2, СКҚ колоннасынан 3,
ішінде тереідікті сорап плунжері орналасқан 4 , қабылдағыш клапан 5 және иілгіш тарту
органынан 6 тұрады, ол үзіліссіз жалпақ резеңке тросты
канат түрінде орындалған, оның бір басы барабанмен
байланысқан 2, ал екіншісі ауырлатқыш арқылы плунжермен 4
байланысқан. Жетек 1
электрқозғалтқыштан 7,
сыналыременді берілістен 8 және
тісті қысқыштан 9 тұрады.
Соңғысы тісті доңғалақтардан 10, барабанға бекітілген 2,
және тісті доңғалақтан 11, жетекші иінде отырған 12
сыналыременді берілістен 8 тұрады.

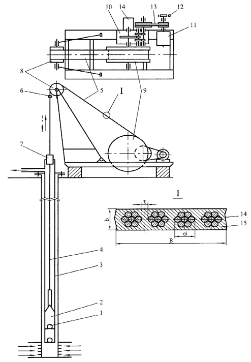
Екінші қондырғының құрамына
(1.2 сурет) рамаға бекітілген редуктор кіреді. Редуктор иінінде барабан
орнатылған 9, оған РТК
(немесе РТЛ) 5,
электрқозғалтқыш 11,
сыналыременді беріліс 13, реверсивтеу
механизмі 14, тежегіш 12,
бағыттағыш шкив 8,
басқару станциясы оралады. Рама фундаментке бекілітеді.
Ұңғымаға түсіру кезінде РТК цементтеуі бағыттағыш шкивпен
қамтамасыздандырылады, ұңғыма осі орналасуына сай
бекітілген.
Сур. 1.1. Иілгіш
резеңкетросты тарту органды ҰСҚ бірінші нұсқасы
1 - жетек; 2 - барабан; 3 – СКҚ (сораптың
цилиндры); 4 - ұңғыманың сорабының клапаны; 5 –
қабылдағыш клапан; 6 - иілгіш резинотросты тарту органы; 7 -
электрқозғалтқыш; 8 - сыналыременді беріліс; 9 - тісті
қысқыш; 10 – тісті дөңгелектер; 11 – тісті
доңғалақтар; 12 – жетекші иін
![]() |
Сур. 1.2. Иілгіш резинотростытарту органды
ҰСҚ екінші нұсқасы
1 - сорғыш клапан; 2 - плунжер; 3 – СКҚ (сораптың
цилиндры); 4 - канат немесе штангалар колоннасы; 5 - иілгіш резинотросты тарту
органы; 6 – РТКмен саға штогын қатайту механизмі; 7 -
сағаның сальнигі; 8 – бағыттағыш шкив; 9 - барабан; 10
- редуктор; 11 - электрқозғалтқыш; 12 - тежеуіш; 13 – сыналыременді
беріліс; 14 - реверстеу механизмі
Бүкіл әлемдік практикада армирленетін
және тасымалдағыш элементтері ретінде қолданылатын тростар
қолданылатын құрылымдар белгілі. Бұл
резеңкетротронспортерлі ленталар, резеңкетросты канаттар,
резеңкетросты шиналар және т.б. Резеңкетросты канаттар немесе
резеңкетросты ленталар шахталық көтерілісте кеңінен
қолданылады.
РТК (РТЛ) паралель
орналасқан және қабатқа желімденген, екі рет
құйылған металлтрос резеңкелерін көрсетеді,
коррозияға төзімді және трос айналуын алдын алатын
латундалған сымдар. Тросы уложены в РТК-ға сымдар қос
қарама – қарсы бағытта орналасқан. РТК дайындау
үшін диаметрі 4,3; 10,5; 10,6; 11,0; 12,9 мм металтростары
қолданылады.
Ақ диамертлі
тростарды пайдалану ДНУ жетегінің элементтерінің (шкив, барабан
және т.б) металсыйымдылығы мен геометриялық өлшемдерін
айдарлықтай азайтады, алқорғаныс резеңке
қабығының болуы жоғары беріліс шекті (sв = 2500 ¸ 3500 МПа) аз диаметрлі
(0,1 ¸ 0,6 мм) сымдарды трос дайындауғы қолдануына
мүмкіндік береді. Резеңке болмаған жағдайда кіші
диаметрлі сымды канаттарды дайындау мүмкін емес, тех коррозиялық
құлдырауына байланысты. Одан бөлек, трос орнатылған
резеңке матрица, оның айналуына кедергі болады.
Сымдарды коррозия мен механикалық әсер
етуден сақтау үшін бөлек тростарда қорғаныс
қабықшасын жасауға, полимерлі материалдарды қолдануға
болатыны да белгілі. Материал ретінде капрон, полиамид, полистирол, эпоксидті
шайылар және т.б. қолданылады. Бұл ҰСҚ иілгіш
жалпақ тарту органын жалпақ матрицада полимерлі материалдан
дайындау техникалық тұрғыда мүмкін екенін
көрсетеді.
Қолданылған
әдебиеттер тізімі
1. Адонин А.Н. Добыча нефти штанговыми насосами. – М.: Недра, 1979.
2. Адонин А.Н., Лебедев В.В., Литвинов А.Я. Исследование движения нефтеводяной
смеси по вертикальному подъемнику. – Нефтепромысловое дело. – М.: ВНИИОЭНГ,
1974. - № 8.
3. Аливердизаде Т.К. Механические безбалансирные приводы штанговых
глубиннонасосных установок. – М.: ЦИНТИхимнефтемаш, 1976.
4. Алиев Ш.Н., Мамедов А.М., Пирвердян А.М. и др. Результаты применения
стальных канатов для привода скважинных насосов. – Э.И. Сер. «Машины и нефтяное
оборудование». – М.: ВНИИОЭНГ, 1985. – № 4.