Студ. Нечай А.А., студ. Широкорадюк
А.А., к. т. н., доцент Сагиров Ю.Г.
Государственное
высшее учебное заведение
«Приазовский
государственный технический университет»
Автоматизация инженерных расчетов с использованием MathCAD на примере мостового
крана
История развития
технологий полнится множеством изобретений и прилежащих к ним методик
разработки, которые с ходом времени тоже не стоят на месте и с каждым годом
улучшаются. Требования к производству высокопроизводительных, экономичных
мостовых кранов, делают актуальной задачу быстрого и автоматизированного
расчета их узлов и конструкций.
Зачастую, сроки
проектирования оказываются настолько большими, что к моменту окончания работ
над проектом появляются новые материалы и методики расчета, которых не было на
момент начала работ над проектом. Поскольку переработка проекта может занять
времени не меньше, чем первичная его разработка, проект отправляется в
производство и одновременно начинается работа по его модернизации. В результате
этого не только увеличивается объем проектных работ, но и усложняется объект
проектирования.
На смену традиционным
орудиям труда инженеров и техников пришли системы автоматизированного
проектирования (САПР), которые способны по ранее заложенной программе, без
непосредственного участия человека, создавать чертежи деталей, узлов и изделий
и технологические процессы их изготовления и сборки. Выполнять в автоматическом
режиме необходимые инженерные и экономические расчеты и выбирать оптимальный,
отвечающий заданным критериям, вариант.
Например, для
автоматизации инженерных расчетов можно использовать Mathcad. Пакет ПО PTC Mathcad — система компьютерной
алгебры из класса систем автоматизированного проектирования, ориентированная на
подготовку интерактивных документов с вычислениями и визуальным сопровождением.
От других продуктов аналогичного назначения, например, Maple&Theorist
(компании WaterlooMapleSoftware) и Mathematica (компании WolfResearch),
MATHCAD (компании Mathsoft) отличается лёгкостью
использования и применения для коллективной работы, ориентирован на создание
высококачественных документов (докладов, отчетов, статей) в режиме WYSIWYG (WhatYouSeeIsWhatYouGet). Это означает, что, внося
изменения, пользователь немедленно видит их результаты и в любой момент может
распечатать документ с вносимыми изменениями. математические задачи описываются
при помощи общепринятых математических знаков. Mathcad имеет интуитивный и
простой для использования интерфейс пользователя [1].
Нами были разработаны и
реализованы в среде Mathcad
алгоритмы по расчету механизмов мостового крана: передвижения тележки (рис. 1) и
подъема груза (рис. 2). Мостовые краны предназначены для выполнения
погрузочно-разгрузочных и транспортных операций в цехах современных
промышленных предприятий, на монтажных и контейнерных площадках, на открытых и
закрытых складах, они перемещаются по рельсовым путям, расположенным на
значительной высоте от пола, занимают мало полезного пространства цеха и
обеспечивают обслуживание почти всей его площади.

Рисунок 1 – Кинематическая
схема механизма передвижения крановой тележки: 1 – электродвигатель; 2, 5 –
зубчатая муфта типа МЗП; 3 – зубчатая муфта с тормозным шкивом; 4 – редуктор
типа ВК; 6 – ходовое колесо

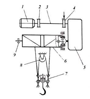
Рисунок 2 – Кинематическая схема механизма подъема груза:
1 – электродвигатель; 2 –муфта; 3 – промвал;
4 – муфта с тормозом; 5 – редуктор с хвостовиком в виде зубчатой втулки; 6 –
барабан (с зубчатой обоймой); 7 – крюковая подвеска; 8 – уравнительный блок; 9
– опорный подшипник.
Расчет в программы разделен
на несколько этапов. На 1 этапе необходимо вводить исходные данные. Исходными
данными являются:
-вес поднимаемого груза;
-собственный вес
тележки;
-диаметр цапфы колеса;
-ориентировочное
значение диаметра ходовых;
колес тележки;
-скорость передвижения
тележки;
-ветровая нагрузка;
-режим работы механизма.
Исходные данные
вводятся после знака «:=» (этот знак является знаком присвоить) необходимо
нажать на красный квадрат левой кнопкой мышки и ввести исходные данные (рис. 3).

Рисунок 3
− Страница ввода данных
На следующем этапе в
автоматическом режиме ведется расчет, при котором программа рассчитанные
значения каждой зависимости приводит справа от соответствующей формулы (рис. 4).

Рисунок 4
− Страница вывода рассчитанных значений
При необходимости ввода
стандартных величин, приведены справочные данные (рис. 5).

Рисунок 5
− Таблица стандартных величин
В результате
выполненных работ, можно отметить следующие преимущества MATHCAD:
1.
Универсальность, что может быть
использовано для решения самых разнообразных инженерных, экономических,
статистических и других научных задач.
2.
Программирование на общепринятом
математическом языке, что позволяет преодолеть языковой барьер между машиной и
пользователем. Потенциальные пользователи пакета - от студентов до академиков.
3.
Совместное применение текстового
редактора, формульного транслятора и графического процессора, что позволяет
пользователю в ходе вычислений получить готовый документ.
Литература
1. Matchad
15 [Электронный ресурс]: Режим доступа: https://pts-russia.com/products/matchad/matchad-info.html
2. Власов
В.Т., Михеев В. А. Специальные краны/ В.А. Михеев, В.Т. Власов // Специальные
краны: Мариуполь 2004. - [10-20].
3. Колода
С.Ф., Колода А.С., Расчеты и конструирование крановых механизмов/ С.Ф. Колода,
А.С. Колода // Расчет и конструирование крановых механизмов: Мариуполь 2011. –
[43-47], [194-196].
4. Основные
механизмы и узлы мостового крана. Основные параметры мостовых кранов
[Электронный ресурс]: Режим доступа: http://eam.su/2-1-1-osnovnye-mexanizmy-i-uzly-mostovogo-krana-osnovnye-parametry-mostovyx-kranov.html