Сельское хозяйство /2. Механизация сельского хозяйства
к.т.н., доцент Борознин
А.В., к.т.н., доцент Борознин А.В.
Волгоградский государственный
аграрный университет, Россия
Преимущества безвакуумопроводного доильного агрегата
Анализ развития животноводческой
отрасли за последнее время, показывает постоянное снижение поголовья КРС в
сельскохозяйственных предприятиях региона. В то же время снижение поголовья и
производства животноводческой продукции в личных хозяйствах происходило более
медленными темпами, в результате чего в животноводстве увеличилась доля
индивидуального сектора.


Рисунок 1 –
Изменение поголовья и производства молока
Как видно из данных
графиков (рис.1) за последние годы мы наблюдаем устойчивое увеличение
поголовья, а, соответственно, и продукции животноводства в ЛПХ в противовес КФХ
и особенно СХП.
Одним из сдерживающих
факторов развития личных подсобных хозяйств являются их низкая техническая
оснащённость и, соответственно, низкий технический уровень производства.
Расчеты показывают, что
оптимальными моделями мини-ферм для содержания КРС молочно-товарного направления
для ЛПХ (8…10) и КФХ (50…100) являются мини-фермы с содержанием 10-100 голов
КРС[1]. В то же время на рынке доильного
оборудования не наблюдается широкого выбора необходимого оборудования.
Практически для ферм с поголовьем до 100 коров нет серийно выпускаемого
оборудования, которое можно использовать без переоборудования (за исключением
АИД-1 и передвижного доильного агрегата ПДА-1 и их модификации).
Рассмотрим способы сбора
и транспортировки молока при доении коров, их преимущества и недостатки в
области применения для малых ферм в животноводстве.
Способы сбора и
транспортировки молока при доении коров:
![]()
![]()
1. Вымя Доильное ведро Оператором
ведро с молоком вручную переносится в молочное отделение Фляги (АД-100Б).
![]()
![]()
![]()
2. Вымя Доильное ведро Фляги,
в проходах (ДАС-2В).
Перевозятся на тележках Перекачивается молоко по
в молочное отделение молокопроводу в емкость
в
молочном отделении
![]()
![]()
3. Вымя Верхнее расположение молокопровода Система первичной обработки Емкость-охладитель
(АДМ-8А).
![]()
![]()
4. Вымя Нижнее расположение молокопровода Система первичной обработки Емкость-охладитель
(УДА-8А, 16А, 100).
Все выше перечисленные
способы сбора и транспортировки молока от вымени до емкости-охладителя имеют
свои преимущества и недостатки.
При первом способе:
преимущества: –процесс
доения имеет стабильный вакуум под соском;
недостатки: – большие
затраты ручного труда, связанные с длительными переходами при транспортировке
ведер с молоком;
– длительное время
соприкосновения молока с открытым загрязненным воздухом;
– наличие вакуумпровода.
При втором способе:
преимущества: – доение
стабильное;
недостатки: – транспортировка
молока в ведрах в начале во фляги, а затем или фляги перевозятся, или идет
перекачка, т.е. дополнительные потери времени;
– соприкосновение с
воздухом;
– наличие вакуумпровода и
молокопровода для перекачки.
При третьем способе:
преимущества: – молоко
перекачивается по молокопроводу;
– нет соприкосновения с
воздухом.
недостатки: –
нестабильность вакуума при доении под соском, в шланге и в молокопроводе, что
приводит к снижению жирности молока, нарушению стереотипа доения;
– наличие вакуумпровода и
молокопровода.
При четвёртом способе:
преимущества: – стабильность
вакуума при доении под соском;
– отсутствие ручных
затрат на транспортировку молока;
– нет соприкосновения с
воздухом.
недостатки: – наличие
вакуумпровода.
Для совершенствования
использования молокопроводных доильных установок, особенно для малых ферм, в
направлении улучшения качества доения, возможности использования различных
доильных аппаратов (а не однотипных, как во всех серийных установках) и
снижения металлоёмкости и стоимости установки, предлагается вариант безвакуумопроводного
доильного агрегата с молокопроводом.
Разрабатываемый доильный
агрегат предполагает исключение: колебаний вакуума под соском (стабильный
вакуум при доении), в шлангах доильного аппарата и в молокопроводе при
транспортировке; ручных затрат на транспортировку молока; соприкосновения
молока с воздухом и, наконец, отсутствие вакуумпровода.
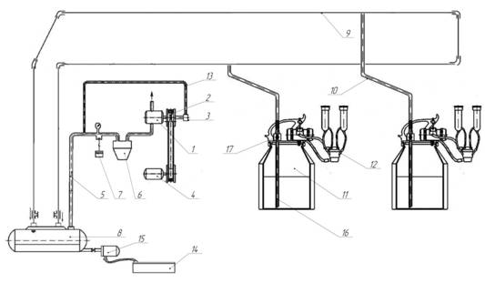
На схеме (рис.2) показан
вариант использования молокопровода совместно с ведёрным доильным аппаратом [2,3]. В этом случае доильный аппарат 11 должен быть
оборудован устройством для откачки молока 17. Схема использования
разрабатываемого нами ведерного аппарата простая. Доильный аппарат 11
подключается непосредственно к молокопроводу 9 и выполняется процесс доения. По
окончании процесса доения стаканы отключаются, и включается устройство 17
откачки молока.

Рисунок 2. Схема безвакуумопроводного доильного агрегата.
1-насос; 2-вариатор; 3-пневмоцилиндр; 4-электродвигатель; 5-вакуумпровод; 6-ресивер; 7-регулятор вакуума; 8-молокосборник; 9-молоко-вакуумпровод; 10-промежуточный молокосборник; 11-доильный аппарат; 12-молоко-вакуумная трубка; 13-трубка; 14-емкость для хранения молока; 15-молочный насос; 16-молочная трубка;17-переключатель режимов работы.
Пока оператор готовит к
доению следующее животное, молоко откачивается в молокопровод. Приспособление
для перекачки молока устроено таким
образом, что позволяет транспортировать молоко по вертикальному
молочному шлангу 10 и по молокопроводу 9 ламинарным потоком без турбулентности
молока. Циркуляционная промывка доильных аппаратов осуществляется на стенде или
из ведра с моющим раствором (как на серийных доильных агрегатах).
Основные достоинства данного
варианта доильного агрегата в первую очередь, позволяют использовать доильные
аппараты разных типов и конструкций, чего нельзя допустить при доении
непосредственно в молокопровод. Также известно, что вакуумный режим и качество
выдаивания животных при доении непосредственно в ведро значительно лучше, чем в
молокопровод. Модифицированный нами доильный агрегат позволяет выровнять
параметры вакуума, как под соском, так и в молокопроводе, и стабилизировать
процесс доения. Не менее важной в этом случае является возможность исключить из
комплектации доильного агрегата значительное количество недешевых оцинкованных
труб, а в качестве несущей основы для молокопровода использовать другой профиль
или имеющиеся опоры. Менее очевидным, но очень важным фактором данной
разработки является более щадящее взаимодействие жировой фракции молока с
воздушными потоками при транспортировки его по шлангу и молокопроводу, что
обуславливает меньшую сбиваемость жировых Данный доильный агрегат позволяет
объединить все преимущества процесса доения (стабильный вакуум под соском, закрытая
среда, транспортировка молока ламинарным потоком, нет процесса «пахтанья» – не
влияет на жирность, так как молоко откачивается сплошным потоком без колебаний,
создаваемых воздушными пробками), поэтому его можно рекомендовать к
использованию для доения на малых фермах.
Литература:
1. Борознин В.А. Модели мини-ферм и
средства их механизации для КФХ и ЛПХ: научное издание /В.А.Борознин, Н.М.Антонов,
В.П.Плотников, А.В.Борознин/ -Волгоград: ИПК ФГОУ ВПО ВГСХА «Нива», 2008. 128с.
2. Промежуточный молокосборник : патент
2432738 RU A 01 J 9/00 / Борознин А.В., Борознин В.А., Скориков А.С. №2010113687; Заявл.
07.04.10 //Изобретения (Заявки и патенты) –2011.–№31.
3. Безвакуумопроводный доильный агрегат
: патент RU 153232 U1 A 01 J 5/00 / Борознин В.А, Борознин А.В., Борознин
Л.В., Харлашин А.В. №2014152800/13; Заявл. 24.12.14 //Изобретения (Заявки и
патенты) – 2015. –№19