Строительство
и архитектура/4. Современные строительные материалы
Демушкин Н.П., Проскуро А.А., Краснов В.В., к.т.н. Орехова Т.Н.
Белгородский государственный технологический университет
им. В.Г. Шухова, Россия
Анализ надежности работы многоковшового цепного
экскаватора
Режущая
цепь траншейного экскаватора является
основным инструментом из числа рабочего оборудования серийных ЭТЦ модели 252 и
предназначен для выполнения основных функций ЭТЦ. Режущая цепь входит во все модели ЭТЦ и используется для отрытия траншей под укладку нефти и газопроводов,
магистралей, водопровода, канализации, силовых кабелей и
кабелей связи. Цепной землеройный орган в модификации ЭТЦ 252 разрабатывает
поверхность земли, это позволяет работать ЭТЦ в нормальном режиме работы. Но
проблема цепного землеройного органа
заключается в том, что происходит быстрый износ резцов (Рис.1.) , что снижает
надежность машины, а, следовательно, снижает её производительность. [4,5]

Рис.1. Обычный цепной земляной орган
Данную
проблему можно решить благодаря использованию составного цепного землерезного органа. Цепной землерезный
орган ЭТЦ (Рис.2.) включает приводную звездочку, направляющую раму с оголовком
и натяжным устройством, режущую цепь с резцедержателями и резцами, содержащую
боковые пластины, соединенные осями, посредине которых установлены втулки с
роликами. На обоих концах осей за пределами боковых пластин закреплены цевки-бонки с наружными проточками, установленные с возможностью
вращения при зацеплении с боковыми звездочками выполненной трехрядной приводной
звездочки, а также при движении цепи вдоль направляющей рамы с возможностью
опоры на выступы боковых пластин направляющей рамы и оголовка.[1-3]

Рис.2. Составная часть цепного землерезного
органа
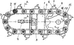
Составная
часть цепного землерезного органа (Рис.3.) состоит из: раму 1, оголовок 2, винт 3 и
гайку 4 натяжного устройства, режущую цепь 5 с резцедержателями 6 и резцами 7,
приводную звездочку 8. Режущая цепь 5 включает внешние 9 и внутренние 10
боковые пластины, соединительные оси 11, втулки 12, вращающиеся ролики 13
каждого звена цепи. На выступающих за боковые пластины 9 концы осей 11
устанавливаются цевки-бонки-цилиндрические ролики 14,
15, которые фиксируются на осях 11 при помощи шайб 16 и винтов 17.[6-8]

Рис.3. Цепной землерезный орган
Таким
образом, использование цепного землерезного органа,
позволяет достичь повышение производительности и надежности исполнительного
органа ЭТЦ при рытье траншей под
укладку нефти и газопроводов,
магистралей, водопровода, канализации, силовых кабелей и
кабелей связи.
Литература
1. Romanovich А.А., Glagolev S.N., Romanovich
M.A. Technology for the production of nanomaterial with the use of traditional
grinding equipment // International Journal of Pharmacy and Technology. 2016.
T.8. № 5. C.25007 - 25014.
2. Romanovich А.А., Glagolev S.N., Romanovich M.A., Babaevskiy A.N. The
method of computing the efforts of preconsolidation
// International Journal of Pharmacy and Technology. 2016. T.12. №5. C.25015 -
25023.
3. Sharapov R.R., Prokopenko V.S. Modeling of the separation process in
dynamic separators // World Applied Sciences Journal. 2013. Т.25. №3.
С.536-542.
4. Uvarov V.A., Klyuev
S.V., Orekhova T.N., Klyuev
A.V., Sheremet E.O., Durachenko
A.V. The counter flow mixer for receiving the disperse reinforced composites //
Research Journal of Applied Sciences. 2014. Т.9. №12. С.1211-1215.
5. Алексеева Т.В., Артемьев К.А., Бромберг
А.А. и др. Дорожные машины. 1978, 576 с.
6. Домбровский Н.Г., Гальперин М.И.
Землеройно-транспортные машины. Учебник М., "Машиностроение",
1965, 273 с.
7. Орехова Т.Н., Уваров В.А. Определение
скорости частиц материала пневмосмесителя сухих
строительных смесей // Фундаментальные исследования. 2013. № 4-3. С. 592-596.
8. Романович А.А. Исследование влияния
скорости вращения валков на выходные показатели процесса измельчения и
разработка рекомендаций по повышению износостойкости их рабочих поверхностей //
Вестник Белгородского государственного технологического университета им. В.Г.
Шухова. 2011. № 4. С. 71-73.