Д.т.н. Голыбин В.А., к.т.н. Федорук В.А., Лавренова М.А., Лоскутов А.Ю.

Воронежский государственный университет инженерных технологий, Россия

Комбинированная обработка диффузионного сока

 

Для интенсификации очистки диффузионного сока перспективными являются электрофизические методы обработки, однако необходимы дальнейшие исследований физико-химических и электрокинетических явлений, проявляющихся в технологических процессах. Возможность применения электрообработки связана с тем, что полупродукты свеклосахарного производства представляют собой дисперсные системы с электрически заряженными частицами, эффективно взаимодействующими с внешним электрическим полем [1].

При подаче потенциала на электроды образуется двойной электрический слой с высокими концентрациями электрохимически активных реакцион-носпособных веществ. Идет синтез продуктов взаимодействия этих веществ.

Высокомолекулярные соединения (ВМС) сока в электрическом поле движутся в приэлектродные слои. Повышение их концентрации приводит к мицеллообразованию, коагулированию и выпадению в осадок. Скоагулировавшие ВМС адсорбируют различные вещества (несахара) из очищаемого производственного раствора. Приложенное электрическое поле поляризует поверхность электрически нейтральных несахаров, что интенсифицирует адсорбцию. Гидроксил-ионы катализируют разложение ряда солей, редуцирующих веществ, пектиновых веществ, белков, амидов кислот [2].

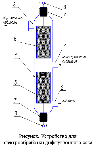
Нами для проведения процесса электрообработки диффузионного сока предложено следующее устройство (рисунок), включающее вертикально расположенный цилиндрической корпус 1 из диэлектрического материала с патрубками для подачи 2, отбора обработанной жидкости 3 и патрубком для подвода активированной сгущенной суспензии 4. В корпусе расположены кольцевые анод 5 и катод 6 и через уплотнители 7 установлены клеммы 8 для подвода постоянного тока [3].

Работа устройства осуществляется следующим образом. Жидкость, предназначенная для очистки (например, диффузионный сок), через патрубок 2 поступает в устройство до полного заполнения корпуса 1. Затем к аноду и катоду подводится через клеммы стабилизированное напряжение постоянного тока. Начинается обработка жидкости в пространстве перед анодом, где за счет действия постоянного электрического тока происходит ее небольшое подкисление. Затем жидкость проходит зону анода 5, где рН ее снижается до 4,2-5,0 в результате образования кислот при разрядке анионов, при этом вещества коллоидной дисперсности (ВКД) находятся в изоэлектрическом состоянии и коагулируют. Далее жидкость проходит межэлектродное пространство, куда в качестве центров коагуляции вводятся положительно заряженные частицы карбоната кальция. При этом осаждаемые крупные молекулы частиц ВМС и ВКД концентрируются вокруг положительно заряженных частиц карбоната кальция. Затем тяжелая частица карбоната кальция оказывается внутри крупного конгломерата, включающего ВКД и ВМС. В зоне катода происходит повышение рН и обработанная жидкость, выходящая из корпуса устройства на последующую очистку через отводной патрубок, имеет величину рН, близкую к нейтральному.

Таким образом, конструктивные особенности устройства позволяют снизить рН сначала при вводе очищаемого раствора, затем в зоне анода под действием электрического тока. Это способствует созданию в корпусе устройства зон с различными значениями рН среды для более полной коагуляции различных групп ВКД в их изоэлектрическом состоянии. При переходе в межэлектродное пространство коагулят ВКД стабилизируется при прогрессивном нарастании рН раствора. Ввод в эту зону частиц карбоната кальция с определенным поверхностным зарядом способствует формированию устойчивой структуры осадка. В зоне катода рН повышается, идут восстановительные реакции. В результате постоянного отвода жидкости в устройстве устраняются застойные явления, что препятствует протеканию реакций разложения компонентов очищаемого раствора [4].

Устройство апробировано в производственных условиях при очистке диффузионного сока с введением активированной суспензии сока II сатурации.

При электрообработке сока происходит стабилизация коллоидов, поэтому представляет интерес исследование процесса очистки диффузионного сока по схеме с непосредственным вводом карбонатной суспензии в диффузионный сок во время процесса электрообработки [5].

Литература:

1. Голыбин В.А., Кульнева Н.Г., Федорук В.А. Электротехнологии в производстве сахара Воронежская гос. технол. академия. Воронеж, 2007. 236 с.

2. Голыбин В.А., Кульнева Н.Г., Федорук В.А. Использование электрического поля для очистки производственных сахарсодержащих растворов. Известия Вузов. Пищевая технология. 2003. № 5-6. С. 94-96.

3. Пат. 2183676. Устройство для электрохимической очистки жидкости. Голыбин В.А., Кульнева Н.Г., Федорук В.А. Опубл. 20.06.2002, Бюл. № 17.

4. Голыбин В.А., Кульнева Н.Г., Федорук В.А. Качественные показатели соков при предварительной электрообработке. Сахар. 2003. № 2. С. 43-44

5. Федорук В.А. Совершенствование технологии предварительной очистки диффузионного сока / Дисс… на соиск. уч. степени канд. техн. наук: 05.18.05 / Воронеж, 2004. – 193 с.