Экономические
науки/строительство и архитектура, землеустройство
к.т.н.,
профессор Даркенбаев Е.Д., магистр Шокимова Ж.К., магистр Абдешев К.Б., студент
Мадиев Р.
Таразский государственный университет имени М. Х.
Дулати, Республика Казахстан
СХЕМЫ АВТОМАТИЗАЦИИ ПОВТОРНОГО
ИСПОЛЬЗОВАНИЯ СБРОСНЫХ ВОД РИСОВЫХ СИСТЕМ
В решении зерновой проблемы значительное место
занимает производство риса. Среди риса сеющих зон видное место занимает и
Казахстан.
В настоящее время в Казахстане общая площадь
орошаемых земель под рисом превышает 90 тыс. га и размещены они в основном в
долинах рек Сырдарья. В связи с этим в число первоочередных проблем является
эффективное использование водных ресурсов. Одним из перспективных путей решения
этой проблемы является повторное использование дренажно-сбросных вод.
Необходимость использования этих вод связана со
всевозрастающим дефицитом оросительной воды, что наиболее остро проявляется в
периодически отмеченные маловодные годы. Повторное использование сбросной воды
с рисовых полей особенно целесообразно в связи с тем, что сброс воды с рисовых
систем составляет более 50% от водозабора. Процесс повторного использования
довольно сложен, особенно сложен он на системах с сильными начальными
засолениями, повышенными температурами, что характерно для аридной зоны
(бассейны р. Сырдарьи, Или и др.) где средняя минерализация оросительной воды
доходит до 1,5 г/л.
По данным А.Н. Костюкова воды, содержащие более
1 грамма солей на литр воды, представляют опасность для орошения. Однако
ограниченное количество пресной воды в аридной зоне вызывает необходимость
использования непосредственно этих вод для орошения.
При этом, как показатели более поздние
исследования (Стеблера А.Г; Рау, А.Н. Антипова Каратаева и Г.М Кадера.
Госдепартамента США), вода с минерализацией до 2,0 г/л является пригодной для
орошения. Воду с большей минерализацией также можно использовать,
предварительно смешивая ее с пресной водой. Вторым важным фактором влияния на
урожай риса является температура воды в чеках.
Следовательно, при повторном использовании
дренажно-сбросных вод большое значение имеет подготовка воды и оперативный
контроль за ее качеством. Поскольку минерализация и температура сбросной воды
меняется как в течение суток, так и вегетационного периода, необходимо все
время регулировать процентное соотношение дренажное-сбросной и пресной воды
перед повторном ее использовании.
Повторное использование дренажно-сбросных вод
осуществляется водоподъемом их из коллекторно-сбросной сети. Для подъема ее из
коллекторно-сбросной сети (к.с.с) рисовых оросительных систем на сегодня
используется насосные станции с электрическими дизельными приводами. Такая
технология сопряжена с энергетическими затратами и мало заложена вследствие
особенностей рисовых оросительных систем (сосредоточенность объектов
водоподъёма, сложные условия эксплуатации и т.д)
В качестве примера можно привести территорию
Кызыл-Кумского массива, где наиболее приемлемым оказался открытый
горизонтальный дренаж, совмещенный со сбросной сетью.
Вода поступает из картавых сбросов,
дрена-собирателей и коллекторов в два магистральных коллектора – Восточный и
Западный.
Ввиду
того что уклон местности больше допустимого, на них построены перепады: на
Восточном – два и на Западном – один.
С целью обеспечения технологического процесса в
строгом соответствии с технологическими требованиями, повышения
производительности труда, повышения эффективности использования водных ресурсов
процесс повторного использования дренажно-сбросных вод должен быть
автоматизирован.
Учитывая особенности коллекторно-сбросной сети и
сооружения на ней объектов автоматизации (пространственная рассредоточенность,
удаленность от источников электроснабжения, наличие гидравлической энергии
потока и др.), наиболее перспективным является решение задачи автоматизации
повторного использования дренажно-сбросных вод на базе гидравлической энергии
потока.
В данной работе освещается технология и схемы
автоматизации повторного использования дренажно-сбросных вод. Суть технологии
сводится к смешиванию минерализованной и нагретой в чеке струйной воды
опресненной более холодной водой коллекторно-сбросной сети и частичной подаче
ее гидро действующими установками в картовый ороситель для повторного
использования.
Предлагаемые технологические схемы повторного
использования сбросных вод с автоматизацией технологических процессов приведены
на рисунках 1 и 2.
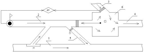
Вода от агрегатов водоподъёмной установки
(НГТВУ) поступает в отводящий канал, который заканчивается под разделительным
узлом, состоящим из регулятора уровня верхнего бьефа и регулятора, управляемого
по сигналу датчика степени минерализации, установленного в нижнем бьефе.
Система регулирования работает следующим
образом.
При увлечении концентрации солей в воде,
подаваемой на орошение и измеряемой датчиком степени минерализации, уменьшается
подача повторно-используемой воды за счет сработки регулятора.
Уменьшение потребления солевой сбросной воды на
орошение вызывает возрастание уровня, срабатывание регулятора верхнего бьефа в
отводящем канале и сброс излишков отработанной воды. (рис.2).
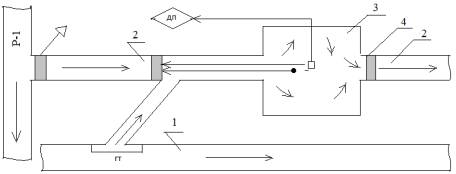
Вода от гидроподъёмной установки (НГТВУ)
поступает в аккумулирующую емкость, к которой примыкает подводящий канал с
оросительной водой, на подводящем канале установлен регулятор, управляемый
датчиком уровня воды в аккумулирующей емкости.
Для регулирования подачи пресной воды в
аккумулирующей емкости необходимо регулировать ее степень подачи, поэтому в
голове оросителя устанавливается регулятор уровня нижнего бьефа.
Необходимость в регулировании подачи возникает
тогда, когда меняется солевой состав воды из коллекторно-сбросной сети во
времени. Для регулирования расхода воды в канал, подающий воду на орошение, на
выходе из аккумулирующей емкости устанавливается водослив, который обеспечивает
потребный расход по плану водопользования.
Система регулирования работает следующим
образом. Когда минерализация воды в коллекторе находится в пределах нормальной,
то вода в отводящий канал подается гидроподъемной установкой, в работу
включается датчик уровня воды, который обеспечивает требуемый расход. Если
минерализация подаваемой с коллектора воды выше нормы, срабатывает датчик
степени минерализаций и открывается регулятор подводящего канала. Минерализация
воды устанавливается в пределах нормы и вода подается на рисовые поля.
В случае повышение уровня в аккумулирующей
емкости выше критической вода распределяется по рисовым чекам.
Этот способ позволяет поддерживать в отводящем
канале критической вода распределяется по рисовым чекам.
Этот способ позволяет поддерживать в отводящем
канале требуемой степень минерализации при незначительном использовании
оросительной воды.

НГТВУ-низконапорная гидротаранная
водоподъемная установка; ДП-диспетчерский пункт; 1-коллектор; 2-отводящий
канал; 3-картовый ороситель; 4-ороситель; 5-сбросной канал; 6-аккумулирующая
емкость.
Рисунок-1. Технологические схемы
автоматизации скважин вертикального дренажа и повторного использования сбросных
вод

1-коллектор; 2-ороситель;
3-аккумулирующая емкость; 4-сифон.
Рисунок-2. Технологическая
схема автоматизации повторного использования сбросных вод
Отличительной особенностью 2-ой схемы
автоматизации повторного использования от 1-ой является отсутствие скважины
вертикального дренажа, требующей дополнительных энергетических затрат,
обратного сброса излишков отрабатываемой воды, что является нежелательным.
Аккумулирующая емкость заполняется за счет
одного регулятора, поэтому колебания уровня в ней уменьшаются и для оросителя
дополнительно сглаживается водослив.
Для
случаев катастрофического переполнения аккумулирующей емкости предусмотрен
сифон, сбрасывающий излишки воды в ороситель и пропорционально распределяющий
ее по рисовым чекам.
Ожидаемая область применения этих схем
автоматизаций на рисовых оросительных системах повторное использование сбросных
вод для орошения.
Предлагаемая технология и схемы автоматизации
повторного использования сбросных вод на орошение позволит значительно повысить
вод обеспеченность рисовых чеков, урожайность риса повысить производительность
труда, обеспечивать разгрузку коллекторно-дренажной сети, исключить потребность
в дополнительной энергий, обеспечить высокие показатели качества процесса.
1. Бочкарев Я.В. Гидроавтоматика в
орошении. -М.: Колос,
1978.-188с.
2. Бочкарев Я.В., Овчаров Е.Е. Основы автоматика и
автоматизации производственных процессов в гидромелиорации. - М.: Колос,
1981.-335с.
3. Зайцев В.Б. Рисовая оросительная
система - М.: Колос,
1975.-352с.
4. Дементьев В.Г. Орошение. - М.: Колос, 1979.-303с.
5. Новая техника в эксплуатации оросительных систем Средней
Азии и Казахстана: Сб. науч. Тр. КАЗНИИИВХ. -Ташкент, 1978.-35с.
6. Даркенбаев Е.Д.
Совершенствование средств автоматизации водо распределения с гибкими рабочими
органами в низовом звене рисовых оросительных систем. - Алматы.1995.-200с.